LEMON Manuals: Even more car manuals for everyone: 1960-2025
Home >> Lexus >> 2008 >> LS 460L >> Repair and Diagnosis >> Engine Mechanical >> Starter >> Starting >> Smart Access System With Push-Button Start >> Terminals Of Ecu
April 5, 2026: LEMON Manuals is launched! Read the announcement.

Terminals Of Ecu

  1. CHECK MAIN BODY ECU 
    Fig 1: Identifying A68, L13 And DA Main Body ECU Connectors
    G04943821Courtesy of © TOYOTA, LICENSE AGREEMENT TMS1002
    1. Disconnect the A68, L13 and DA main body ECU connectors.
    2. Measure the voltage and resistance according to the value(s) in the table below.
      CONNECTOR TERMINAL REFERENCE

      Terminal No. (Symbols) Wiring Color Terminal Description Condition Specified Condition
      L13-6 (AM1) - Body ground W - Body ground +B power supply Always 11 to 14 V
      L12-1 (AM2) - Body ground W - Body ground +B power supply Always 11 to 14 V
      L13-17 (SSW1) - Body ground W - Body ground Engine switch 1 input Engine switch pushed Below 1 Ω
      L13-17 (SSW1) - Body ground W - Body ground Engine switch 1 input Engine switch not pushed 10 kΩ or higher
      L13-16 (SSW2) - Body ground L - Body ground Engine switch 2 input Engine switch pushed Below 1 Ω
      L13-16 (SSW2) - Body ground L - Body ground Engine switch 2 input Engine switch not pushed 10 kΩ or higher
      DA-40 (GND1) - Body ground W-B - Body ground Ground Always Below 1 Ω
      DA-23 or DA-52 (LIN1) - Body ground O - Body ground LIN line Always 10 kΩ or higher

      If the result is not as specified, there may be a malfunction on the wire harness side.

    3. Reconnect the A68, L13 and DA main body ECU connectors.
    4. Measure the voltages according to the value (s) in the table below.
      CONNECTOR TERMINAL REFERENCE

      Terminal No. (Symbols) Wiring Color Terminal Description Condition Specified Condition
      L13-22 (ACCD) - DA-40 (GND1) G - W-B D-ACC relay drive signal Engine switch on (ACC) 11 to 14 V
      L13-22 (ACCD) - DA-40 (GND1) G - W-B D-ACC relay drive signal Engine switch off Below 1 V
      L12-11 (IG2D) - DA-40 (GND1) P - W-B IG2 relay drive signal Engine switch on (IG) 11 to 14 V
      L12-11 (IG2D) - DA-40 (GND1) P - W-B IG2 relay drive signal Engine switch on (ACC) Below 1 V
      L13-19 (SLR+) - DA-40 (GND1) SB - W-B Steering lock power supply Steering lock motor operating Below 1 V
      L13-19 (SLR+) - DA-40 (GND1) SB - W-B Steering lock power supply Steering lock motor not operating 11 to 14 V
      L13-18 (SLP) - DA-40 (GND1) LG - W-B Steering lock actuator position signal Steering lock locked 11 to 14 V
      L13-18 (SLP) - DA-40 (GND1) LG - W-B Steering lock actuator position signal Steering lock released Below 1 V
      L11-9 (SPD) - DA-40 (GND1) V - W-B Speed signal from combination meter Engine switch on (IG), rotate driving wheel slowly Pulse generation (see  ewaveform 1)
      L11-8 (TACH) - DA-40 (GND1) B - W-B Tachometer signal Engine running Pulse generation (see  fwaveform 2)
      A68-4 (STSW) - DA-40 (GND1) B - W-B Starter activation request signal Brake pedal depressed with shift lever in P or N, engine switch pushed once 11 to 14 V*
      L13-8 (STR) - DA-40 (GND1) L - W-B Park / neutral position switch Shift lever in P or N Below 1 V
      A68-6 (STR2) - DA-40 (GND1) BR - W-R Starter signal Brake pedal depressed with shift lever in P or N, engine switch pushed once 11 to 14 V*
      L13-15 (INDS) - DA-40 (GND1) B - W-B Vehicle condition signal Brake pedal depressed with shift lever in P or N, engine switch off, on (ACC, IG) 9 to 14 V
      L13-14 (INDW) - DA-40 (GND1) P - W-B Vehicle condition signal Brake pedal released with shift lever in P or N, engine switch off, on (ACC, IG) 9 to 14 V
      L13-25 (SWIL) - DA-40 (GND1) R - W-B Illumination signal Light control switch TAIL or HEAD 11 to 14 V
      DH-15 (STP) - DA-40 (GND1) L - W-B Stop light switch signal Brake pedal depressed 11 to 14 V
      HINT:
      *: Voltage is output for 0.3 seconds before the engine is started.
      If the result is not as specified, the ECU may have a malfunction.
    5. Using an oscilloscope, check waveform 1.

      Waveform 1 (Reference) 

      WAVEFORM REFERENCE

      Item Content
      Terminal No. (Symbols) L11 -9 (SPD) - DA-40 (GND1)
      Tool setting 5V/DIV., 10 msec./DIV.
      Condition Driving at approx. 20 km/h (12 mph)
      Fig 2: Waveform Graph 1
      G05850874Courtesy of © TOYOTA, LICENSE AGREEMENT TMS1002

      HINT:

      As the vehicle speed increases, the wavelength shortens.

    6. Using an oscilloscope, check waveform 2.

      Waveform 2 (Reference) 

      WAVEFORM REFERENCE

      Item Content
      Terminal No. (Symbols) L11-8 (TACH) - DA-40 (GND1)
      Tool setting 5V/DIV., 10 msec./DIV.
      Condition Engine idling
      Fig 3: Waveform Graph 2
      G04943823Courtesy of © TOYOTA, LICENSE AGREEMENT TMS1002

      HINT:

      As the vehicle speed increases, the wavelength shortens.

  2. CHECK CERTIFICATION ECU 
    Fig 4: Identifying L15 Certification ECU Connector
    G04943824Courtesy of © TOYOTA, LICENSE AGREEMENT TMS1002
    1. Disconnect the L15 certification ECU connector.
    2. Measure the voltage and resistance according to the value (s) in the table below.
      CONNECTOR TERMINAL REFERENCE

      Terminal No. (Symbols) Wiring Color Terminal Description Condition Specified Condition
      L15-1 (+B1) - Body ground L - Body ground +B power supply Always 11 to 14 V
      L15-18 (IG) - Body ground L - Body ground Ignition power supply Engine switch on (IG) 11 to 14 V
      L15-18 (IG) - Body ground L - Body ground Ignition power supply Engine switch off Below 1 V
      L15-10 (LIN) - Body ground O - Body ground LIN line Always 10 kΩ or higher
      L15-17 (E) - Body ground W-B - Body ground Ground Always Below 1 Ω

      If the result is not as specified, there may be a malfunction on the wire harness side.

  3. CHECK ECM 
    Fig 5: Identifying A13, A14, E2 And E3 ECM Connectors
    G04943825Courtesy of © TOYOTA, LICENSE AGREEMENT TMS1002
    1. Disconnect the A13, A14, E2 and E3 ECM connectors.
    2. Measure the voltage and resistance according to the value (s) in the table below.
      CONNECTOR TERMINAL REFERENCE

      Terminal No. (Symbols) Wiring Color Terminal Description Condition Specified Condition
      A14-7 (BATT) - E3-1 (E1) B - W-B Battery (for measuring battery voltage and for ECM memory) Always 11 to 14 V
      A13-1 (+B) - E3-1 (E1) BW - W-B Power source of ECM Engine switch on (IG) 11 to 14 V
      A14-8 (IGSW) - E3-1 (E1) R - BR Engine switch signal Always 11 to 14 V
      E3-1 (E1) - Body ground W-B - Body ground Ground Always Below 1 Ω
      E2-1 (E02) - Body ground W-B - Body ground Ground Always Below 1 Ω
      E3-4 (E04) - Body ground W-B - Body ground Ground Always Below 1 Ω
      E2-2 (E01) - Body ground W-B - Body ground Ground Always Below 1 Ω
      A13-5 (E03) - Body ground W-B - Body ground Ground Always Below 1 Ω

      If the result is not as specified, there may be a malfunction on the wire harness side.

    3. Reconnect the A13, A14, E2 and E3 ECM connectors.
    4. Measure the voltage according to the value (s) in the table below.
      CONNECTOR TERMINAL REFERENCE

      Terminal No. (Symbols) Wiring Color Terminal Description Condition Specified Condition
      A13-20 (STA) - E3-1 (E1) Y - W-B Starter relay operation signal Cranking 5.5 V or more
      A13-19 (ACCR) - E3-1 (E1) G - W-B D-ACC relay cut signal (output) Engine switch on (IG) → Cranking 11 to 14 V → Below 1 V
      A14-15 (TACH) - E3-1 (E1) R - W-B Engine revolution signal (output) Idling Pulse generation (see  ewaveform 1)
      A14-2 (STAR) - E3-1 (E1) BR - W-B Starter relay drive signal Cranking 11 to 14 V

      If the result is not as specified, the ECM may have a malfunction.

    5. Using an oscilloscope, check waveform 1.

      Waveform 1 (Reference) 

      WAVEFORM REFERENCE

      Item Content
      Terminal No. (Symbols) A14-15 (TACH) - E3-1 (E1)
      Tool setting 5V/DIV., 10 msec./DIV.
      Condition Engine idling
      Fig 6: Waveform Graph
      G04943826Courtesy of © TOYOTA, LICENSE AGREEMENT TMS1002

      HINT:

      As the vehicle speed increases, the wavelength shortens.

  4. CHECK STEERING LOCK ECU 
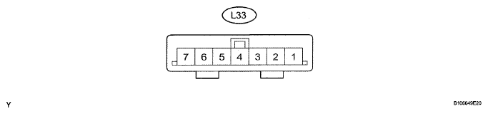
    Fig 7: Identifying L33 Steering Lock ECU Connector
    G04943827Courtesy of © TOYOTA, LICENSE AGREEMENT TMS1002
    1. Disconnect the L33 steering lock ECU connector.
    2. Measure the voltage and resistance according to the value (s) in the table below.
      CONNECTOR TERMINAL REFERENCE

      Terminal No. (Symbols) Wiring Color Terminal Description Condition Specified Condition
      L33-7 (B) - Body ground P - Body ground +B power supply Always 11 to 14 V
      L33-6 (IG2) - Body ground L - Body ground Ignition power supply Engine switch on (IG) 11 to 14 V
      L33-6 (IG2) - Body ground L - Body ground Ignition power supply Engine switch off Below 1 V
      L33-1 (GND) - Body ground W-B - Body ground Ground Always Below 1 Ω
      L33-2 (SGND) - Body ground BR - Body ground Ground Always Below 1 Ω

      If the result is not as specified, the ECU may have a malfunction.