LEMON Manuals: Even more car manuals for everyone: 1960-2025
Home >> Lexus >> 2008 >> LS 600hL >> Repair and Diagnosis >> Accessories & Equipment >> Cruise Control Systems >> Cruise Control >> Cruise Control System >> System Diagram
April 5, 2026: LEMON Manuals is launched! Read the announcement.

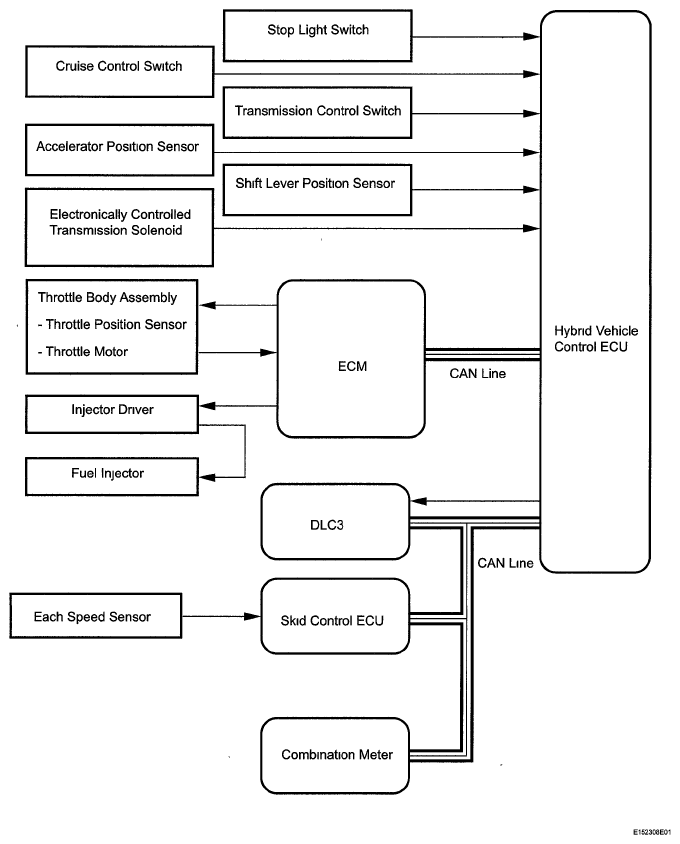
System Diagram

Fig 1: Cruise Control - System Diagram
G05775988Courtesy of © TOYOTA, LICENSE AGREEMENT TMS1002

Communication table 

COMMUNICATION CHART

Sender ECU Receiver ECU Signal Line
Hybrid vehicle control ECU Combination meter CRUISE main indicator light signal CAN
Hybrid vehicle control ECU ECM Throttle motor operation signal CAN
Skid control ECU Hybrid vehicle control ECU Vehicle speed sensor signal CAN
ECM Hybrid vehicle control ECU Throttle position signal CAN