LEMON Manuals: Even more car manuals for everyone: 1960-2025
Home >> Lexus >> 2008 >> LS 600hL >> Repair and Diagnosis >> Body & Frame >> Windows >> Windshield/WINDOWGLASS >> Windshield Deicer System >> Windshield Deicer does not Operate >> Inspection Procedure
April 5, 2026: LEMON Manuals is launched! Read the announcement.

Inspection Procedure

  1. CHECK POWER SWITCH (SWITCH CONDITION) 
    1. Ensure the key is inside the cabin
    2. With the brake pedal released, check that the power source mode changes as shown below each time the power switch is pushed.

    OK: OFF → ON (ACC) → ON (IG) → OFF 

    NG: GO TO SMART ACCESS SYSTEM WITH PUSH-BUTTON START (POWER SOURCE MODE DOES NOT CHANGE)  (See POWER SOURCE MODE DOES NOT CHANGE )

    OK: Go to Next Step 

  2. PERFORM ACTIVE TEST USING INTELLIGENT TESTER OR TECHSTREAM (DEICER RELAY) 
    1. Select the Active Test using the intelligent tester or Techstream to generate a control command, and then check that the windshield deicer operates.
      NOTE: When the BODY NO.5 (front controller) related vehicle switch is ON, ACTIVE TEST items related to the vehicle switch are prohibited (double operation prohibition). Check that the vehicle switches are OFF before performing ACTIVE TEST.
      1. Intelligent tester

        BODY NO.5: 

        ACTIVE TEST - BODY NO.5

        Tester Display Test Part Control Range
        WIPER DEICER Deicer relay operation OFF or ON
      2. Techstream

      Body No.5: 

      ACTIVE TEST - BODY NO.5

      Tester Display Test Part Control Range
      Wiper Deicer Deicer relay operation OFF or ON

    OK: Windshield deicer operates normally. 

    Result 

    RESULT REFERENCE

    Result Proceed to
    OK (for Display and Navigation Assembly) A
    OK (for Multi-display) B
    NG C

    B:  Go to step  4

    C:  Go to step  5

    A: Go to Next Step 

  3. CHECK DISPLAY AND NAVIGATION ASSEMBLY (OPERATION) 
    1. Temporarily replace the display and navigation assembly with a new or normally functioning one (see REMOVAL ).
    2. Check that the malfunction disappears

    OK: Malfunction disappears. 

    NG: REPLACE AIR CONDITIONING AMPLIFIER  (See REMOVAL )

    OK: END (DISPLAY AND NAVIGATION ASSEMBLY IS DEFECTIVE) 

  4. CHECK MULTI-DISPLAY (OPERATION) 
    1. Temporarily replace the multi-display with a new or normally functioning one, w/ navigation system (for DVD) (see REMOVAL ) or w/o navigation system (see REMOVAL ).
    2. Check that the malfunction disappears.

    OK: Malfunction disappears. 

    NG: REPLACE AIR CONDITIONING AMPLIFIER  (See REMOVAL )

    OK: END (MULTI-DISPLAY IS DEFECTIVE) 

  5. INSPECT FUSE (DEICER) 
    1. Remove the DEICER fuse from the engine room No. 2 relay block.
    2. Measure the resistance according to the value (s) in the table below.

    Standard resistance 

    STANDARD RESISTANCE SPECIFICATION

    Tester Connection Condition Specified Condition
    DEICER fuse Always Below 1 Ω

    NG: REPLACE FUSE 

    OK: Go to Next Step 

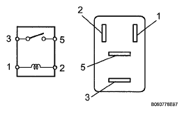
  6. INSPECT DEICER RELAY 
    1. Remove the deicer relay from the No. 3 relay block
    2. Measure the resistance according to the value (s) in the table below.

    Standard resistance 

    STANDARD RESISTANCE SPECIFICATION

    Tester Connection Condition Specified Condition
    3-5 When battery voltage is not applied between terminals 1 and 2 10 kΩ or higher
    When battery voltage is applied to terminals 1 and 2 Below 1 Ω
    Fig 1: Inspecting Deicer Relay
    G05776770Courtesy of © TOYOTA, LICENSE AGREEMENT TMS1002

    NG: REPLACE DEICER RELAY 

    OK: Go to Next Step 

  7. CHECK HARNESS AND CONNECTOR (DEICER RELAY - FRONT CONTROLLER AND BATTERY) 
    1. Remove the deicer relay from the No. 3 relay block
    2. Disconnect the A51 front controller connector.
    3. Measure the voltage according to the value (s) in the table below

      Standard voltage 

      STANDARD VOLTAGE SPECIFICATION

      Tester Connection Condition Specified Condition
      Deicer relay terminal 2 -Body ground Power switch ON (IG) 11 to 14 V
      Deicer relay terminal 5 -Body ground Always 11 to 14 V
    4. Measure the resistance according to the value (s) in the table below

    Standard resistance 

    STANDARD RESISTANCE SPECIFICATION

    Tester Connection Condition Specified Condition
    Deicer relay terminal 1 -A51-13 (FDEF) Always Below 1 Ω
    Fig 2: Identifying A51 Front Controller Connector And No. 3 Relay Block
    G04952234Courtesy of © TOYOTA, LICENSE AGREEMENT TMS1002

    NG: REPAIR OR REPLACE HARNESS OR CONNECTOR 

    OK: Go to Next Step 

  8. CHECK HARNESS AND CONNECTOR (DEICER RELAY - WINDSHIELD DEICER WIRE) 
    1. Remove the deicer relay from the No 3 relay block.
    2. Disconnect the A30 windshield deicer wire connector.
    3. Measure the resistance according to the value (s) in the table below

    Standard resistance 

    STANDARD RESISTANCE SPECIFICATION

    Tester Connection Condition Specified Condition
    A30-1 (B2) - Deicer relay terminal 3 Always Below 1 Ω
    A30-2 (B) - Deicer relay terminal 3
    Deicer relay terminal 3 -Body ground Always 10 kΩ or higher
    Fig 3: Identifying A30 Windshield Deicer Wire Connector And No 3 Relay Block
    G04952235Courtesy of © TOYOTA, LICENSE AGREEMENT TMS1002

    NG: REPAIR OR REPLACE HARNESS OR CONNECTOR 

    OK: Go to Next Step 

  9. CHECK HARNESS AND CONNECTOR (WINDSHIELD DEICER WIRE - BODY GROUND) 
    1. Disconnect the A30 windshield deicer wire connector
    2. Measure the resistance according to the value (s) in the table below

    Standard resistance 

    STANDARD RESISTANCE SPECIFICATION

    Tester Connection Condition Specified Condition
    A30-3 (E) - Body ground Always Below 1 Ω
    Fig 4: Identifying A30 Windshield Deicer Wire Connector
    G04952180Courtesy of © TOYOTA, LICENSE AGREEMENT TMS1002

    NG: REPAIR OR REPLACE HARNESS OR CONNECTOR 

    OK: Go to Next Step 

  10. CHECK FRONT CONTROLLER (OPERATION) 
    1. Temporarily replace the front controller with a new or normally functioning one
    2. Check that the malfunction disappears

    OK: Malfunction disappears. 

    NG: REPLACE AIR CONDITIONING AMPLIFIER  (See REMOVAL )

    OK: END (FRONT CONTROLLER IS DEFECTIVE)