LEMON Manuals: Even more car manuals for everyone: 1960-2025
Home >> Lexus >> 2008 >> LS 600hL >> Repair and Diagnosis >> Brakes >> Traction Control >> Brake Control >> Electronically Controlled Brake System >> Calibration
April 5, 2026: LEMON Manuals is launched! Read the announcement.

Electronically Controlled Brake System: Calibration

  1. DESCRIPTION 

    After replacing the VSC relevant components or performing "Front wheel alignment adjustment", clear and read the sensor calibration data Follow the procedure to perform calibration

    CALIBRATION REFERENCE

    Replacement / Adjustment Parts Necessary Operation
    Skid control ECU Yaw rate and acceleration sensor zero point calibration
    Yaw rate and acceleration sensor
    1. Clearing zero point calibration data
    2. Yaw rate and acceleration sensor zero point calibration
    Front wheel alignment
    1. Clearing zero point calibration data
    2. Yaw rate and acceleration sensor zero point calibration
    3. Steering angle sensor initialization
  2. CLEAR ZERO POINT CALIBRATION (WHEN USING INTELLIGENT TESTER OR TECHSTREAM) 
    1. Connect the Intelligent tester or Techstream to the DLC3
    2. Turn the power switch ON (IG)
    3. Operate the Intelligent tester or Techstream to erase the codes (select "Reset Memory").

      HINT:

      Refer to the Intelligent tester or Techstream operator's manual for further details.

  3. PERFORM ZERO POINT CALIBRATION OF YAW RATE AND ACCELERATION SENSOR (WHEN USING INTELLIGENT TESTER OR TECHSTREAM) 
    NOTE:
    • While obtaining the zero point, do not vibrate the vehicle by tilting, moving, or shaking it. Keep it in a stationary condition and do not start the engine (hybrid).
    • Choose a level surface with an inclination of less than 1°.
    1. Procedures for Test Mode
      1. Ensure that the steering wheel is centered, move the shift lever to the P position, and apply the parking brake.
        NOTE: DTC C1210/36 and C1336/98 will be recorded if the shift lever is not in the P position.
      2. Connect the Intelligent tester or Techstream to the DLC3
      3. Turn the power switch ON (IG).
      4. Set the Intelligent tester or Techstream to Test Mode (select "Test Mode").

        HINT:

        Refer to the Intelligent tester or Techstream operator's manual for further details.

    2. Obtain the zero point of the yaw rate and acceleration sensor.
      1. Keep the vehicle stationary on a level surface for 2 seconds or longer
      2. Check that the ABS warning light and brake warning light / yellow (minor malfunction) blink and "VSC TEST" is indicated on the multi-information display (Test Mode).
        Fig 1: ABS Warning Light - Blinking Pattern
        G05773941Courtesy of © TOYOTA, LICENSE AGREEMENT TMS1002

        HINT:

        • If the ABS warning light and brake warning light / yellow (minor malfunction) do not blink and "VSC TEST" is not indicated on the multi-information display, perform zero point calibration again.
        • The zero point calibration is performed only once after the system enters the Test Mode.
        • Calibration cannot be performed again until the stored data is cleared.
    3. Turn the power switch OFF and disconnect the Intelligent tester or Techstream.
  4. CLEAR ZERO POINT CALIBRATION (WHEN USING SST CHECK WIRE) 
    1. Turn the power switch ON (IG).
    2. Using SST, connect and disconnect terminals 12 (TS) and 4 (CG) of the DLC3 4 times or more within 8 seconds

      SST 09843-18040 

      Fig 2: Identifying CG And TS DLC3 Connector Terminals
      G05773942Courtesy of © TOYOTA, LICENSE AGREEMENT TMS1002
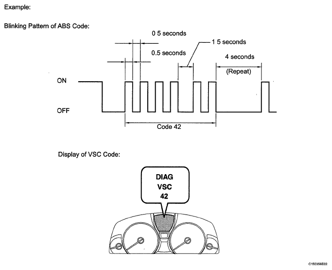
    3. Check that no codes other than ABS code 42, VSC code 45 and electronically controlled brake system code 48, 66, or 95 are stored in the diagnostic system.
      Fig 3: ABS And VSC Codes - Blinking Pattern
      G05773938Courtesy of © TOYOTA, LICENSE AGREEMENT TMS1002

      HINT:

      The ABS warning light and multi-information display do not indicate the normal system code.

  5. PERFORM ZERO POINT CALIBRATION OF YAW RATE AND ACCELERATION SENSOR (WHEN USING SST CHECK WIRE) 
    NOTE:
    • While obtaining the zero point, do not vibrate the vehicle by tilting, moving, or shaking it. Keep it in a stationary condition and do not start the engine (hybrid).
    • Choose a level surface with an inclination of less than 1°.
    1. Procedures for Test Mode.
      1. Turn the power switch OFF
      2. Using SST, connect terminals 12 (TS) and 4 (CG) of the DLC3

        SST 09843-18040 

        Fig 4: Identifying CG And TS DLC3 Connector Terminals
        G05773944Courtesy of © TOYOTA, LICENSE AGREEMENT TMS1002
      3. Check that the steering wheel is in the centered position and move the shift lever to the P position
        NOTE: DTC C1210/36 and C1336/98 will be recorded if the shift lever is not in the P position.
    2. Obtain the zero point of the yaw rate and acceleration sensor
      1. Turn the power switch ON (IG).
      2. Keep the vehicle in a stationary condition on a level surface for 2 seconds or more.
      3. Check that the ABS warning light and brake warning light / yellow (minor malfunction) blink and "VSC TEST" is indicated on the multi-information display (Test Mode).
        Fig 5: ABS Warning Light - Blinking Pattern
        G05773941Courtesy of © TOYOTA, LICENSE AGREEMENT TMS1002

        HINT:

        • If the ABS warning light and brake warning light / yellow (minor malfunction) do not blink and "VSC TEST" is not indicated on the multi-information display, perform zero point calibration again.
        • The zero point calibration is performed only once after the system enters the Test Mode.
        • Calibration cannot be performed again until the stored data is cleared.
    3. Turn the power switch OFF and disconnect SST from the DLC3.
  6. PERFORM INITIALIZATION OF STEERING ANGLE SENSOR 
    NOTE: Complete the adjustment of the steering wheel and wheel alignment, and then initialize the steering angle sensor. If the order is reversed, the steering wheel and wheel alignment will become misaligned.
    1. Check that the front tires and steering wheel are kept aligned straight ahead
    2. Disconnect the cable from the negative (-) battery terminal for more than 2 seconds
      NOTE: After the power switch is turned OFF, the navigation system requires approximately 90 seconds to record various types of memory and settings. As a result, after turning the power switch OFF, wait 90 seconds or more before disconnecting the cable from the negative (-) battery terminal.
    3. Reconnect the cable to the negative (-) battery terminal