LEMON Manuals: Even more car manuals for everyone: 1960-2025
Home >> Lexus >> 2008 >> LS 600hL >> Repair and Diagnosis >> Engine Performance >> Engine Control Systems >> Engine Control System - Circuit Tests, Component Removal, Inspection & Installation >> Cooling Fan Circuit >> Inspection Procedure
April 5, 2026: LEMON Manuals is launched! Read the announcement.

Inspection Procedure

  1. PERFORM ACTIVE TEST USING INTELLIGENT TESTER OR TECHSTREAM (COOLING FAN) 
    1. Connect the intelligent tester or Techstream to the DLC3
    2. Turn the power switch ON (IG).
    3. Enter the following menus.
      1. Intelligent tester - Select. DIAGNOSIS / ENHANCED OBD II / ACTIVE TEST / COOLING FAN.
      2. Techstream - Select: Powertrain / Engine and ECT / Active Test / Control the Electric Cooling Fan
    4. Check the cooling fan operation.

      OK: Cooling fan operates according to the Active Test. 

    NG: Go to step 2 

    OK: CHECK INTERMITTENT PROBLEMS  (See CHECK FOR INTERMITTENT PROBLEMS )

  2. INSPECT COOLING FAN ECU (POWER SOURCE) 
    1. Disconnect the cooling fan ECU connector.
    2. Fig 1: Identifying Cooling Fan ECU A9 Connector Terminal
      G05771187Courtesy of © TOYOTA, LICENSE AGREEMENT TMS1002
    3. Turn the power switch ON (IG).
    4. Measure the voltage according to the value (s) in the table below.

      Standard voltage 

      STANDARD VOLTAGE

      Tester Connection Condition Specified Condition
      A9-3 (+B1) - Body ground Power switch ON (IG) 11 to 14 V

    NG:  Go to step  6

    OK: Go to next step 

  3. CHECK HARNESS AND CONNECTOR (MULTIPLEX NETWORK FRONT LIGHT ECU - COOLING FAN) 
    1. Disconnect the multiplex network front light ECU (front controller) connector
    2. Disconnect the cooling fan ECU connector.
    3. Fig 2: Identifying Cooling Fan ECU Connector Terminal
      G05771188Courtesy of © TOYOTA, LICENSE AGREEMENT TMS1002
    4. Measure the resistance according to the value (s) in the table below.

      Standard resistance 

      STANDARD RESISTANCE

      Tester Connection Condition Specified Condition
      B14-22 (FAN1) - A9-2 (SI) Always Below 1 Ω

    NG: REPAIR OR REPLACE HARNESS OR CONNECTOR 

    OK: Go to next step 

  4. INSPECT COOLING FAN MOTOR 
    1. Disconnect the cooling fan motor connectors.
    2. Apply the battery voltage to the terminals of the cooling fan motor connectors
    3. Check the cooling fan operation.

      OK 

      FAN OPERATION CONDITION CHART

      Measurement Condition Specified Condition
      When battery voltage applied to terminals 1 and 2 Cooling fan turns
      Fig 3: Identifying Fan Motor Z3 And Z4 Connector Terminal
      G05771189Courtesy of © TOYOTA, LICENSE AGREEMENT TMS1002

    NG: REPLACE COOLING FAN MOTOR  (See REMOVAL )

    OK: Go to next step 

  5. INSPECT COOLING FAN ECU 
    1. Disconnect the cooling fan ECU connectors.
    2. Apply the battery voltage to the terminals of the cooling fan ECU.
    3. Check the cooling fan operation.

      OK 

      FAN OPERATION CONDITION CHART

      Measurement Condition Specified Condition
      When battery voltage applied to terminals 1 and 3 Cooling fan turns
      Fig 4: Identifying No. 1 Fusible Link Block Assembly
      G04948213Courtesy of © TOYOTA, LICENSE AGREEMENT TMS1002

    NG: REPLACE COOLING FAN ECU  (See REMOVAL )

    OK: REPLACE MULTIPLEX NETWORK FRONT LIGHT ECU (FRONT CONTROLLER) 

  6. INSPECT FUSE (FAN NO. 1 AND E/G RM-IG1-1) 
    1. Replace the FAN NO. 1 fuse from the No. 1 fusible link block assembly.
      Fig 5: Identifying Engine Room No. 2 Relay Block Connector Terminal
      G05771191Courtesy of © TOYOTA, LICENSE AGREEMENT TMS1002
    2. Replace the E/G RM-IG1-1 fuse from the engine room No. 2 relay block.
    3. Measure the resistance according to the value (s) in the table below

      Standard resistance 

      STANDARD RESISTANCE

      Tester Connection Condition Specified Condition
      FAN NO. 1 fuse Always Below 1 Ω
      E/G RM-IG1-1 fuse Always Below 1 Ω
      Fig 6: Identifying Cooling Fan ECU Connector Terminal
      G05771192Courtesy of © TOYOTA, LICENSE AGREEMENT TMS1002

    NG:  Go to step  8

    OK: Go to next step 

  7. INSPECT COOLING FAN RELAY (FAN NO. 1) 
    1. Inspect the FAN NO. 1 relay (see ON-VEHICLE INSPECTION )

    NG: REPLACE RELAY  (See ON-VEHICLE INSPECTION )

    OK: REPAIR OR REPLACE HARNESS OR CONNECTOR (COOLING FAN ECU - BATTERY) 

  8. CHECK HARNESS AND CONNECTOR (MULTIPLEX NETWORK FRONT LIGHT ECU (FRONT CONTROLLER) - COOLING FAN 
    1. Disconnect the multiplex network front light ECU (front controller) connector
    2. Disconnect the cooling fan ECU connector.
    3. Fig 7: Identifying Cooling Fan ECU Connector Terminal
      G05771188Courtesy of © TOYOTA, LICENSE AGREEMENT TMS1002
    4. Measure the resistance according to the value (s) in the table below

      Standard resistance 

      STANDARD RESISTANCE

      Tester Connection Condition Specified Condition
      B14-22 (FAN1) - A9-2 (SI) Always Below 1 Ω

    NG: REPAIR OR REPLACE HARNESS OR CONNECTOR 

    OK: Go to next step 

  9. INSPECT COOLING FAN MOTOR 
    1. Disconnect the cooling fan motor connectors.
    2. Apply the battery voltage to the terminals of the cooling fan motor connectors.
    3. Check the cooling fan operation.

      OK 

      FAN OPERATION CONDITION CHART

      Measurement Condition Specified Condition
      When battery voltage applied to terminals 1 and 2 Cooling fan turns
      Fig 8: Identifying Cooling Fan Motor Z3 And Z4 Connector Terminal
      G05771189Courtesy of © TOYOTA, LICENSE AGREEMENT TMS1002

    NG: REPLACE COOLING FAN MOTOR  (See REMOVAL )

    OK: Go to next step 

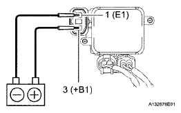
  10. INSPECT COOLING FAN ECU 
    1. Disconnect the cooling fan ECU connectors.
    2. Fig 9: Inspecting Cooling Fan ECU
      G04948213Courtesy of © TOYOTA, LICENSE AGREEMENT TMS1002
    3. Apply the battery voltage to the terminals of the cooling fan ECU.
    4. Check the cooling fan operation.

      OK 

      FAN OPERATION CONDITION CHART

      Measurement Condition Specified Condition
      When battery voltage applied to terminals 1 and 3 Cooling fan turns

    NG: REPLACE COOLING FAN ECU  (See REMOVAL )

    OK: REPLACE FUSE