LEMON Manuals: Even more car manuals for everyone: 1960-2025
Home >> Lexus >> 2008 >> LS 600hL >> Repair and Diagnosis >> Engine Performance >> Engine Control Systems >> Engine Control System - Circuit Tests, Component Removal, Inspection & Installation >> Fuel Pump Relay >> On-Vehicle Inspection
April 5, 2026: LEMON Manuals is launched! Read the announcement.

On-Vehicle Inspection

  1. REMOVE FUEL PUMP RELAY (F/PMP) 
    1. Remove the fuel pump relay from the engine room No. 2 relay block.
  2. INSPECT FUEL PUMP RELAY 
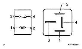
    1. Measure the resistance according to the value (s) in the table below

      Standard resistance 

      STANDARD RESISTANCE

      Tester Connection Condition Specified Condition
      3 - 4 When no battery voltage is applied to terminals 1 and 2 Below 1 Ω
      3 - 4 When battery voltage is applied to terminals 1 and 2 10 kΩ or higher
      Fig 1: Identifying Fuel Pump Relay
      G05771288Courtesy of © TOYOTA, LICENSE AGREEMENT TMS1002

      If the result is not as specified, replace the relay.

  3. INSTALL FUEL PUMP RELAY