LEMON Manuals: Even more car manuals for everyone: 1960-2025
Home >> Lexus >> 2008 >> LX 570 >> Repair and Diagnosis (Single Page) >> Brakes >> Brakes Control Systems >> Brake Control / Dynamic Control Systems >> Vehicle Stability Control System >> System Description
April 5, 2026: LEMON Manuals is launched! Read the announcement.

System Description

  1. SYSTEM DESCRIPTION

    HINT:

    • The skid control ECU is a single unit with the hydraulic brake booster.
    • The yaw rate and G sensors are combined in a single unit. This unit communicates with the skid control ECU through CAN communication.
    1. Multi-terrain ABS with EBD, BA, A-TRAC, Hill-start Assist Control, CRAWL and VSC operation
      1. The skid control ECU calculates vehicle stability based on the signals from the speed sensor, yaw rate and G sensor and steering angle sensor. In addition, it evaluates the results of the calculations to determine whether any control actions (control of the engine output torque by electronic throttle control and of the wheel brake pressure by the brake actuator) should be implemented.
      2. The slip indicator blinks and the skid control buzzer sounds intermittently to inform the driver that the VSC system is operating. The slip indicator also blinks when A-TRAC, CRAWL or Hill-start Assist Control is operating.
  2. ACTIVE SAFETY 
    1. Multi-terrain ABS
      • The ABS helps prevent the wheels from locking when the brakes are applied firmly or when braking on a slippery surface.
      • The Multi-terrain ABS detects off-road driving on dirt, sand, etc., and improves the brake feeling during off-road driving by using a function to automatically change to optimal ABS control.
      Fig 1: Hydraulic Brake Booster System Diagram
      G05761537Courtesy of © TOYOTA, LICENSE AGREEMENT TMS1002

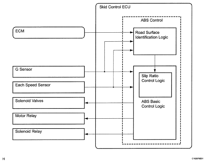
      Operation description (ABS)

      The skid control ECU detects wheel lock condition by receiving vehicle speed signals from each speed sensor, and sends control signals to the pump motor and solenoid valve. The pump motor and solenoid valve avoid wheel lock by controlling the oil pressure of each wheel cylinder.

      The ABS warning light comes on when the ABS system is malfunctioning.

      Fig 2: Skid Control ECU System Diagram
      G05761538Courtesy of © TOYOTA, LICENSE AGREEMENT TMS1002

      Operation description (Multi-terrain ABS)

      The skid control ECU detects road surface, such as dry asphalt, wet asphalt, snow, ice, sand, mud, gravel, and dirt, by using engine torque information from the ECM, vehicle body acceleration information from the G sensor, and vehicle wheel speed information from each wheel speed sensor. The skid control ECU changes the slip ratio in accordance with the detected road surface.

    2. EBD (Electronic Brake force Distribution)

      The EBD control utilizes the ABS, realizing proper brake force distribution between the front and rear wheels in accordance with driving conditions. In addition, when braking while cornering, it also controls the brake forces of the right and left wheels, helping to maintain vehicle behavior.

      Fig 3: Skid Control ECU System Diagram (Electronic Brake Force Distribution)
      G05761539Courtesy of © TOYOTA, LICENSE AGREEMENT TMS1002

      Operation description

      The skid control ECU receives the speed signal from each speed sensor to detect the slip condition of the wheels and sends the control signal to the solenoid.

      The solenoid valve controls oil pressure of the rear wheel cylinder and splits the control power properly between the rear wheels and the right and left wheels.

      Both the ABS and BRAKE warning lights come on to indicate a malfunction in the EBD system.

    3. BA (Brake Assist)

      The primary purpose of the brake assist system is to provide an auxiliary brake force to assist the driver who cannot generate a large enough brake force during emergency braking, thus helping to maximize the vehicle braking performance.

      Fig 4: Skid Control ECU System Diagram (Brake Assist)
      G05761540Courtesy of © TOYOTA, LICENSE AGREEMENT TMS1002

      Operation description

      The skid control ECU receives a speed signal from each speed sensor and the oil pressure signal from the master cylinder pressure sensor to determine whether brake assist is necessary or not. If brake assist is deemed necessary, the ECU sends control signals to the pump motor and solenoid. The pump and the solenoid valve then control the pressure applied to each wheel cylinder.

      The ABS warning light comes on to indicate a malfunction in the BA system.

    4. VSC (Vehicle Stability Control)

      The VSC system helps prevent the vehicle from slipping sideways as a result of strong front wheel skid or strong rear wheel skid during cornering.

      Fig 5: Skid Control ECU System Diagram (Vehicle Stability Control)
      G05761541Courtesy of © TOYOTA, LICENSE AGREEMENT TMS1002

      Operation description

      The skid control ECU determines vehicle condition by receiving signals from the speed sensors, yaw rate and G sensor and steering angle sensor. The skid control ECU controls engine torque through the ECM via CAN communication, and oil pressure through the pump and solenoid valve.

      The slip indicator light blinks and the skid control buzzer sounds intermittently when the system is operating.

      When there is a malfunction in the VSC system, the slip indicator light turns on and "Check VSC System" appears on the multi-information display.

      HINT:

      When the center differential is locked or the VSC OFF switch is operated, VSC control turns off and the VSC OFF indicator is displayed.

  3. DRIVING PERFORMANCE 
    1. A-TRAC (Active Traction Control)

      The A-TRAC system helps prevent the drive wheels from slipping if the driver presses down on the accelerator pedal excessively when starting off or accelerating on a slippery surface.

      During rugged off-road driving, this function controls the engine output and the brake fluid pressure that is applied to the slipping wheel, and distributes the drive force that would have been lost through the slippage to the remaining wheels in order to achieve an LSD (Limited Slip Differential) effect.

      Fig 6: Skid Control ECU System Diagram (Active Traction Control)
      G05761542Courtesy of © TOYOTA, LICENSE AGREEMENT TMS1002

      Operation description

      The skid control ECU detects the vehicle slip condition by receiving signals from the speed sensor and ECM via CAN communication. The skid control ECU controls engine torque through the ECM via CAN communication, and oil pressure through the pump and solenoid valve.

      The slip indicator light blinks when the system is operating.

      When there is a malfunction in the A-TRAC system, the slip indicator light turns on and "Check VSC System" appears on the multi-information display.

    2. CRAWL (CRAWL Control)

      CRAWL control is a system that provides assistance when driving on bumpy off-road surfaces, slippery road surfaces, etc. When CRAWL control is operating, the engine output and braking force are controlled automatically to enable driving while maintaining a constant speed. As a result, the driver can concentrate on steering the vehicle without having to operate the accelerator and brake pedals very much.

      Fig 7: Skid Control ECU System Diagram (CRAWL Control)
      G05761543Courtesy of © TOYOTA, LICENSE AGREEMENT TMS1002

      Operation description

      • Based on the information provided by various sensors, switches, and the ECM, the skid control ECU determines the conditions that enable CRAWL operation. If control is possible, the skid control ECU calculates the target vehicle speed (approximately 1 to 5 km/h (1 to 3 mph)) used for controlling the actual vehicle speed and the target wheel speed used for controlling wheel slip. Also, it is possible to change the target vehicle speed with the speed selector switch.
        Fig 8: Identifying ON/OFF Switch And Speed Selector Switch
        G05761544Courtesy of © TOYOTA, LICENSE AGREEMENT TMS1002
      • The skid control ECU compensates for the difference between the target vehicle speed and actual vehicle speed by controlling the engine output. It also compensates for the difference between the target wheel speed and actual wheel speed by controlling brake fluid pressure to the wheels.

      Operation condition

      When the CRAWL ON/OFF switch is pressed with all of the following conditions met, CRAWL control will start. When CRAWL control starts, the CRAWL indicator light turns on and the slip indicator light blinks.

      • Transfer: L4
      • Shift position: other than P, N
      • 2nd start switch: off
      • Engine: running
      • Vehicle speed: 0 km/h (0 mph) (vehicle not moving)
      • Brake pedal: depressed
      • Parking brake: released
      • Driver side door: closed
      • ATF temperature: no significant increase
      • VSC system: normal and not in system protection state*

      HINT:

      *: When the hydraulic brake booster and brake temperature rise to a certain temperature.

      Operation ending condition When one of the following conditions is met, CRAWL control will stop. When CRAWL control stops, the CRAWL and slip indicator lights turn off.

      • CRAWL ON/OFF switch: off
      • Vehicle speed: 25 km/h (16 mph) or more
      • Transfer: H4
      • Shift position: P
      • VSC system: malfunctioning or in system protection state*

      HINT:

      *: When the hydraulic brake booster and brake temperature increase to a certain temperature.

      When one of the following conditions is met, CRAWL control of only the engine stops. When this happens, CRAWL control of the brakes will continue to be operational. When CRAWL control of the engine stops, the skid control buzzer sounds intermittently for 3 seconds and the CRAWL indicator light begins blinking. When CRAWL control totally stops, the CRAWL and slip indicator lights turn off.

      • Shift position: N
      • Vehicle speed: 10 km/h (6 mph) or more
      • Brake pedal: strongly depressed
      • Parking brake: applied
      • Driver side door: open
      • 2nd start switch: on
      • Engine: stopped
      • Skid control ECU: unable to keep a target speed
      • ATF temperature: increased
    3. Hill-start Assist Control

      When the vehicle starts off on a steep hill, hill-start assist control detects the backward descent of the vehicle and performs 4-wheel hydraulic pressure control to reduce the backward speed of the vehicle. The hill-start assist control is operated for a maximum 5 seconds, then brake fluid pressure is gradually released and control completes.

      HINT:

      Depressing the brake pedal cancels control of the hill-start assist control system. The system does not operate when the shift lever is in P or N, or when the vehicle is running/rolling back up a slope with the shift lever in R.

      Fig 9: Skid Control ECU System Diagram (Hill-Start Assist Control)
      G05761545Courtesy of © TOYOTA, LICENSE AGREEMENT TMS1002

      Operation description

      The slip indicator light blinks, the stop light comes on, and the skid control buzzer sounds intermittently when the system is in operation.

      When there is a malfunction in the hill-start assist system, the slip indicator light turns on and "Check VSC System" appears on the multi-information display.