LEMON Manuals: Even more car manuals for everyone: 1960-2025
Home >> Lexus >> 2008 >> LX 570 >> Repair and Diagnosis >> Accessories & Equipment >> Cruise Control Systems >> Cruise Control >> Dynamic Radar Cruise Control System >> System Diagram
April 5, 2026: LEMON Manuals is launched! Read the announcement.

System Diagram

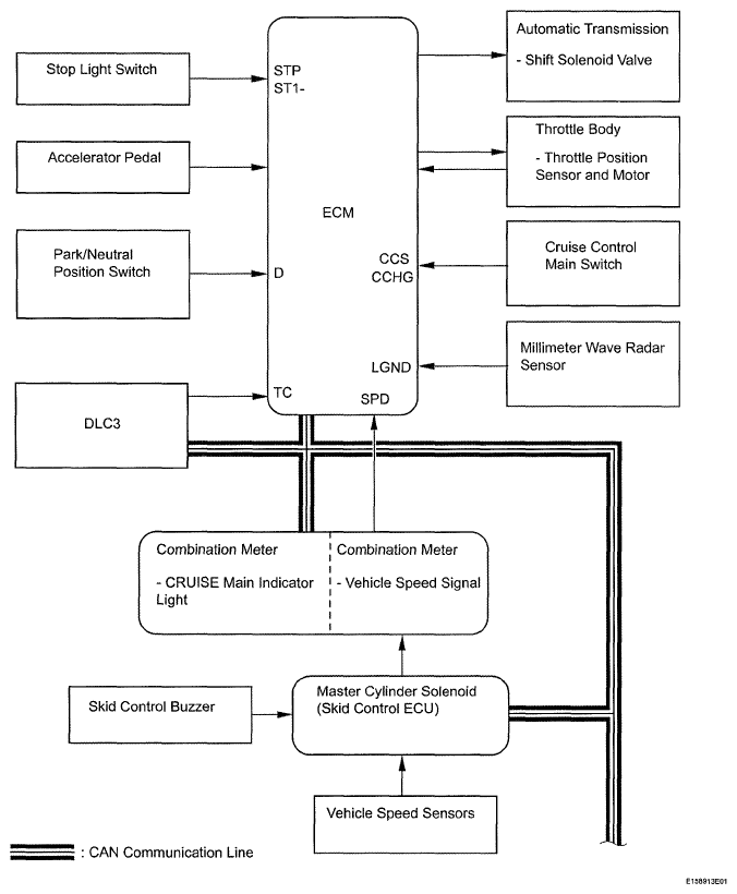
Fig 1: Dynamic Radar Cruise Control System Diagram (1 Of 2)
G05760362Courtesy of © TOYOTA, LICENSE AGREEMENT TMS1002
Fig 2: Dynamic Radar Cruise Control System Diagram (2 Of 2)
G05760363Courtesy of © TOYOTA, LICENSE AGREEMENT TMS1002

Communication Table 

SIGNAL REFERENCE

Transmitter Receiver Signal Communication Line
ECM Distance Control ECU
  • A/T transmission signal
  • Cruise control operation signal
  • Cruise control low speed operation signal
  • Accelerator pedal idle signal
  • Set vehicle time signal
  • Brake demand response signal
  • Stored vehicle speed signal
  • Current vehicle speed signal
  • Cruise control switch signal
  • Brake control operation signal
  • Cruise control demand throttle opening angle signal
  • Radar light emission prohibiting signal
  • Dynamic radar cruise designation signal
  • Brake control interrupting signal
  • Steering wheel signal
  • Cruise control demand opening angle signal
CAN
Distance Control ECU ECM
  • Millimeter wave radar sensor beam axis deviation signal
  • Millimeter wave radar sensor malfunction signal
  • Millimeter wave radar sensor grime signal
  • Bad weather detection signal
  • Communication error signal (from distance control
  • ECU to millimeter wave radar sensor)
  • Communication error signal (from ECM to distance control ECU)
  • Communication error signal (from master cylinder solenoid to distance control ECU)
  • Yaw rate communication error signal
  • Steering angle sensor communication error signal
  • Distance control ECU voltage signal
  • Dynamic radar cruise designation response signal
  • Estimated vehicle speed signal
  • Vehicle-to-vehicle distance signal
  • Vehicle-to-vehicle distance control signal
  • Brake control demand signal
  • Throttle fully closed demand signal
  • Approach warning signal (skid control buzzer demand signal)
  • Cruise target deceleration gradient signal
  • Vehicle-to-vehicle distance control acceleration signal
CAN
ECM Master Cylinder Solenoid (Skid Control ECU)
  • Cruise target deceleration gradient signal
  • Cruise target deceleration signal
  • Throttle fully closed demand signal
  • Brake control demand signal
  • Dynamic radar cruise control designation signal
  • Cruise control operation signal
CAN
Master Cylinder Solenoid (Skid Control ECU) Distance Control ECU
  • Wheel speed signal
  • Speed sensor power drop signal
  • Speed sensor condition signal
  • Yaw rate sensor signal
  • Yaw rate sensor zero point error signal
CAN
Master Cylinder Solenoid (Skid Control ECU) ECM
  • Brake component malfunction signal
  • Brake control malfunction signal
  • Drive wheel slip signal
  • Cruise control cancel signal
  • Skid control buzzer malfunction signal
  • Communication logic error signal (from ECM to master cylinder solenoid)
  • Brake demand response signal
  • Brake control interrupting signal
  • Brake control operation signal
CAN
Steering Angle Sensor Distance Control ECU
  • Steering angle sensor malfunction signal
  • Steering angle sensor signal
  • Steering angle sensor zero point signal
CAN
Yaw Rate Sensor Distance Control ECU
  • Yaw rate sensor signal
  • Yaw rate sensor voltage signal
CAN
ECM Combination Meter
  • Cruise control diagnosis signal (DTC)
  • Preceding vehicle detection signal
  • Approach warning signal
  • Vehicle-to-vehicle distance signal
  • Millimeter wave radar sensor grime signal
  • Bad weather detection signal
  • Vehicle-to-vehicle distance control signal
  • Vehicle-to-vehicle distance control check mode signal
  • Vehicle-to-vehicle distance control standby condition signal
  • Constant speed cruise signal
  • CRUISE indicator operation signal
  • Cruise control warning signal
  • Dynamic radar cruise warning signal
  • Cruise control vehicle speed signal
CAN
Windshield Wiper ECU Distance Control ECU Wiper and washer switch signal CAN
Distance Control ECU Combination Meter
  • Millimeter wave radar sensor beam axis deviation signal
  • Vehicle-to-vehicle distance signal
  • Preceding vehicle detection signal
CAN