LEMON Manuals: Even more car manuals for everyone: 1960-2025
Home >> Lexus >> 2008 >> LX 570 >> Repair and Diagnosis >> Engine Performance >> Fuel Delivery >> Fuel >> Fuel Injector >> Removal
April 5, 2026: LEMON Manuals is launched! Read the announcement.

Fuel Injector: Removal

  1. REMOVE ENGINE ROOM SIDE COVER LH  (See REMOVAL )
  2. REMOVE ENGINE ROOM SIDE COVER RH  (See REMOVAL )
  3. REMOVE UPPER RADIATOR SUPPORT SEAL  (See REMOVAL )
  4. REMOVE V-BANK COVER SUB-ASSEMBLY  (See REMOVAL )
  5. DISCHARGE FUEL SYSTEM PRESSURE 
    1. Discharge the fuel system pressure (See PRECAUTION  ).
  6. DISCONNECT CABLE FROM NEGATIVE BATTERY TERMINAL 
    NOTE:
    • w/ Navigation System:

      After the engine switch is turned off, the HDD navigation system requires approximately 6 minutes to record various types of memory and settings. As a result, after turning the engine switch off, wait 6 minutes or more before disconnecting the cable from the negative (-) battery terminal.

    • When disconnecting the cable, some systems need to be initialized after the cable is reconnected (See INITIALIZATION ).
  7. REMOVE AIR CLEANER HOSE ASSEMBLY  (See REMOVAL )
  8. REMOVE NO. 1 ENGINE COVER SUB-ASSEMBLY 
    1. Remove the No. 1 engine cover sub-assembly.
      Fig 1: Identifying No 1 Engine Cover
      G05152627Courtesy of © TOYOTA, LICENSE AGREEMENT TMS1002
  9. REMOVE NO. 3 ENGINE COVER 
    1. Remove the No. 3 engine cover.
      Fig 2: Identifying No 3 Engine Cover
      G05628794Courtesy of © TOYOTA, LICENSE AGREEMENT TMS1002
  10. DISCONNECT NO. 2 FUEL TUBE 
    1. Disconnect the No. 2 fuel tube from the fuel pressure regulator (See PRECAUTION  ).
      Fig 3: Locating No 2 Fuel Tube
      G05152003Courtesy of © TOYOTA, LICENSE AGREEMENT TMS1002
  11. DISCONNECT NO. 1 FUEL TUBE 
    1. RH Side:

      Disconnect the No. 1 fuel tube from the fuel delivery pipe RH (See PRECAUTION  ).

      Fig 4: Locating No 1 Fuel Tube (RH Side)
      G05759528Courtesy of © TOYOTA, LICENSE AGREEMENT TMS1002
    2. LH Side:

      Disconnect the No. 1 fuel tube from the fuel delivery pipe LH (See PRECAUTION  ).

      Fig 5: Locating No 1 Fuel Tube (LH Side)
      G05759529Courtesy of © TOYOTA, LICENSE AGREEMENT TMS1002
  12. DISCONNECT NO. 1 FUEL HOSE 
    1. Disconnect the fuel hose from the fuel delivery pipe LH (See PRECAUTION  ).
      Fig 6: Locating Fuel Hose
      G05152033Courtesy of © TOYOTA, LICENSE AGREEMENT TMS1002
  13. REMOVE FUEL DELIVERY PIPE SUB-ASSEMBLY RH 
    1. Disconnect the ventilation hose and No. 6 wire harness connector.
      Fig 7: Locating Ventilation Hose And Wire Harness Connector
      G05152007Courtesy of © TOYOTA, LICENSE AGREEMENT TMS1002
    2. Remove the 2 bolts and fuel delivery pipe RH.
      NOTE: When removing the delivery pipe, hold the pipe by both ends and pull it straight upward.
    3. Remove the 2 delivery pipe spacers and 4 insulators from the cylinder head RH.
    4. Fig 8: Locating Fuel Delivery Pipe RH Bolts
      G05152008Courtesy of © TOYOTA, LICENSE AGREEMENT TMS1002
  14. REMOVE FUEL DELIVERY PIPE SUB-ASSEMBLY LH 
    1. Disconnect the No. 7 wire harness connector.
    2. Remove the 2 bolts and fuel delivery pipe LH.
      NOTE: When removing the delivery pipe, hold the pipe by both ends and pull it straight upward.
    3. Remove the 2 delivery pipe spacers and 4 insulators from the cylinder head LH.
      Fig 9: Locating Fuel Delivery Pipe LH Bolts
      G05152009Courtesy of © TOYOTA, LICENSE AGREEMENT TMS1002
  15. REMOVE FUEL INJECTOR ASSEMBLY 
    1. Remove the fuel injector from the fuel delivery pipe, and then disconnect the injector connector.
      Fig 10: Removing Fuel Injector Assembly
      G05152010Courtesy of © TOYOTA, LICENSE AGREEMENT TMS1002
      NOTE: For reinstallation, attach a tag or label to the injector shaft.
      Fig 11: Attaching Tag To Injector Shaft
      G04947875Courtesy of © TOYOTA, LICENSE AGREEMENT TMS1002
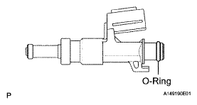
    2. Remove the O-ring from the fuel injector.
      Fig 12: Identifying Fuel Injector O-Ring
      G04947877Courtesy of © TOYOTA, LICENSE AGREEMENT TMS1002
    3. Detach the 3 clamps and then remove the No. 6 wire harness from the delivery pipe RH.
      Fig 13: Identifying No 6 Wire Harness Clamps
      G05628805Courtesy of © TOYOTA, LICENSE AGREEMENT TMS1002
    4. Detach the 3 clamps and then remove the No. 7 wire harness from the delivery pipe LH.
      Fig 14: Identifying No 7 Wire Harness Clamps
      G05628806Courtesy of © TOYOTA, LICENSE AGREEMENT TMS1002