LEMON Manuals: Even more car manuals for everyone: 1960-2025
Home >> Lexus >> 2008 >> LX 570 >> Repair and Diagnosis >> Engine Performance >> Fuel Delivery >> Fuel >> Fuel Pump >> Disassembly
April 5, 2026: LEMON Manuals is launched! Read the announcement.

Fuel Pump: Disassembly

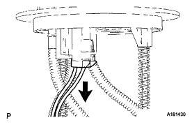
NOTE: Do not disconnect the hoses indicated in the illustration.
  1. REMOVE FUEL SENDER GAUGE ASSEMBLY  (See REMOVAL  )
    Fig 1: Locating Hoses
    G05628858Courtesy of © TOYOTA, LICENSE AGREEMENT TMS1002
  2. REMOVE NO. 1 FUEL SUB-TANK 
    1. Disconnect the fuel pump connector.
      Fig 2: Disconnecting Fuel Pump Connector
      G05759581Courtesy of © TOYOTA, LICENSE AGREEMENT TMS1002
    2. Disconnect the jet pump from the sub-tank.
    3. Using a small screwdriver, detach the claw from the sub-tank.

      HINT:

      Tape the screwdriver tip before use.

    4. Detach the tube from the 2 clamps on the sub-tank.
      Fig 3: Detaching Claw From Sub-Tank
      G05759582Courtesy of © TOYOTA, LICENSE AGREEMENT TMS1002
    5. Using a screwdriver, detach the 3 claws from the claw holes.
      NOTE: Do not damage the fuel sub-tank.

      HINT:

      Tape the screwdriver tip before use.

      Fig 4: Identifying Claws
      G05628861Courtesy of © TOYOTA, LICENSE AGREEMENT TMS1002
    6. Using a screwdriver, detach the 3 claws from the claw holes and remove the No. 1 fuel sub-tank.
      NOTE: Do not damage the fuel sub-tank.

      HINT:

      Tape the screwdriver tip before use.

      Fig 5: Identifying Fuel Sub-Tank Claws
      G05628862Courtesy of © TOYOTA, LICENSE AGREEMENT TMS1002
  3. REMOVE FUEL PUMP 
    1. Using a screwdriver, detach the 5 claws from the claw holes and disconnect the fuel pump from the fuel filter case.

      HINT:

      Tape the screwdriver tip before use.

      Fig 6: Identifying Claws And Fuel Filter Case
      G05759585Courtesy of © TOYOTA, LICENSE AGREEMENT TMS1002
    2. Disconnect the fuel pump wire harness connector from the fuel pump to remove it.
      Fig 7: Locating Fuel Pump Wire Harness Connector
      G05628864Courtesy of © TOYOTA, LICENSE AGREEMENT TMS1002
    3. Remove the O-ring and spacer from the fuel pump.
      Fig 8: Identifying O-Ring And Spacer
      G05628865Courtesy of © TOYOTA, LICENSE AGREEMENT TMS1002
  4. REMOVE FUEL MAIN VALVE ASSEMBLY 
    1. Remove the fuel main valve from the fuel filter case.
    2. Remove the 2 O-rings from the fuel main valve.
      Fig 9: Identifying O-Rings And Fuel Filter Case
      G05628846Courtesy of © TOYOTA, LICENSE AGREEMENT TMS1002
  5. REMOVE NO. 1 FUEL SUCTION SUPPORT 
    1. Detach the 2 claws from the claw holes to remove the fuel suction support.
      Fig 10: Identifying Fuel Suction Support Claws
      G05628847Courtesy of © TOYOTA, LICENSE AGREEMENT TMS1002