LEMON Manuals: Even more car manuals for everyone: 1960-2025
Home >> Lexus >> 2008 >> LX 570 >> Repair and Diagnosis >> General Information >> Identification >> Introduction >> How To Troubleshoot Ecu Controlled Systems >> Electronic Circuit Inspection Procedure
April 5, 2026: LEMON Manuals is launched! Read the announcement.

Electronic Circuit Inspection Procedure

  1. BASIC INSPECTION 
    1. WHEN MEASURING RESISTANCE OF ELECTRONIC PARTS
      1. Unless otherwise stated, all resistance measurements should be made at an ambient temperature of 20°C (68°F). Resistance measurements may be inaccurate if measured at high temperatures, i.e. immediately after the vehicle has been running. Measurements should be made after the engine has cooled down.
    2. HANDLING CONNECTORS
      1. When disconnecting a connector, first squeeze the mating halves tightly together to release the lock, and then press the lock claw and separate the connector.
      2. When disconnecting a connector, do not pull on the harnesses. Grasp the connector directly and separate it.
      3. Before connecting a connector, check that there are no deformed, damaged, loose or missing terminals.
      4. When connecting a connector, press firmly until it locks with a "click" sound.
      5. If checking a connector with a TOYOTA electrical tester, check the connector from the backside (harness side) using a mini test lead.
        Fig 1: Identifying Proper Handling For Connectors
        G04947470Courtesy of © TOYOTA, LICENSE AGREEMENT TMS1002
        NOTE:
        • As a waterproof connector cannot be checked from the backside, check it by connecting a sub-harness.
        • Do not damage the terminals by moving the inserted tester needle.
    3. CHECKING CONNECTORS
      1. Checking when a connector is connected: Squeeze the connectors together to confirm that they are fully connected and locked.
      2. Checking when a connector is disconnected: Check by pulling the wire harness lightly from the backside of the connector. Look for unlatched terminals, missing terminals, loose crimps or broken conductor wires. Check visually for corrosion, metallic or foreign matter and water, and bent, rusted, overheated, contaminated, or deformed terminals.
        Fig 2: Checking Connectors
        G04947471Courtesy of © TOYOTA, LICENSE AGREEMENT TMS1002
      3. Checking the contact pressure of the terminal: Prepare a spare male terminal. Insert it into a female terminal, and check for ample tension when inserting and after full engagement.
        NOTE: When testing a gold-plated female terminal, always use a gold-plated male terminal.
        Fig 3: Checking Contact Pressure Of Terminal
        G04947472Courtesy of © TOYOTA, LICENSE AGREEMENT TMS1002
    4. REPAIR METHOD OF CONNECTOR TERMINAL
      1. If there is any foreign matter on the terminal, clean the contact point using an air gun or cloth. Never rub the contact point using sandpaper as the plating may come off.
      2. If there is abnormal contact pressure, replace the female terminal. If the male terminal is gold-plated (gold color), use a gold-plated female terminal; if it is silver-plated (silver color), use a silver-plated female terminal.
      3. Damaged, deformed, or corroded terminals should be replaced. If the terminal does not lock into the housing, the housing may have to be replaced.
        Fig 4: Identifying Proper Repair Method Of Connector Terminal
        G04947473Courtesy of © TOYOTA, LICENSE AGREEMENT TMS1002
    5. HANDLING OF WIRE HARNESS
      Fig 5: Identifying Proper Handling Of Wire Harness
      G04947474Courtesy of © TOYOTA, LICENSE AGREEMENT TMS1002
      1. If removing a wire harness, check the wiring and clamping before proceeding so that it can be restored in the same way.
      2. Never twist, pull or slacken the wire harness more than necessary.
      3. The wire harness should never come into contact with a high temperature part, or rotating, moving, vibrating or sharp-edged parts. Avoid contact with panel edges, screw tips and other sharp items.
      4. When installing parts, never pinch the wire harness.
      5. Never cut or break the cover of the wire harness. If it is cut or broken, replace it or repair it with vinyl tape.
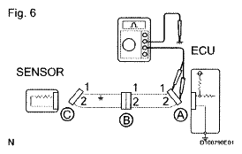
  2. CHECK FOR OPEN CIRCUIT 
    1. For an open circuit in the wire harness in Fig 6, check the resistance or voltage, as described below.
      Fig 6: Checking For Open Circuit
      G05188581Courtesy of © TOYOTA, LICENSE AGREEMENT TMS1002
    2. Check the resistance.
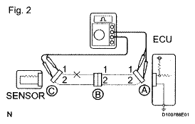
      1. Disconnect connectors A and C and measure the resistance between them.
        Fig 7: Measuring Resistance Between Connectors A And C
        G05188582Courtesy of © TOYOTA, LICENSE AGREEMENT TMS1002

        Standard Resistance  (Fig 7)

        RESISTANCE SPECIFICATION

        Tester Connection Specified Condition
        Connector A terminal 1 - Connector C terminal 1 10 kΩ or higher
        Connector A terminal 2 - Connector C terminal 2 Below 1 Ω

        HINT:

        Measure the resistance while lightly shaking the wire harness vertically and horizontally.

        If the results match the examples above, an open circuit exists between terminal 1 of connector A and terminal 1 of connector C.

      2. Disconnect connector B and measure the resistance between the connectors.

        Standard Resistance  (Fig 8)

        RESISTANCE SPECIFICATION

        Tester Connection Specified Condition
        Connector A terminal 1 - Connector B1 terminal 1 Below 1 Ω
        Connector B2 terminal 1 - Connector C terminal 1 10 kΩ or higher

        If the results match the examples above, an open circuit exists between terminal 1 of connector B2 and terminal 1 of connector C.

        Fig 8: Measuring Resistance Between Connectors B2 And C
        G05188583Courtesy of © TOYOTA, LICENSE AGREEMENT TMS1002
    3. Check the voltage.
      1. In a circuit in which voltage is applied to the ECU connector terminal, an open circuit can be checked by conducting a voltage check. With each connector still connected, measure the voltage between the body ground and these terminals (in this order): 1) terminal 1 of connector A; 2) terminal 1 of connector B; and 3) terminal 1 of connector C.
        Fig 9: Measuring Voltage Between Body Ground And Terminals
        G05188584Courtesy of © TOYOTA, LICENSE AGREEMENT TMS1002

        Standard Voltage  (Fig 9)

        VOLTAGE SPECIFICATION

        Tester Connection Specified Condition
        Connector A terminal 1 - Body ground 5V
        Connector B terminal 1 - Body ground 5V
        Connector C terminal 1 - Body ground Below 1 V

        If the results match the examples above, an open circuit exists in the wire harness between terminal 1 of connector B and terminal 1 of connector C.

  3. CHECK FOR SHORT CIRCUIT 
    1. If the wire harness is ground shorted (Fig 10), locate the section by conducting a resistance check with the body ground (below).
      Fig 10: Checking For Short Circuit
      G05188585Courtesy of © TOYOTA, LICENSE AGREEMENT TMS1002
    2. Check the resistance with the body ground.
      1. Disconnect connectors A and C and measure the resistance.

        Standard Resistance  (Fig 11)

        RESISTANCE SPECIFICATION

        Tester Connection Specified Condition
        Connector A terminal 1 - Body ground Below 1 Ω
        Connector A terminal 2 - Body ground 10 kΩ or higher
        Fig 11: Measuring Resistance Between Connectors A And C
        G05188586Courtesy of © TOYOTA, LICENSE AGREEMENT TMS1002

        HINT:

        Measure the resistance while lightly shaking the wire harness vertically and horizontally.

        If your results match the examples above, a short circuit exists between terminal 1 of connector A and terminal 1 of connector C.

      2. Disconnect connector B and measure the resistance.

        Standard Resistance  (Fig 12)

        RESISTANCE SPECIFICATION

        Tester Connection Specified Condition
        Connector A terminal 1 - Body ground 10 kΩ or higher
        Connector B2 terminal 1 - Body ground Below 1 Ω
        Fig 12: Measuring Resistance Between Connectors And Body Ground
        G05188587Courtesy of © TOYOTA, LICENSE AGREEMENT TMS1002

        If the results match the examples above, a short circuit exists between terminal 1 of connector B2 and terminal 1 of connector C.

  4. CHECK AND REPLACE ECU 
    NOTE:
    • The connector should not be disconnected from the ECU. Perform the inspection from the backside of the connector on the wire harness side.
    • When no measuring condition is specified, perform the inspection with the engine stopped and the engine switch on.
    • Check that the connectors are fully seated. Check for loose, corroded or broken wires.
    1. First, check the ECU ground circuit. If it is faulty, repair it. If it is normal, the ECU could be faulty. Temporarily replace the ECU with a normally functioning one and check if the symptoms occur. If the trouble symptoms disappear, replace the original ECU.
      1. Measure the resistance between the ECU ground terminal and body ground.

        Standard Resistance: 

        Below 1 Ω 

        Fig 13: Measuring Resistance Between ECU Ground Terminal And Body Ground
        G04947482Courtesy of © TOYOTA, LICENSE AGREEMENT TMS1002
      2. Disconnect the ECU connector. Check the ground terminal on the ECU side and wire harness side for bending, corrosion or foreign matter. Lastly, check the contact pressure of the female terminals.
        Fig 14: Identifying Ground Terminals On ECU Side
        G04947483Courtesy of © TOYOTA, LICENSE AGREEMENT TMS1002