LEMON Manuals: Even more car manuals for everyone: 1960-2025
Home >> Lexus >> 2008 >> LX 570 >> Repair and Diagnosis >> Suspension >> Suspension Control Systems >> Suspension Control >> Height Control Accumulator >> Disposal
April 5, 2026: LEMON Manuals is launched! Read the announcement.

Height Control Accumulator: Disposal

  1. DISPOSE OF SUSPENSION CONTROL PUMP ACCUMULATOR ASSEMBLY 
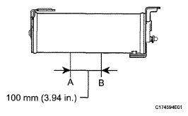
    1. Place the accumulator in a vise and saw a hole between A and B shown in the illustration using a saw to discharge the gas inside.
    CAUTION:
    • Before discharging the gas, loosen the bleeder plug to bleed high pressure oil.
    • The gas is colorless, odorless and harmless.
    • Saw a hole while covering the saw with a cloth because chips may fly up.
    Fig 1: Identifying Hole Between A & B
    G05761406Courtesy of © TOYOTA, LICENSE AGREEMENT TMS1002