LEMON Manuals: Even more car manuals for everyone: 1960-2025
Home >> Lexus >> 2008 >> LX 570 >> Repair and Diagnosis >> Transmission >> Automatic Trans >> Automatic Transmission >> Automatic Transmission System >> System Diagram
April 5, 2026: LEMON Manuals is launched! Read the announcement.

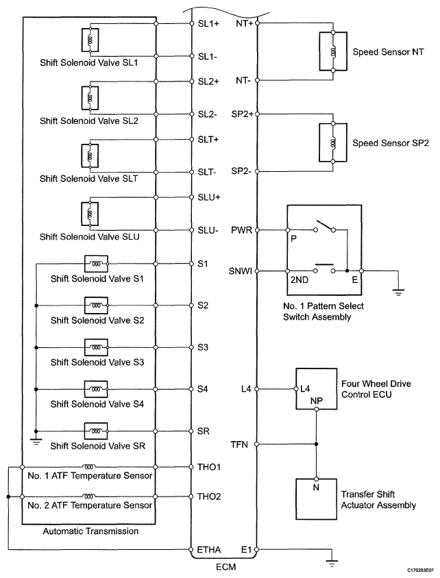
System Diagram

The configuration of the electronic control system in the AB60F automatic transmission is as shown in the following chart.

Fig 1: Automatic Transmission System Diagram (1 Of 2)
G05628941Courtesy of © TOYOTA, LICENSE AGREEMENT TMS1002
Fig 2: Automatic Transmission System Diagram (2 Of 2)
G05760457Courtesy of © TOYOTA, LICENSE AGREEMENT TMS1002