LEMON Manuals: Even more car manuals for everyone: 1960-2025
Home >> Lexus >> 2008 >> RX 350 AWD >> Repair and Diagnosis >> Transmission >> Automatic Trans >> U151F Automatic Transaxle >> Automatic Transaxle Unit >> Disassembly
April 5, 2026: LEMON Manuals is launched! Read the announcement.

Automatic Transaxle Unit: Disassembly

  1. REMOVE PARK/NEUTRAL POSITION SWITCH ASSEMBLY 
    1. Remove the nut, washer and control shaft lever.
      Fig 1: Locating Nut, Washer And Control Shaft Lever
      G05000566Courtesy of © TOYOTA, LICENSE AGREEMENT TMS1002
    2. Using a screwdriver, pry up the lock plate.
      Fig 2: Prying Up Lock Plate
      G05415599Courtesy of © TOYOTA, LICENSE AGREEMENT TMS1002
    3. Remove the lock nut and the lock plate.
      Fig 3: Locating Lock Nut And Lock Plate
      G05000568Courtesy of © TOYOTA, LICENSE AGREEMENT TMS1002
    4. Remove the 2 bolts and pull out the park/neutral position switch.
    5. Fig 4: Locating Bolts And Park/Neutral Position Switch
      G05000569Courtesy of © TOYOTA, LICENSE AGREEMENT TMS1002
  2. REMOVE BREATHER PLUG HOSE 
    1. Remove the breather plug hose from the transaxle case.
  3. REMOVE OIL COOLER TUBE UNION (INLET OIL COOLER UNION) 
    1. Remove the union.
    2. Remove the O-ring from the union.
      Fig 5: Identifying O-Ring And Union
      G05268888Courtesy of © TOYOTA, LICENSE AGREEMENT TMS1002
  4. REMOVE OIL COOLER TUBE UNION (OUTLET OIL COOLER UNION) 
    1. Remove the union.
    2. Remove the O-ring from the union.
      Fig 6: Identifying O-Ring And Union
      G05268889Courtesy of © TOYOTA, LICENSE AGREEMENT TMS1002
  5. REMOVE SPEED SENSOR 
    1. Remove the 2 bolts and the 2 speed sensors from the transaxle assembly.
      Fig 7: Identifying Speed Sensors With Bolts
      G05415780Courtesy of © TOYOTA, LICENSE AGREEMENT TMS1002
  6. REMOVE NO. 1 TRANSAXLE CASE PLUG 
    1. Remove the 4 No. 1 transaxle case plugs from the transaxle case.
    2. Remove the 4 O-rings from the 4 No. 1 transaxle case plugs.
      Fig 8: Identifying O-Rings And Transaxle Case No.1 Plugs
      G04976344Courtesy of © TOYOTA, LICENSE AGREEMENT TMS1002
  7. FIX AUTOMATIC TRANSAXLE ASSEMBLY 
    1. Fix the transaxle assembly on wooden blocks.
      Fig 9: Fixing Automatic Transaxle Assembly
      G05000733Courtesy of © TOYOTA, LICENSE AGREEMENT TMS1002
  8. REMOVE AUTOMATIC TRANSAXLE OIL PAN SUB-ASSEMBLY 
    1. Remove the 18 bolts, oil pan, and gasket.
      Fig 10: Identifying Bolts Of Oil Pan
      G04975941Courtesy of © TOYOTA, LICENSE AGREEMENT TMS1002
    2. Remove the 2 magnets from the oil pan.
      Fig 11: Identifying Magnets In Oil Pan
      G05000735Courtesy of © TOYOTA, LICENSE AGREEMENT TMS1002
  9. INSPECT TRANSMISSION OIL CLEANER MAGNET 
    1. Remove the magnets and use them to collect any steel chips. Examine the chips and particles in the pan and on the magnet to determine what type of wear has occurred in the transaxle:

      Result: 

      Steel (magnetic): 

      Wear of the bearing, gear, and plate 

      Brass (non-magnetic): 

      Wear of the bushing 

      Fig 12: Inspecting Chips And Particles
      G04976097Courtesy of © TOYOTA, LICENSE AGREEMENT TMS1002
  10. DISCONNECT TRANSMISSION WIRE 
    1. Remove the 7 connectors from the shift solenoid valves.
    2. Remove the bolt, lock plate, and temperature sensor.
      Fig 13: Locating Temperature Sensor
      G05841415Courtesy of © TOYOTA, LICENSE AGREEMENT TMS1002
  11. REMOVE TRANSMISSION WIRE 
    1. Remove the bolt and transmission wire from the transaxle case.
      Fig 14: Identifying Bolt And Transmission Wire
      G04976099Courtesy of © TOYOTA, LICENSE AGREEMENT TMS1002
  12. REMOVE VALVE BODY OIL STRAINER ASSEMBLY 
    1. Remove the 3 bolts and oil strainer.
      Fig 15: Locating Bolts And Oil Strainer
      G05840583Courtesy of © TOYOTA, LICENSE AGREEMENT TMS1002
    2. Remove the O-ring from the oil strainer.
      Fig 16: Locating O-Ring
      G05268899Courtesy of © TOYOTA, LICENSE AGREEMENT TMS1002
  13. REMOVE TRANSMISSION VALVE BODY ASSEMBLY 
    1. Support the valve body assembly and remove the 17 bolts and valve body assembly.
      Fig 17: Locating Bolts And Valve Body Assembly
      G04975959Courtesy of © TOYOTA, LICENSE AGREEMENT TMS1002
  14. REMOVE NO. 1 GOVERNOR APPLY GASKET 
    1. Remove the No. 1 governor apply gasket from the transaxle case.
      Fig 18: Locating Governor Apply Gasket No.1
      G04976103Courtesy of © TOYOTA, LICENSE AGREEMENT TMS1002
  15. REMOVE TRANSAXLE CASE 2ND BRAKE GASKET 
    1. Remove the transaxle case 2nd brake gasket from the transaxle case.
      Fig 19: Locating Transaxle Case 2nd Brake Gasket
      G05246781Courtesy of © TOYOTA, LICENSE AGREEMENT TMS1002
  16. REMOVE BRAKE DRUM GASKET 
    1. Remove the brake drum gasket from the transaxle case.
      Fig 20: Locating Brake Drum Gasket
      G04976105Courtesy of © TOYOTA, LICENSE AGREEMENT TMS1002
  17. REMOVE CHECK BALL BODY 
    1. Remove the check ball body and spring from the transaxle case.
      Fig 21: Identifying Check Ball Body And Spring
      G04976106Courtesy of © TOYOTA, LICENSE AGREEMENT TMS1002
  18. REMOVE C-3 ACCUMULATOR PISTON 
    1. Remove the spring from the C-3 accumulator piston.
      Fig 22: Identifying Spring And C-3 Accumulator Piston
      G04976107Courtesy of © TOYOTA, LICENSE AGREEMENT TMS1002
    2. Apply compressed air (392 kPa, 4.0 kgf/cm2 , 57 psi) to the oil hole and remove the C-3 accumulator piston.
      NOTE:
      • Applying compressed air may cause the piston to jump-out. When removing the piston, hold it using a shop rag or a piece of cloth.
      • Take care not to splash ATF when applying compressed air.
        Fig 23: Applying Compressed Air To Oil Hole
        G05000747Courtesy of © TOYOTA, LICENSE AGREEMENT TMS1002
    3. Remove the O-ring from the C-3 accumulator piston.
      Fig 24: Identifying O-Ring In C-3 Accumulator Piston
      G05130158Courtesy of © TOYOTA, LICENSE AGREEMENT TMS1002
  19. REMOVE REVERSE CLUTCH ACCUMULATOR PISTON 
    1. Apply compressed air (392 kPa, 4.0 kgf/cm2 , 57 psi) to the oil hole and remove the reverse accumulator piston and spring.
      NOTE:
      • Applying compressed air may cause the piston to jump-out. When removing the piston, hold it using a shop rag or a piece of cloth.
        Fig 25: Locating Reverse Accumulator Piston And Spring
        G04976110Courtesy of © TOYOTA, LICENSE AGREEMENT TMS1002
      • Take care not to splash ATF when applying compressed air.
    2. Remove the 2 O-rings from the reverse clutch accumulator piston.
      Fig 26: Locating O-Rings
      G05559498Courtesy of © TOYOTA, LICENSE AGREEMENT TMS1002
  20. REMOVE B-3 ACCUMULATOR PISTON 
    1. Apply compressed air (392 kPa, 4.0 kgf/cm2 , 57 psi) to the oil hole and remove the B-3 accumulator piston and 2 springs.
      NOTE:
      • Applying compressed air may cause the piston to jump-out. When removing the piston, hold it using a shop rag or a piece of cloth.
      • Take care not to splash ATF when applying compressed air.
        Fig 27: Applying Compressed Air To Oil Hole
        G05000747Courtesy of © TOYOTA, LICENSE AGREEMENT TMS1002
    2. Remove the O-ring from the B-3 accumulator piston.
      Fig 28: Locating B-3 Accumulator Piston O-Ring
      G05268911Courtesy of © TOYOTA, LICENSE AGREEMENT TMS1002
  21. REMOVE MANUAL VALVE LEVER SHAFT RETAINER SPRING 
    1. Using needle-nose pliers, remove the manual valve lever shaft retainer spring.
      Fig 29: Identifying Manual Valve Lever Shaft Retainer Spring
      G04976114Courtesy of © TOYOTA, LICENSE AGREEMENT TMS1002
  22. REMOVE MANUAL DETENT SPRING SUB-ASSEMBLY 
    1. Remove the 2 bolts, the manual detent spring sub-assembly and cover.
      Fig 30: Locating Bolts And Manual Detent Spring Sub-Assembly
      G05000754Courtesy of © TOYOTA, LICENSE AGREEMENT TMS1002
  23. REMOVE PARKING LOCK PAWL BRACKET 
    1. Remove the 2 bolts and parking lock pawl bracket.
      Fig 31: Locating Bolts And Parking Lock Pawl Bracket
      G04976116Courtesy of © TOYOTA, LICENSE AGREEMENT TMS1002
  24. REMOVE MANUAL VALVE LEVER SUB-ASSEMBLY 
    1. Using a chisel and hammer, cut off and remove the spacer.
      Fig 32: Tapping Manual Valve Lever
      G05000756Courtesy of © TOYOTA, LICENSE AGREEMENT TMS1002
    2. Using a pin punch ( 35 mm) and hammer, drive out the pin.

      HINT:

      Slowly drive out the pin so that it will not fall into the transaxle case.

      Fig 33: Tapping Pin
      G05133369Courtesy of © TOYOTA, LICENSE AGREEMENT TMS1002
    3. Remove the manual valve lever shaft and manual valve lever.
      Fig 34: Removing Manual Valve Lever Shaft
      G05841436Courtesy of © TOYOTA, LICENSE AGREEMENT TMS1002
  25. REMOVE PARKING LOCK ROD SUB-ASSEMBLY 
    1. Remove the parking lock rod from the manual valve lever.
      Fig 35: Identifying Parking Lock Rod Sub-Assembly
      G05000759Courtesy of © TOYOTA, LICENSE AGREEMENT TMS1002
  26. REMOVE MANUAL VALVE LEVER SHAFT OIL SEAL 
    1. Using a screwdriver, remove the oil seal from the transaxle case.
      NOTE: Do not apply excessive force when removing the oil seal.
      Fig 36: Removing Oil Seal From Transaxle Case
      G05000760Courtesy of © TOYOTA, LICENSE AGREEMENT TMS1002
  27. FIX AUTOMATIC TRANSAXLE ASSEMBLY 
    1. Fix the transaxle case with the oil pump side facing up.
  28. INSPECT INPUT SHAFT END PLAY (See  INSPECTION   ) 
  29. REMOVE TRANSAXLE HOUSING 
    1. Remove the 16 bolts.
    2. Tap on the circumference of the transaxle housing with a plastic hammer to remove the transaxle housing from the transaxle case.
      NOTE: The differential may be accidentally removed when the transaxle housing is removed.
      Fig 37: Identifying Transaxle Housing Bolts
      G05239984Courtesy of © TOYOTA, LICENSE AGREEMENT TMS1002
  30. REMOVE OIL PUMP ASSEMBLY 
    1. Remove the 7 bolts and oil pump from the transaxle case.
      Fig 38: Locating Oil Pump Assembly Bolts
      G05000762Courtesy of © TOYOTA, LICENSE AGREEMENT TMS1002
  31. REMOVE THRUST NEEDLE ROLLER BEARING 
    1. Remove the thrust needle roller bearing from the underdrive planetary gear assembly.
      Fig 39: Identifying Thrust Needle Roller Bearing
      G05268922Courtesy of © TOYOTA, LICENSE AGREEMENT TMS1002
  32. REMOVE NO. 2 THRUST BEARING UNDERDRIVE RACE 
    1. Remove the No. 2 thrust bearing underdrive race from the underdrive planetary gear assembly.
      Fig 40: Identifying No. 2 Thrust Bearing Underdrive Race
      G05268923Courtesy of © TOYOTA, LICENSE AGREEMENT TMS1002
  33. REMOVE DIFFERENTIAL GEAR ASSEMBLY 
    1. Remove the differential gear assembly from the transaxle case.
      Fig 41: Identifying Differential Gear Assembly
      G05000765Courtesy of © TOYOTA, LICENSE AGREEMENT TMS1002
  34. REMOVE OVERDRIVE BRAKE GASKET 
    1. Remove the 2 overdrive brake gaskets from the transaxle case.
      Fig 42: Identifying Overdrive Brake Gaskets
      G04976127Courtesy of © TOYOTA, LICENSE AGREEMENT TMS1002
  35. REMOVE FORWARD CLUTCH ASSEMBLY 
    1. Remove the forward clutch assembly from the transaxle case.
      Fig 43: Identifying Forward Clutch Assembly
      G05000767Courtesy of © TOYOTA, LICENSE AGREEMENT TMS1002
    2. Remove the thrust needle roller bearing from the forward clutch.
      Fig 44: Identifying Thrust Needle Roller Bearing
      G05000768Courtesy of © TOYOTA, LICENSE AGREEMENT TMS1002
  36. REMOVE MULTIPLE DISC CLUTCH HUB 
    1. Remove the 2 thrust needle roller bearings, multiple disc clutch hub, and No. 1 thrust bearing race.
    2. Fig 45: Identifying Thrust Needle Roller Bearings, Multiple Disc Clutch Hub, And No. 1 Thrust Bearing Race
      G05272051Courtesy of © TOYOTA, LICENSE AGREEMENT TMS1002
  37. INSPECT MULTIPLE DISC CLUTCH HUB (See  INSPECTION   ) 
  38. REMOVE UNDERDRIVE PLANETARY GEAR ASSEMBLY 
    1. Remove the bolt and pawl shaft clamp.
      Fig 46: Identifying Bolt And Pawl Shaft Clamp
      G05000770Courtesy of © TOYOTA, LICENSE AGREEMENT TMS1002
    2. Remove the parking lock pawl shaft.
      Fig 47: Removing Parking Lock Pawl Shaft
      G05000771Courtesy of © TOYOTA, LICENSE AGREEMENT TMS1002
    3. Push the parking lock pawl.

      HINT:

      Failure to do this will cause interference when the underdrive planetary gear is removed.

      Fig 48: Locating Parking Lock Pawl
      G04976133Courtesy of © TOYOTA, LICENSE AGREEMENT TMS1002
    4. Remove the underdrive planetary gear assembly from the transaxle case.
      NOTE: Be careful so that the underdrive planetary gear assembly will not fall off.
      Fig 49: Removing Underdrive Planetary Gear Assembly
      G05000773Courtesy of © TOYOTA, LICENSE AGREEMENT TMS1002
  39. REMOVE PARKING LOCK PAWL 
    1. Remove the spring, pawl pin, and parking lock pawl.
      Fig 50: Identifying Spring, Pawl Pin And Parking Lock Pawl
      G05000774Courtesy of © TOYOTA, LICENSE AGREEMENT TMS1002
  40. REMOVE UNDERDRIVE CLUTCH ASSEMBLY 
    1. Remove the underdrive clutch assembly, thrust bearing, and bearing race from the transaxle case.
      Fig 51: Identifying Thrust Bearing And Bearing Race
      G05268934Courtesy of © TOYOTA, LICENSE AGREEMENT TMS1002
  41. REMOVE UNDERDRIVE ONE-WAY CLUTCH ASSEMBLY 
    1. Using a screwdriver, remove the snap ring from the transaxle case.
      NOTE: Do not apply excessive force when removing the snap ring.
      Fig 52: Removing Snap Ring From Transaxle Case
      G04976294Courtesy of © TOYOTA, LICENSE AGREEMENT TMS1002
    2. Remove the underdrive one-way clutch from the transaxle case.
      Fig 53: Identifying Underdrive One-Way Clutch
      G05272059Courtesy of © TOYOTA, LICENSE AGREEMENT TMS1002
    3. Remove the outer race retainer from the one-way clutch.
      Fig 54: Identifying Outer Race Retainer
      G04976139Courtesy of © TOYOTA, LICENSE AGREEMENT TMS1002
  42. REMOVE NO. 2 UNDERDRIVE CLUTCH DISC 
    1. Using a screwdriver, remove the snap ring.
      NOTE: Do not apply excessive force when removing the snap ring.
      Fig 55: Removing Snap Ring
      G04976140Courtesy of © TOYOTA, LICENSE AGREEMENT TMS1002
    2. Remove the flange, 4 discs, and 4 plates from the transaxle case.
    3. Fig 56: Identifying Flange
      G05000780Courtesy of © TOYOTA, LICENSE AGREEMENT TMS1002
  43. INSPECT NO. 2 UNDERDRIVE CLUTCH DISC (See  INSPECTION   ) 
  44. REMOVE TRANSAXLE REAR COVER SUB-ASSEMBLY 
    1. Remove the 11 bolts.
    2. Tap on the circumference of the rear cover with a plastic hammer to remove the transaxle rear cover from the transaxle case.
      Fig 57: Locating Transaxle Rear Cover Bolts
      G05000781Courtesy of © TOYOTA, LICENSE AGREEMENT TMS1002
  45. REMOVE NO. 1 TRANSAXLE CASE PLUG 
    1. Remove the 4 No. 1 transaxle case plugs from the transaxle rear cover.
    2. Remove the 4 No. 1 O-rings from the 4 transaxle case plugs.
      Fig 58: Identifying O-Ring And Transaxle Case No. 1 Plugs
      G05000782Courtesy of © TOYOTA, LICENSE AGREEMENT TMS1002
  46. REMOVE REAR CLUTCH OIL SEAL RING OUTER 
    1. Remove the 3 rear clutch oil seal rings from the transaxle rear cover.
      Fig 59: Identifying Rear Clutch Oil Seal Ring Outer
      G05000783Courtesy of © TOYOTA, LICENSE AGREEMENT TMS1002
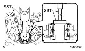
  47. REMOVE NEEDLE ROLLER BEARING 
    1. Using SST, remove the needle roller bearing from the transaxle rear cover.

      SST 09387-00041 (09387-01021, 09387-01030, 09387-01040) 

      Fig 60: Removing Needle-Roller Bearing From Transaxle Rear Cover
      G04976145Courtesy of © TOYOTA, LICENSE AGREEMENT TMS1002
  48. REMOVE NO. 1 GOVERNOR APPLY GASKET 
    1. Using a screwdriver, remove the 3 apply gaskets.
      Fig 61: Locating Apply Gaskets
      G04976282Courtesy of © TOYOTA, LICENSE AGREEMENT TMS1002
  49. REMOVE BRAKE APPLY TUBE 
    1. Remove the bolt, clamp, and brake apply tube.
    2. Remove the clutch apply tube.
    3. Remove the brake apply tube from the clamp.
      NOTE: Do not bend the tubes.
      Fig 62: Locating Bolt, Clamp And Brake Apply Tube
      G05000786Courtesy of © TOYOTA, LICENSE AGREEMENT TMS1002
  50. REMOVE DIRECT CLUTCH ASSEMBLY 
    1. Remove the thrust bearing and the direct clutch assembly from the transaxle case.
      Fig 63: Identifying Thrust Bearing And Direct Clutch Assembly
      G05000787Courtesy of © TOYOTA, LICENSE AGREEMENT TMS1002
  51. REMOVE OVERDRIVE DIRECT CLUTCH HUB SUB-ASSEMBLY 
    1. Remove the thrust bearing race, thrust bearing, and overdrive direct clutch hub from the planetary gear assembly.
    2. Fig 64: Identifying Thrust Bearing Race, Thrust Bearing And Overdrive Direct Clutch Hub
      G05415837Courtesy of © TOYOTA, LICENSE AGREEMENT TMS1002
  52. INSPECT OVERDRIVE DIRECT CLUTCH DRUM SUB-ASSEMBLY (See  INSPECTION   ) 
  53. REMOVE REAR PLANETARY SUN GEAR ASSEMBLY 
    1. Remove the rear planetary sun gear assembly from the transaxle case.
      Fig 65: Identifying Rear Planetary Sun Gear Assembly
      G05000789Courtesy of © TOYOTA, LICENSE AGREEMENT TMS1002
    2. Remove the thrust needle roller bearing and thrust bearing race from the rear planetary sun gear assembly.
      Fig 66: Identifying Thrust Needle Roller Bearing And Thrust Bearing Race
      G05000790Courtesy of © TOYOTA, LICENSE AGREEMENT TMS1002
    3. Remove the No. 2 planetary carrier thrust washer from the rear planetary sun gear assembly.
      Fig 67: Identifying No. 2 Planetary Carrier Thrust Washer And Rear Planetary Sun Gear
      G05268950Courtesy of © TOYOTA, LICENSE AGREEMENT TMS1002
  54. REMOVE ONE-WAY CLUTCH ASSEMBLY 
    1. Remove the one-way clutch assembly and the thrust needle roller bearing from the transaxle case.
      Fig 68: Identifying One-Way Clutch Assembly And Thrust Needle Roller Bearing
      G05268951Courtesy of © TOYOTA, LICENSE AGREEMENT TMS1002
    2. Remove the one-way clutch inner race from the one-way clutch assembly.
      Fig 69: Identifying One-Way Clutch Inner Race
      G05268952Courtesy of © TOYOTA, LICENSE AGREEMENT TMS1002
  55. REMOVE ONE-WAY CLUTCH SLEEVE OUTER 
    1. Remove the one-way clutch sleeve outer from the transaxle case.
      Fig 70: Identifying One-Way Clutch Sleeve Outer
      G05841472Courtesy of © TOYOTA, LICENSE AGREEMENT TMS1002
  56. REMOVE NO. 1 PLANETARY CARRIER THRUST WASHER 
    1. Remove the No. 1 planetary carrier thrust washer from the planetary gear assembly.
      Fig 71: Identifying No. 1 Planetary Carrier Thrust Washer
      G05268954Courtesy of © TOYOTA, LICENSE AGREEMENT TMS1002
  57. REMOVE 2ND BRAKE CLUTCH DISC 
    1. Using a screwdriver, remove the snap ring.
    2. Remove the flange, 4 discs, and 4 plates from the transaxle case.
    3. Fig 72: Identifying Snap Ring
      G05000796Courtesy of © TOYOTA, LICENSE AGREEMENT TMS1002
  58. INSPECT 2ND BRAKE CLUTCH DISC (See  INSPECTION   ) 
  59. REMOVE 2ND BRAKE PISTON ASSEMBLY 
    1. Using a screwdriver, remove the snap ring.
      Fig 73: Removing Snap Ring
      G05000797Courtesy of © TOYOTA, LICENSE AGREEMENT TMS1002
    2. Remove the 2nd brake piston assembly from the transaxle case.
      Fig 74: Identifying 2nd Brake Piston Assembly
      G05841476Courtesy of © TOYOTA, LICENSE AGREEMENT TMS1002
  60. REMOVE REAR PLANETARY GEAR ASSEMBLY 
    1. Using a screwdriver, remove the snap ring.
      Fig 75: Removing Snap Ring
      G05841477Courtesy of © TOYOTA, LICENSE AGREEMENT TMS1002
    2. Remove the rear planetary gear assembly from the transaxle case.
      Fig 76: Identifying Rear Planetary Gear Assembly
      G05000800Courtesy of © TOYOTA, LICENSE AGREEMENT TMS1002
  61. REMOVE INPUT SUN GEAR 
    1. Remove the 2 thrust needle roller bearings, No. 2 thrust bearing race, and the input sun gear from the transaxle case.
      Fig 77: Identifying Thrust Needle Roller Bearings, No. 2 Thrust Bearing Race And Input Sun Gear
      G05268960Courtesy of © TOYOTA, LICENSE AGREEMENT TMS1002
  62. REMOVE 1ST AND REVERSE BRAKE CLUTCH DISC 
    1. Remove the flange, 6 discs, and 6 plates from the transaxle case.
    2. Fig 78: Identifying Flange, Discs, And Plates
      G05841480Courtesy of © TOYOTA, LICENSE AGREEMENT TMS1002
  63. INSPECT 1ST AND REVERSE BRAKE CLUTCH DISC (See  INSPECTION   ) 
  64. REMOVE FRONT PLANETARY GEAR ASSEMBLY 
    1. Using a chisel and hammer, unstake the lock washer.
      NOTE: Push down all claws of the washer. Otherwise, the SST cannot be fully pressed against the nut, and the nut cannot be loosened.
      Fig 79: Unstaking Lock Washer
      G05000803Courtesy of © TOYOTA, LICENSE AGREEMENT TMS1002
    2. Using SST, remove the nut.

      SST 09387-00030,09387-00080 

      Fig 80: Removing Nut
      G04976178Courtesy of © TOYOTA, LICENSE AGREEMENT TMS1002
    3. Using SST and a press, remove the front planetary gear assembly from the counter drive gear.

      SST 09950-60010 (09951 -00450), 09950-70010 (09951-07100) 

      Fig 81: Pressing Out Front Planetary Gear From Counter Drive Gear
      G04976179Courtesy of © TOYOTA, LICENSE AGREEMENT TMS1002
    4. Remove the front planetary gear assembly from the brake hub.
      Fig 82: Identifying Front Planetary Gear Assembly
      G05000806Courtesy of © TOYOTA, LICENSE AGREEMENT TMS1002
  65. REMOVE FRONT PLANETARY RING GEAR 
    1. Using a screwdriver, remove the snap ring and front planetary ring gear from the brake hub.
      Fig 83: Identifying Front Planetary Ring Gear
      G05841485Courtesy of © TOYOTA, LICENSE AGREEMENT TMS1002
  66. REMOVE 1ST AND REVERSE BRAKE RETURN SPRING SUB-ASSEMBLY 
    1. Place SST on the return spring, and compress the return spring with a press.

      SST 09387-00070 

    2. Using a snap ring expander, remove the snap ring.
      Fig 84: Compressing Return Spring
      G04976182Courtesy of © TOYOTA, LICENSE AGREEMENT TMS1002
      NOTE:
      • Stop the press when the spring seat is lowered 1 to 2 mm (0.039 to 0.078 in.) from the snap ring groove to prevent the spring seat from being deformed.
      • Do not expand the snap ring excessively.
  67. INSPECT 1ST AND REVERSE BRAKE RETURN SPRING SUB-ASSEMBLY (See  INSPECTION   ) 
  68. REMOVE 1ST AND REVERSE BRAKE PISTON 
    1. Apply compressed air (392 kPa, 4.0 kgf/cm2 , 57 psi) to the transaxle case to remove the 1st and reverse brake piston.
      NOTE:
      • Applying compressed air may cause the piston to jump-out. When removing the piston, hold it using a shop rag or a piece of cloth.
      • Take care not to splash ATF when applying compressed air.
        Fig 85: Applying Compressed Air To Transaxle Case
        G05268968Courtesy of © TOYOTA, LICENSE AGREEMENT TMS1002
    2. Remove the 2 O-rings from the 1st and reverse brake piston.
      Fig 86: Identifying O-Rings
      G05268969Courtesy of © TOYOTA, LICENSE AGREEMENT TMS1002
  69. REMOVE COUNTER DRIVE GEAR 
    1. Using SST and a press, remove the counter drive gear from the transaxle case.

      SST 09950-60010 (09951 -00590), 09950-70010 (09951-07100) 

      Fig 87: Pressing Counter Drive Gear
      G05000811Courtesy of © TOYOTA, LICENSE AGREEMENT TMS1002
    2. As shown in the illustration, tighten the 2 bolts evenly and make clearance of approx. 20.0 mm (0.787 in.) between the counter drive gear and the inner race.
      Fig 88: Tightening Bolts
      G04976186Courtesy of © TOYOTA, LICENSE AGREEMENT TMS1002
    3. Using SST, remove the tapered roller bearing.

      SST 09950-60010 (09951 -00590), 09950-00020, 09950-00030, 09950-40011 (09957-04010) 

      Fig 89: Removing Tapered Roller Bearing
      G05000813Courtesy of © TOYOTA, LICENSE AGREEMENT TMS1002
  70. REMOVE TRANSFER DRIVEN PINION FRONT BEARING 
    1. Using a snap ring expander, remove the snap ring.
      Fig 90: Removing Snap Ring
      G05000814Courtesy of © TOYOTA, LICENSE AGREEMENT TMS1002
    2. Using SST and a press, remove the bearing outer race.

      SST 09950-60020 (09951-00910) 

      Fig 91: Removing Bearing Outer Race
      G05841493Courtesy of © TOYOTA, LICENSE AGREEMENT TMS1002
  71. REMOVE NO. 2 BREATHER PLUG 
  72. REMOVE UNDERDRIVE BRAKE RETURN SPRING SUB-ASSEMBLY 
    1. Place SST on the return spring, and compress the return spring with a press.

      SST 09387-00020 

    2. Using a snap ring expander, remove the snap ring.
      Fig 92: Compressing Return Spring
      G04976193Courtesy of © TOYOTA, LICENSE AGREEMENT TMS1002
      NOTE:
      • Stop the press when the spring seat is lowered 1 to 2 mm (0.039 to 0.078 in.) from the snap ring groove, to prevent the spring seat from being deformed.
      • Do not expand the snap ring excessively.
  73. INSPECT UNDERDRIVE BRAKE RETURN SPRING SUB-ASSEMBLY (See  INSPECTION   ) 
  74. REMOVE UNDERDRIVE BRAKE PISTON 
    1. Apply compressed air (392 kPa, 4.0 kgf/cm2 , 57 psi) to the transaxle case to remove the underdrive brake piston.
      Fig 93: Applying Compressed Air To Transaxle Case
      G05000817Courtesy of © TOYOTA, LICENSE AGREEMENT TMS1002
    2. Remove the 2 O-rings from the underdrive brake piston.
      Fig 94: Locating O-Rings
      G05268977Courtesy of © TOYOTA, LICENSE AGREEMENT TMS1002
  75. REMOVE NEEDLE ROLLER BEARING 
    1. Using SST, remove the needle roller bearing from the transaxle case.

      SST 09387-00041 (09387-01010, 09387-01030, 09387-01040) 

      Fig 95: Removing Needle Roller Bearing
      G05583760Courtesy of © TOYOTA, LICENSE AGREEMENT TMS1002
  76. REMOVE UNDERDRIVE CLUTCH DRUM OIL SEAL RING 
    1. Remove the 2 oil seal rings from the transaxle case.
      Fig 96: Identifying Underdrive Clutch Drum Oil Seal Ring
      G04976197Courtesy of © TOYOTA, LICENSE AGREEMENT TMS1002
  77. REMOVE NO. 1 TRANSAXLE CASE PLUG 
    1. Remove the 2 No. 1 transaxle case plugs.
    2. Remove the 2 O-rings from the 2 No. 1 transaxle case plugs.
      Fig 97: Identifying O-Rings And Transaxle Case No 1 Plug
      G04976198Courtesy of © TOYOTA, LICENSE AGREEMENT TMS1002
  78. REMOVE UNDERDRIVE CYLINDRICAL ROLLER BEARING 
    1. Using SST, remove the underdrive cylindrical roller bearing from the transaxle case.

      SST 09514-35011 

      Fig 98: Removing Underdrive Cylindrical Roller Bearing
      G05000822Courtesy of © TOYOTA, LICENSE AGREEMENT TMS1002
  79. REMOVE UNDERDRIVE OUTPUT SHAFT OIL SEAL RING 
    1. Remove the oil seal ring from the transaxle housing.
      Fig 99: Identifying Oil Seal Ring
      G05000823Courtesy of © TOYOTA, LICENSE AGREEMENT TMS1002
  80. REMOVE DIFFERENTIAL GEAR LUBE APPLY TUBE 
    1. Remove the bolt, transaxle apply tube clamp and differential gear lube apply tube from the transaxle housing.
      NOTE: Do not bend the tubes.
      Fig 100: Identifying Bolt, Transaxle Apply Tube Clamp And Differential Gear Lube Apply Tube
      G05000824Courtesy of © TOYOTA, LICENSE AGREEMENT TMS1002