LEMON Manuals: Even more car manuals for everyone: 1960-2025
Home >> Lexus >> 2008 >> RX 400h FWD >> Repair and Diagnosis >> Brakes >> Traction Control >> Brake Control >> Brake Control Power Supply >> Installation
April 5, 2026: LEMON Manuals is launched! Read the announcement.

Brake Control Power Supply: Installation

  1. INSTALL BRAKE CONTROL POWER SUPPLY ASSEMBLY 
    1. Install the 2 brackets with the 4 bolts.

      Torque: 5.0 N*m (51 kgf*cm, 44 in.*lbf) 

      Fig 1: Locating Brake Control Power Supply Assembly Brackets Bolts
      G05277006Courtesy of © TOYOTA, LICENSE AGREEMENT TMS1002
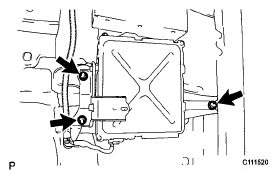
    2. Install the brake control power supply assembly with the 3 nuts.

      Torque: 5.0 N*m (51 kgf*cm, 44 in.*lbf) 

      Fig 2: Locating Brake Control Power Supply Assembly Nuts
      G05859788Courtesy of © TOYOTA, LICENSE AGREEMENT TMS1002
    3. Connect the brake control power supply assembly connector and install the clamp.
  2. INSTALL DECK BOARD NO.1 CHECK 
    1. Install the deck board No.1 check with the 4 nuts.
    2. Fig 3: Locating Brake Control Power Supply Assembly Connector And Clamp
      G05277009Courtesy of © TOYOTA, LICENSE AGREEMENT TMS1002
  3. INSTALL DECK SIDE TRIM BOX RH 
  4. INSTALL DECK SIDE TRIM BOX LH  (See INSTALLATION )
  5. INSTALL REAR FLOOR FINISH PLATE  (See INSTALLATION )
  6. INSTALL DECK NO.2 BOARD SUB-ASSEMBLY  (See INSTALLATION )
  7. INSTALL DECK NO.3 BOARD SUB-ASSEMBLY  (See INSTALLATION )
  8. INSTALL DECK FLOOR BOX REAR  (See INSTALLATION )
  9. INSTALL DECK FLOOR BOX FRONT  (See INSTALLATION )
  10. INSTALL DECK BOARD SUB-ASSEMBLY  (See INSTALLATION )
  11. CHECK AND CLEAR DTC 

    (See DTC CHECK / CLEAR  )

  12. PERFORM INITIALIZATION 

    Some systems need initialization after reconnecting the cable to the negative battery terminal. (See INITIALIZATION )