LEMON Manuals: Even more car manuals for everyone: 1960-2025
Home >> Lexus >> 2008 >> SC 430 >> Repair and Diagnosis (Single Page) >> Brakes >> Traction Control >> Brake Control >> Vehicle Stability Control System >> System Diagram
April 5, 2026: LEMON Manuals is launched! Read the announcement.

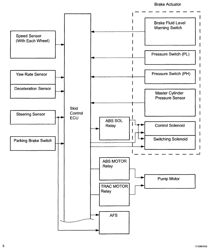
System Diagram

Fig 1: Vehicle Stability Control System Diagram (1 Of 2)
G05290575Courtesy of © TOYOTA, LICENSE AGREEMENT TMS1002
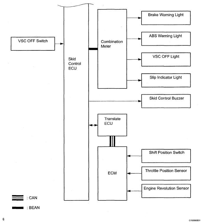
Fig 2: Vehicle Stability Control System Diagram (2 Of 2)
G05290576Courtesy of © TOYOTA, LICENSE AGREEMENT TMS1002