LEMON Manuals: Even more car manuals for everyone: 1960-2025
Home >> Lexus >> 2008 >> SC 430 >> Repair and Diagnosis >> Body & Frame >> Windows >> Windshield/WINDOWGLASS >> Defogger Relay >> On-Vehicle Inspection
April 5, 2026: LEMON Manuals is launched! Read the announcement.

On-Vehicle Inspection

  1. REMOVE DEFOGGER RELAY (Marking: DEFOG) 
    1. Remove the defogger relay from the luggage room junction block.
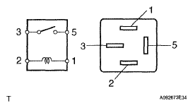
  2. INSPECT DEFOGGER RELAY 
    1. Measure the resistance of the relay.
      Fig 1: Identifying Relay Terminals
      G05293519Courtesy of © TOYOTA, LICENSE AGREEMENT TMS1002

      Standard resistance 

      TESTER CONNECTION SPECIFIED CONDITION

      Tester Connection Specified Condition
      3 - 5 10 kΩ or higher
      3 - 5 Below 1 Ω (when battery voltage is applied to terminals 1 and 2)

      If the result is not as specified, replace the relay.

  3. INSTALL DEFOGGER RELAY