LEMON Manuals: Even more car manuals for everyone: 1960-2025
Home >> Lexus >> 2008 >> SC 430 >> Repair and Diagnosis >> Body & Frame >> Windows >> Windshield/WINDOWGLASS >> Power Window Control System >> Front Passenger Side Door ECU Power Source Circuit >> Inspection Procedure
April 5, 2026: LEMON Manuals is launched! Read the announcement.

Inspection Procedure

  1. INSPECT FUSE (AM1, MPX-B1, MPX-IG, P-DOOR, D/C CUT) 
    1. Remove the AM1 and MPX-IG fuses from the driver side junction block.
    2. Remove the MPX-B1 fuse from the passenger side junction block,
    3. Remove the P-DOOR and D/C CUT fuses from the engine room No. 1 relay block.
    4. Measure the resistance of the fuses.

      Standard resistance: Below 1 Ω 

    NG: REPLACE FUSE 

    OK: Go to Next Step 

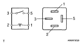
  2. INSPECT RELAY (Marking: IG1) 
    1. Remove the IG1 relay from the driver side junction block.
    2. Measure the resistance of the relay.
      Fig 1: Identifying Resistance Of Relay
      G05293451Courtesy of © TOYOTA, LICENSE AGREEMENT TMS1002

      Standard resistance 

      TESTER CONNECTION SPECIFIED CONDITION

      Tester Connection Specified Condition
      3 - 5 10 kΩ or higher
      3 - 5 Below 1 Ω (when battery voltage is applied to terminals 1 and 2)

    NG: REPLACE RELAY 

    OK: Go to Next Step 

  3. CHECK WIRE HARNESS (DOOR ECU FRONT RH - BATTERY AND BODY GROUND) 
    1. Disconnect the P11 ECU connector.
      Fig 2: Identifying P11 ECU Connector Terminals
      G05293452Courtesy of © TOYOTA, LICENSE AGREEMENT TMS1002
    2. Measure the resistance and voltage of the wire harness side connector.

      Standard resistance 

      TESTER CONNECTION SPECIFIED CONDITION RESISTANCE

      Tester Connection Condition Specified Condition
      P11-1 (GND) - Body ground Always Below 1 Ω

      Standard voltage 

      TESTER CONNECTION SPECIFIED CONDITION VOLTAGE

      Tester Connection Condition Specified Condition
      P11-4 (CPUB) - Body ground Always 10 to 14 V
      P11-6 (BDR) - Body ground Always 10 to 14 V
      P11-5 (SIG) - Body ground Ignition switch ON 10 to 14 V

    NG: REPAIR OR REPLACE HARNESS AND CONNECTOR 

    OK: REPLACE MULTIPLEX NETWORK DOOR ECU FRONT RH