LEMON Manuals: Even more car manuals for everyone: 1960-2025
Home >> Lexus >> 2008 >> SC 430 >> Repair and Diagnosis >> Body & Frame >> Windows >> Windshield/WINDOWGLASS >> Window Defogger System >> Luggage Room Junction Block ECU Power Source Circuit >> Inspection Procedure
April 5, 2026: LEMON Manuals is launched! Read the announcement.

Inspection Procedure

  1. INSPECT FUSE (AMI, MPX-IG, MPX-B3, FUEL OPN, D/C CUT) 
    1. Remove the AM1 and MPX-IG fuses from the driver side junction block.
    2. Remove the MPX-B3 fuse from the passenger side junction block.
    3. Remove the FUEL OPN fuse from the luggage room junction block.
    4. Remove the D/C CUT fuse from the engine room No. 1 relay block.
    5. Measure the resistance of the fuses.

      Standard resistance: Below 1 Ω 

    NG: REPLACE FUSE 

    OK: Go to Next Step 

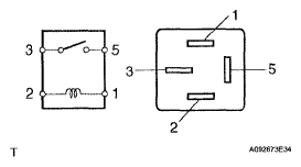
  2. INSPECT IG1 RELAY 
    Fig 1: Identifying IG1 Relay Connector Terminal
    G05293517Courtesy of © TOYOTA, LICENSE AGREEMENT TMS1002
    1. Remove the IG1 relay from the driver side junction block.
    2. Measure the resistance of the relay.

      Standard resistance 

      TESTER CONNECTION SPECIFIED CONDITION

      Tester Connection Specified Condition
      3 - 5 10 kΩ or higher
      3 - 5 Below 1 Ω (when battery voltage is applied to terminals 1 and 2)

    NG: REPLACE IG1 RELAY 

    OK: Go to Next Step 

  3. CHECK WIRE HARNESS (ECU - BATTERY AND BODY GROUND) 
    Fig 2: Identifying Luggage Room Junction Block And Luggage Room Junction Block ECU
    G05293518Courtesy of © TOYOTA, LICENSE AGREEMENT TMS1002
    1. Disconnect the 6A, 6F and 6L junction block connectors.
    2. Disconnect the L24 ECU connector.
    3. Measure the resistance of the wire harness side connectors.

      Standard resistance 

      TESTER CONNECTION SPECIFIED CONDITION RESISTANCE

      Tester Connection Specified Condition
      6A-2 - Body ground Below 1 Ω
      6A-5 - Body ground Below 1 Ω
      L24-5 (SG) - Body ground Below 1 Ω
    4. Measure the voltage of the wire harness side connector.

      Standard resistance 

      TESTER CONNECTION SPECIFIED CONDITION

      Tester Connection Condition Specified Condition
      6F-12 - Body ground Always 10 to 14 V
      6L-1 - Body ground Always 10 to 14 V
      6F-13 - Body ground Ignition switch ON 10 to 14 V

    NG: REPAIR OR REPLACE HARNESS AND CONNECTOR 

    OK: REPLACE LUGGAGE ROOM JUNCTION BLOCK