LEMON Manuals: Even more car manuals for everyone: 1960-2025
Home >> Lexus >> 2008 >> SC 430 >> Repair and Diagnosis >> Brakes >> Traction Control >> Brake Control >> Vehicle Stability Control System >> DTC C1254/54 Pressure Switch Circuit >> Inspection Procedure
April 5, 2026: LEMON Manuals is launched! Read the announcement.

Inspection Procedure

  1. READ VALUE OF TECHSTREAM (PRESSURE SWITCH (PH AND PL)) 
    1. Check the Data List for proper functioning of the hydraulic brake booster pressure switch (PH and PL).
      1. Depress the brake pedal more than 40 times with the ignition switch OFF, and then turn the ignition switch ON and check the pressure switch (PH and PL) condition.

        ABS/VSC/TRAC 

        DIAGNOSTIC NOTE CHART

        Tester Display Measurement item / Range Normal Condition Diagnostic Note
        High Hydraulic Boost SW High Hydraulic brake boost pressure / ON or OFF ON: High pressure
        OFF: Low pressure
        -
        Low Hydraulic Boost SW Low Hydraulic brake boost pressure / ON or OFF ON: High pressure
        OFF: Low pressure
        -

        HINT:

        When pressure in the power supply system is released, the brake pedal becomes easier to depress.

        OK: "OFF" turns to "ON". 

    OK: REPLACE SKID CONTROL ECU 

    NG: Go to Next Step 

  2. CHECK BRAKE BOOSTER PRESSURE SWITCH (PH) 
    1. Disconnect the B1 connector from the brake actuator.
    2. With the ignition switch OFF, depress the brake pedal more than 40 times to decrease the accumulator pressure.

      HINT:

      When pressure in the power supply system is released, the brake pedal becomes easier to depress.

    3. Measure the resistance between terminals PH and PHG of the brake actuator connector.

      Standard resistance: 0.9 to 1.1 kΩ 

    4. Connect the B1 connector to the brake actuator.
    5. Disconnect the B1 connector after the ignition switch has been ON and the pump motor has stopped.
    6. Measure the resistance between terminals PH and PHG of the brake actuator.

      Standard resistance: 0 Ω 

      Fig 1: Identifying Brake Booster Pressure Switch (PH)
      G05290672Courtesy of © TOYOTA, LICENSE AGREEMENT TMS1002

      HINT:

      After the inspection, connect the connector and clear the DTC (see DTC CHECK / CLEAR  ).

    NG: REPLACE BRAKE ACTUATOR 

    OK: Go to Next Step 

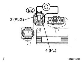
  3. CHECK BRAKE BOOSTER PRESSURE SWITCH (PL) 
    Fig 2: Identifying Brake Booster Pressure Switch (PL)
    G05290673Courtesy of © TOYOTA, LICENSE AGREEMENT TMS1002
    1. Disconnect the B2 connector from the brake actuator.
    2. With the ignition switch OFF, depress the brake pedal more than 40 times to decrease the accumulator pressure.

      HINT:

      When pressure in the power supply system is released, the brake pedal becomes easier to depress.

    3. Measure the resistance between terminals PL and PLG of the brake actuator connector.

      Standard resistance: 5.1 to 6.3 kΩ 

    4. Connect the B2 connector to the brake actuator.
    5. Disconnect the B2 connector after the ignition switch has been ON and the pump motor has stopped.
    6. Measure the resistance between terminals PL and PLG of the brake actuator.

      Standard resistance: 1.0 kΩ 

      HINT:

      After the inspection, connect the connector and clear the DTC (see DTC CHECK / CLEAR  ).

    NG: REPLACE BRAKE ACTUATOR 

    OK: Go to Next Step 

  4. CHECK WIRE HARNESS (BRAKE ACTUATOR - SKID CONTROL ECU AND BODY GROUND) 
    Fig 3: Identifying Wire Harness (Brake Actuator - Skid Control ECU And Body Ground)
    G05290674Courtesy of © TOYOTA, LICENSE AGREEMENT TMS1002
    1. Disconnect the B1 and B2 actuator connectors.
    2. Disconnect the S5 and S8 ECU connectors.
    3. Measure the resistance of the wire harness side connectors.

      Standard resistance 

      TESTER CONNECTION SPECIFIED CONDITION CHART

      Tester Connection Specified Condition
      B2-4 (PL) - S5-9 (PL) Below 1 Ω
      B1-3 (PH) - S8-11 (PH) Below 1 Ω
      B1-5 (PHG) - Body ground Below 1 Ω
      B2-2 (PLG) - Body ground Below 1 Ω

    NG: REPAIR OR REPLACE HARNESS AND CONNECTOR 

    OK: REPLACE SKID CONTROL ECU