LEMON Manuals: Even more car manuals for everyone: 1960-2025
Home >> Lexus >> 2008 >> SC 430 >> Repair and Diagnosis >> Brakes >> Traction Control >> Brake Control >> Vehicle Stability Control System >> Skid Control Buzzer Circuit >> Inspection Procedure
April 5, 2026: LEMON Manuals is launched! Read the announcement.

Inspection Procedure

  1. PERFORM ACTIVE TEST BY TECHSTREAM (SKID CONTROL BUZZER) 
    1. Using the Techstream Active Test, generate a control command and then check that the skid control buzzer operates.

      ABS/VSC/TRAC 

      DIAGNOSTIC NOTE CHART

      Tester Display Test Part Control Range Diagnostic Note
      VSC H/B Warning Buzzer Turn skid control buzzer ON / OFF Buzzer can be heard -

      OK: Skid control buzzer can be heard. 

    OK: REPLACE SKID CONTROL ECU 

    NG: Go to Next Step 

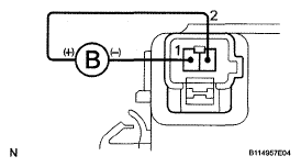
  2. INSPECT SKID CONTROL BUZZER 
    Fig 1: Identifying Skid Control Buzzer
    G05290698Courtesy of © TOYOTA, LICENSE AGREEMENT TMS1002
    1. Disconnect the skid control buzzer connector.
    2. Apply battery voltage to terminals 1 and 2 of the skid control buzzer connector, and then check that the buzzer sounds.

      OK: Buzzer sound can be heard. 

    NG: REPLACE SKID CONTROL BUZZER 

    OK: Go to Next Step 

  3. CHECK WIRE HARNESS (SKID CONTROL BUZZER - SKID CONTROL ECU AND BATTERY) 
    Fig 2: Identifying Wire Harness (Skid Control Buzzer - Skid Control ECU And Battery)
    G05290699Courtesy of © TOYOTA, LICENSE AGREEMENT TMS1002
    1. Disconnect the V8 buzzer connector.
    2. Disconnect the S7 ECU connector.
    3. Measure the resistance of the wire harness side connectors.

      Standard resistance 

      TESTER CONNECTION SPECIFIED CONDITION RESISTANCE CHART

      Tester Connection Specified Condition
      S7-2 (BZ) - V8-1 Below 1 Ω
      S7-2 (BZ) - Body ground 10 kΩ or higher
    4. Turn the ignition switch ON.
    5. Measure the voltage of the wire harness side connectors.

      Standard voltage 

      TESTER CONNECTION SPECIFIED CONDITION VOLTAGE CHART

      Tester Connection Specified Condition
      V8-2 - Body ground 10 to 14 V

    NG: REPAIR OR REPLACE HARNESS AND CONNECTOR 

    OK: REPLACE SKID CONTROL ECU