LEMON Manuals
: Even more car manuals for everyone: 1960-2025
Home
>>
Lexus
>>
2008
>>
SC 430
>>
Repair and Diagnosis
>>
Engine Performance
>>
Engine Control System
>>
SFI System
>>
IACV Control Circuit
>>
Wiring Diagram
April 5, 2026:
LEMON Manuals is launched!
Read the announcement.
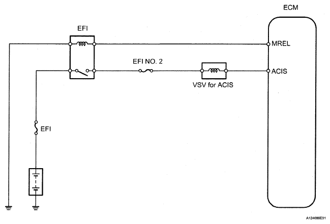
IACV Control Circuit: Wiring Diagram
Fig 1: IACV Control Circuit - Wiring Diagram
Courtesy of © TOYOTA, LICENSE AGREEMENT TMS1002