LEMON Manuals: Even more car manuals for everyone: 1960-2025
Home >> Lexus >> 2008 >> SC 430 >> Repair and Diagnosis >> External Pages >> Different car >> Section 16 (Air Conditioning) >> Air Conditioning System >> ACC Power Source Circuit >> Inspection Procedure
April 5, 2026: LEMON Manuals is launched! Read the announcement.

Inspection Procedure

WARNING: This page is about a different car, the 2007 Lexus SC 430. However, it is still accessible from the selected car via links, so may be relevant.
  1. INSPECT FUSE (RADIO NO. 2, AM1) 
    1. Remove the RADIO NO. 2 fuse from the passenger side junction block.
    2. Remove the AM 1 fuse from the driver side junction block.
    3. Measure the resistance of the fuses.

      Standard resistance: Below 1 Ω 

    NG: REPLACE FUSE 

    OK: Go to next step. 

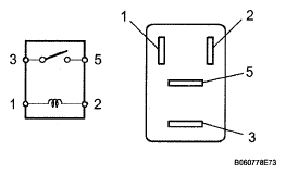
  2. INSPECT RELAY (Marking: ACC) 
    1. Remove the ACC relay from the passenger side junction block.
    2. Measure the resistance of the relay.

      Standard resistance 

      TESTER CONNECTION SPECIFIED CONDITION CHART

      Tester Connection Specified Condition
      3 - 5 10 kΩ or higher
      3 - 5 Below 1 Ω (when battery voltage is applied to terminals 1 and 2)
      Fig 1: Inspecting Relay (IG2 Relay)
      G05291943Courtesy of © TOYOTA, LICENSE AGREEMENT TMS1002

    NG: REPLACE RELAY (ACC) 

    OK: Go to next step. 

  3. CHECK WIRE HARNESS (A/C AMPLIFIER - BATTERY) 
    1. Disconnect the A10 amplifier connector.
      Fig 2: Identifying A10 Amplifier Connector
      G05291944Courtesy of © TOYOTA, LICENSE AGREEMENT TMS1002
    2. Measure the voltage of the wire harness side connector.

      Standard voltage 

      TESTER CONNECTION SPECIFIED CONDITION CHART

      Tester Connection Condition Specified Condition
      A10-9 (ACC) - Body ground Ignition switch ACC 10 to 14 V

    NG: REPAIR OR REPLACE HARNESS OR CONNECTOR 

    OK: PROCEED TO NEXT CIRCUIT INSPECTION SHOWN IN PROBLEM SYMPTOM TABLE