LEMON Manuals: Even more car manuals for everyone: 1960-2025
Home >> Lexus >> 2008 >> SC 430 >> Repair and Diagnosis >> External Pages >> Different car >> Section 31 (Can Communication) >> Can Communication System >> System Diagram
April 5, 2026: LEMON Manuals is launched! Read the announcement.

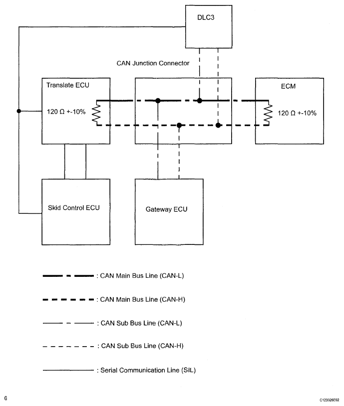
System Diagram

WARNING: This page is about a different car, the 2007 Lexus SC 430. However, it is still accessible from the selected car via links, so may be relevant.
Fig 1: Can Communication System Diagram
G05294540Courtesy of © TOYOTA, LICENSE AGREEMENT TMS1002

HINT:

The ECM uses the CAN communication system instead of the conventional communication line (SIL) to perform DTC communication.