LEMON Manuals: Even more car manuals for everyone: 1960-2025
Home >> Lexus >> 2008 >> SC 430 >> Repair and Diagnosis >> External Pages >> Different car >> Section 38 (Lighting) >> Lighting System >> Headlight Relay Circuit >> Inspection Procedure
April 5, 2026: LEMON Manuals is launched! Read the announcement.

Inspection Procedure

WARNING: This page is about a different car, the 2007 Lexus SC 430. However, it is still accessible from the selected car via links, so may be relevant.
  1. PERFORM ACTIVE TEST BY INTELLIGENT TESTER (HEADLIGHT RELAY) 
    1. Select the ACTIVE TEST, use the intelligent tester (with CAN VIM) to generate a control command, and then check that the headlight illuminates.

      Driver side junction block ECU 

      ACTIVE TEST DETAIL - DRIVER SIDE JUNCTION BLOCK ECU

      Item Test Details Diagnostic Note
      HEAD LIGHT Headlight relay ON / OFF -

      OK: Headlight illuminates. 

    OK: PROCEED TO NEXT CIRCUIT INSPECTION SHOWN IN PROBLEM SYMPTOMS TABLE 

    NG: Go to Next step 

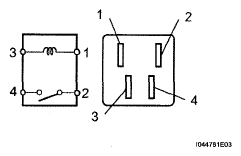
  2. INSPECT RELAY (Marking: HEAD LP) 
    1. Remove the HEAD LP relay from the engine room No. 1 relay block.
      Fig 1: Identifying Head LP Relay Connector Terminals
      G05292610Courtesy of © TOYOTA, LICENSE AGREEMENT TMS1002
    2. Measure the resistance of the relay.

      Standard resistance 

      RESISTANCE SPECIFICATION

      Tester Connection Specified Condition
      1 - 2 10 kΩ or higher
      1 - 2 Below 1Ω (when battery voltage is applied to terminals 3 and 4)

    NG: REPLACE RELAY 

    OK: Go to Next step 

  3. CHECK WIRE HARNESS (DRIVER SIDE JUNCTION BLOCK ECU - BODY GROUND) 
    Fig 2: Identifying Driver Side Junction Block ECU Connector Terminals
    G05292611Courtesy of © TOYOTA, LICENSE AGREEMENT TMS1002
    1. Disconnect the D2 ECU connector.
    2. Using a service wire, connect D2-7 (HRLY) on the wire harness side and body ground.
    3. Check that the headlight illuminates.

      OK: Headlight illuminates. 

    NG: REPAIR OR REPLACE HARNESS AND CONNECTOR 

    OK: PROCEED TO NEXT CIRCUIT INSPECTION SHOWN IN PROBLEM SYMPTOMS TABLE