LEMON Manuals: Even more car manuals for everyone: 1960-2025
Home >> Lexus >> 2008 >> SC 430 >> Repair and Diagnosis >> External Pages >> Different car >> Section 38 (Lighting) >> Lighting System >> System Diagram
April 5, 2026: LEMON Manuals is launched! Read the announcement.

System Diagram

WARNING: This page is about a different car, the 2007 Lexus SC 430. However, it is still accessible from the selected car via links, so may be relevant.
Fig 1: Front Lighting System Diagram
G05292563Courtesy of © TOYOTA, LICENSE AGREEMENT TMS1002
Fig 2: Rear Lighting System Diagram
G05292564Courtesy of © TOYOTA, LICENSE AGREEMENT TMS1002
Fig 3: Illumination Lighting System Diagram (1 Of 2)
G05292565Courtesy of © TOYOTA, LICENSE AGREEMENT TMS1002
Fig 4: Illumination Lighting System Diagram (2 Of 2)
G05292566Courtesy of © TOYOTA, LICENSE AGREEMENT TMS1002
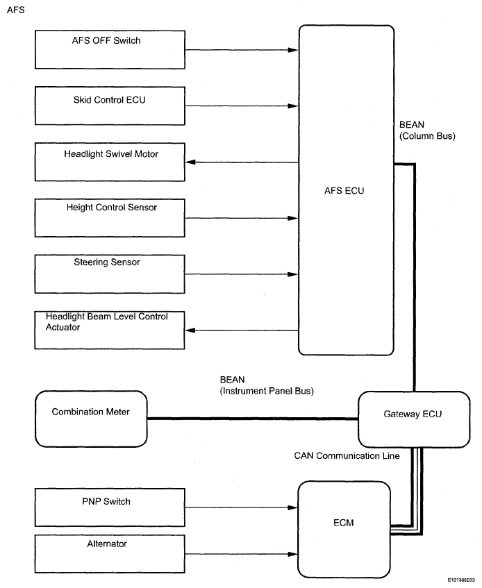
Fig 5: AFS System Diagram
G05292567Courtesy of © TOYOTA, LICENSE AGREEMENT TMS1002