LEMON Manuals: Even more car manuals for everyone: 1960-2025
Home >> Lexus >> 2008 >> SC 430 >> Repair and Diagnosis >> External Pages >> Different car >> Section 46 (Navigation) >> Navigation System >> DTC Check / Clear
April 5, 2026: LEMON Manuals is launched! Read the announcement.

DTC Check / Clear

WARNING: This page is about a different car, the 2007 Lexus SC 430. However, it is still accessible from the selected car via links, so may be relevant.

HINT:

  1. START DIAGNOSTIC MODE 
    1. There are 2 methods to start diagnostic mode.
    2. Method 1
      1. Start the engine.
      2. While pressing and holding "INFO" switch, operate light control switch in the following order: OFF → TAIL → OFF → TAIL → OFF → TAIL → OFF.
      3. The diagnostic mode starts and the service check screen ("System Check Mode") will be displayed. Service inspection starts automatically and the result will be displayed.
        Fig 1: Pressing Info Switch
        G05293248Courtesy of © TOYOTA, LICENSE AGREEMENT TMS1002
    3. Method 2
      1. Start the engine.
      2. Switch to the "Display Check" screen.
      3. From the display adjustment screen, touch the corners of the screen in the following order: upper left → lower left → upper left → lower left → upper left → lower left.
      4. The diagnostic mode starts and "Service Check" screen will be displayed. Service inspection starts automatically and the result will be displayed.
        Fig 2: Display Check Screen - Touch Point
        G05293249Courtesy of © TOYOTA, LICENSE AGREEMENT TMS1002
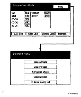
    4. Diagnosis MENU
      1. Diagnostic screen will be displayed by pressing the menu switch on the service check screen.
  2. FINISH DIAGNOSTIC MODE 
    1. There are 2 methods to exit. Use one of them.
      1. Turn the ignition switch OFF.
      2. Press and hold the "DISPLAY" switch for 3 seconds.
  3. CHECK DTC 

    HINT:

    Illustrations may differ from the actual vehicle depending on the device settings and options.

    1. Start the diagnostic mode.
      Fig 3: Diagnostic Tool Display - System Check Mode Screen
      G05293250Courtesy of © TOYOTA, LICENSE AGREEMENT TMS1002
    2. Read the system check result.
      1. If all check results of devices are "EXCH", "CHEK" or "Old", touch the display to check the contents on the "Unit Check Mode" screen and record the data on the customer problem analysis check sheet.

        HINT:

        • If all check results are "OK", go to the communication DTC check.
        • If a device name is not known, its physical address is displayed.
          Fig 4: Diagnostic Tool Display - System Check Mode And Unit Check Mode Screen
          G05293251Courtesy of © TOYOTA, LICENSE AGREEMENT TMS1002

        HINT:

        If "EXCH", "CHEK", "Old" and "OK" exist, press the service switch to return to the "System Check Mode". Then, check the "Unit Check Mode" screen and record the data on the customer problem analysis check sheet.

        Fig 5: Diagnostic Tool Display - Unit Check Mode And System Check Mode Screen
        G05293252Courtesy of © TOYOTA, LICENSE AGREEMENT TMS1002
    3. Read the communication diagnostic check result.
      1. Return to the "System Check Mode", and press "LAN Mon" switch to enter the LAN monitor screen.
        Fig 6: Diagnostic Tool Display - System Check Mode And LAN Monitor Screen
        G05293253Courtesy of © TOYOTA, LICENSE AGREEMENT TMS1002
      2. If the result is "CHEK" or "Old", touch the result switch to check the contents on the individual communication diagnostic screen and record the data on the customer problem analysis check sheet.

        HINT:

        • If all check results are "NoErr", the system judges that no DTC exists.
        • The sub-code (relevant device) will be indicated by its physical address.
          Fig 7: Diagnostic Tool Display - LAN Monitor Screen
          G05293254Courtesy of © TOYOTA, LICENSE AGREEMENT TMS1002

        HINT:

        If check results of devices are "CHEK", press the "Service" switch to return to the original "LAN Monitor" screen. Then, check the individual communication diagnostic screen for the next device and record the data on the customer problem analysis check sheet.

  4. CLEAR / RECHECK DTC 

    HINT:

    Illustrations may differ from the actual vehicle depending on the device settings and options. Therefore, some detailed areas may not be shown exactly the same as on the actual vehicle.

    1. Start the diagnostic mode.
      Fig 8: Diagnostic Tool Display - LAN Monitor Screen
      G05293255Courtesy of © TOYOTA, LICENSE AGREEMENT TMS1002
    2. Clear DTC.
      1. Press the "Code CLR" switch for 3 seconds.
      2. Check result is cleared.
        Fig 9: Diagnostic Tool Display - Code CLR
        G05293256Courtesy of © TOYOTA, LICENSE AGREEMENT TMS1002
    3. Recheck DTC.
      1. Press the "Recheck" switch.
        Fig 10: Diagnostic Tool Display - Recheck
        G05293257Courtesy of © TOYOTA, LICENSE AGREEMENT TMS1002
      2. Confirm that all diagnostic codes are "OK" when the check results are displayed. If a code other than "OK" is displayed, troubleshoot again.
        Fig 11: Diagnostic Tool Display - OK
        G05293258Courtesy of © TOYOTA, LICENSE AGREEMENT TMS1002
      3. Press the "LAN Mon" switch to change to "LAN Monitor" mode.
        Fig 12: Diagnostic Tool Display - LAN Monitor
        G05293259Courtesy of © TOYOTA, LICENSE AGREEMENT TMS1002
      4. Confirm that all diagnostic codes are "No Err". If a code other than "No Err" is displayed, troubleshoot again.