LEMON Manuals: Even more car manuals for everyone: 1960-2025
Home >> Lexus >> 2008 >> SC 430 >> Repair and Diagnosis >> External Pages >> Different car >> Section 9 (Engine Mechanical) >> Engine Unit >> Inspection
April 5, 2026: LEMON Manuals is launched! Read the announcement.

Engine Unit: Inspection

WARNING: This page is about a different car, the 2007 Lexus SC 430. However, it is still accessible from the selected car via links, so may be relevant.
  1. CHECK CYLINDER HEAD AND CAMSHAFT 
    1. Check the cylinder head and camshaft (see INSPECTION  ).
  2. INSPECT WATER PUMP ASSEMBLY (See  INSTALLATION   ) 
  3. INSPECT CYLINDER BLOCK SUB-ASSEMBLY 
    1. Clean the cylinder block.
      1. Using a gasket scraper, remove all the gasket material from the top surface of the cylinder block.
      2. Using a soft brush and solvent, thoroughly clean the cylinder block.
        NOTE: If the cylinder is washed at high temperatures, the cylinder liner sticks out beyond the cylinder block. Always wash the cylinder block at a temperature of 45°C (113°F) or less.
        Fig 1: Cleaning Cylinder Block
        G05289063Courtesy of © TOYOTA, LICENSE AGREEMENT TMS1002
    2. Inspect for flatness.
      1. Using a precision straightedge and feeler gauge, measure the surfaces contacting the cylinder head and main bearing cap for warpage.

        Maximum warpage: 0.07 mm (0.0028 in.) 

        If the warpage is greater than the maximum, replace the cylinder block.

        Fig 2: Measuring Surfaces Contacting Cylinder Head And Main Bearing Cap
        G05289064Courtesy of © TOYOTA, LICENSE AGREEMENT TMS1002
    3. Visually check the cylinder for vertical scratches. If deep scratches are present, replace the cylinder block.
      Fig 3: Identifying Cylinder Block
      G05289065Courtesy of © TOYOTA, LICENSE AGREEMENT TMS1002
    4. Inspect the cylinder bore diameter.

      HINT:

      There are 3 sizes of the standard cylinder bore diameter, marked "1", "2" and "3" accordingly. The mark is stamped on the top of the cylinder block. If deep scratches are present, replace the cylinder block.

      Fig 4: Checking Cylinder Bore Diameter
      G05289066Courtesy of © TOYOTA, LICENSE AGREEMENT TMS1002
      1. Using a cylinder gauge, measure the cylinder bore diameter at positions A and B in the thrust and axial directions.

        Standard diameter 

        STANDARD DIAMETER SPECIFICATION

        Number Mark Specified Condition
        Mark 1 91.000 to 91.008 mm (3.5827 to 3.5830 in.)
        Mark 2 91.008 to 91.021 mm (3.5830 to 3.5835 in.)
        Mark 3 91.021 to 91.029 mm (3.5835 to 3.5838 in.)

        Maximum diameter: 91.149 mm (3.5885 in.) 

        If the average of the diameter is greater than the maximum, replace the cylinder block.

        Fig 5: Measuring Cylinder Bore Diameter At Positions A And B In Thrust And Axial Directions
        G05289067Courtesy of © TOYOTA, LICENSE AGREEMENT TMS1002

        HINT:

        If the wear is less than 0.2 mm (0.008 in.), using a ridge reamer, grind the top of the cylinder.

        Fig 6: Grinding Top Of Cylinder
        G05289068Courtesy of © TOYOTA, LICENSE AGREEMENT TMS1002
  4. INSPECT PISTON SUB-ASSEMBLY WITH PIN 
    1. Clean the piston.
      1. Using a gasket scraper, remove the carbon from the piston top.
        Fig 7: Inspecting Piston Sub-Assembly With Pin
        G05289069Courtesy of © TOYOTA, LICENSE AGREEMENT TMS1002
      2. Using a groove cleaning tool or broken ring, clean the piston ring grooves.
        Fig 8: Cleaning Piston Ring Grooves
        G05289070Courtesy of © TOYOTA, LICENSE AGREEMENT TMS1002
      3. Using solvent and a brush, thoroughly clean the piston.
        NOTE: Do not use a wire brush.
        Fig 9: Cleaning Piston
        G05289071Courtesy of © TOYOTA, LICENSE AGREEMENT TMS1002
    2. Inspect the piston oil clearance.

      HINT:

      There are 3 standard diameter sizes, marked "1", "2" and "3". The mark is stamped on the piston top.

      1. Using a micrometer, measure the piston diameter at right angles to the piston pin center line, 28.1 mm (1.106 in.) from the piston head.

        Piston diameter 

        PISTON DIAMETER SPECIFICATION

        Number Mark Specified Condition
        Mark 1 90.910 to 90.920 mm (3.5791 to 3.5795 in.)
        Mark 2 90.920 to 90.928 mm (3.5795 to 3.5798 in.)
        Mark 3 90.928 to 90.938 mm (3.5798 to 3.5802 in.)
      2. Measure the cylinder bore diameter in the thrust directions.
        Fig 10: Checking Piston Diameter
        G05289072Courtesy of © TOYOTA, LICENSE AGREEMENT TMS1002
      3. Subtract the piston diameter measurement from the cylinder bore diameter measurement.

        Standard oil clearance: 0.080 to 0.101 mm (0.0031 to 0.0040 in.) 

        Maximum oil clearance: 0.124 mm (0.0049 in.) 

        If the oil clearance is greater than the maximum, replace all 8 pistons. If necessary, replace the cylinder block.

        HINT:

        Use a new cylinder block

        • Use a piston with the same number mark as the cylinder diameter marked on the cylinder block.
        • The shape of the piston varies for the LH and RH banks. The LH piston is marked with a "3L" and the RH piston is marked with a "3R".
          Fig 11: Measuring Cylinder Bore Diameter In Thrust Directions
          G05289073Courtesy of © TOYOTA, LICENSE AGREEMENT TMS1002
    3. Inspect the piston pin fit.
      1. At 60°C (140°F), check that the piston pin can be pushed into the piston pin hole with your thumb.
        Fig 12: Inspecting Piston Pin Fit
        G05289074Courtesy of © TOYOTA, LICENSE AGREEMENT TMS1002
    4. Using a micrometer, measure the piston pin diameter.

      Piston pin diameter: 21.997 to 22.006 mm (0.8660 to 0.8664 in.) 

      Fig 13: Measuring Piston Pin Diameter
      G05289075Courtesy of © TOYOTA, LICENSE AGREEMENT TMS1002
  5. INSPECT PISTON RING SET 
    1. Inspect the piston ring groove clearance.
      1. Using a feeler gauge, measure the clearance between a new piston ring and the wall of the ring groove.

        Ring groove clearance 

        RING GROOVE CLEARANCE REFERENCE

        Piston Ring Specified Condition
        No. 1 0.030 to 0.080 mm (0.0012 to 0.0031 in.)
        No. 2 0.020 to 0.060 mm (0.0008 to 0.0024 in.)
        Fig 14: Inspecting Piston Ring Groove Clearance
        G05289076Courtesy of © TOYOTA, LICENSE AGREEMENT TMS1002

        If the clearance is not as specified, replace the piston.

    2. Inspect the piston ring end gap.
      1. Insert the piston ring into the cylinder bore.
      2. Using a piston, push the piston ring a little beyond the bottom of the ring travel 105 mm (4.13 in.) from the top of the cylinder block.
        Fig 15: Inserting Piston Ring Into Cylinder Bore
        G05289077Courtesy of © TOYOTA, LICENSE AGREEMENT TMS1002
      3. Using a feeler gauge, measure the end gap.

        Standard end gap 

        END GAP REFERENCE

        End Gap Specified Condition
        No. 1 piston ring 0.300 to 0.400 mm (0.0118 to 0.0157 in.)
        No. 2 piston ring 0.400 to 0.500 mm (0.0157 to 0.0197 in.)
        Oil ring (Side rail) 0.150 to 0.500 mm (0.0059 to 0.0197 in.)
        Fig 16: Measuring End Gap
        G05289078Courtesy of © TOYOTA, LICENSE AGREEMENT TMS1002

        Maximum end gap 

        END GAP REFERENCE

        End Gap Specified Condition
        No. 1 piston ring 1.10 mm (0.0433 in.)
        No. 2 piston ring 1.20 mm (0.0472 in.)
        Oil ring (Side rail) 1.10 mm (0.0433 in.)

        If the end gap is greater than the maximum, replace the piston ring. If the end gap is greater than the maximum even with a new piston ring, replace the cylinder block.

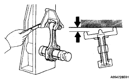
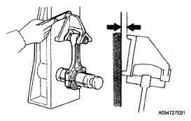
  6. INSPECT CONNECTING ROD SUB-ASSEMBLY 
    1. Using a rod aligner and feeler gauge, check the connecting rod alignment.
      1. Check if the connecting rod is bent.

        Maximum bend: 0.05 mm (0.0020 in.) per 100 mm (3.94 in.) 

        If the bend is greater than the maximum, replace the connecting rod.

        Fig 17: Checking Connecting Rod Alignment
        G05289079Courtesy of © TOYOTA, LICENSE AGREEMENT TMS1002
      2. Check if the connecting rod is twisted.

        Maximum twist: 0.15 mm (0.0059 in.) per 100 mm (3.94 in.) 

        If the twist is greater than the maximum, replace the connecting rod sub-assembly.

        Fig 18: Checking Connecting Rod Twist
        G05289080Courtesy of © TOYOTA, LICENSE AGREEMENT TMS1002
  7. INSPECT PISTON PIN OIL CLEARANCE 
    1. Inspect the piston pin oil clearance.
      1. Using a caliper gauge, measure the inside diameter of the connecting rod bushing.

        Bushing inside diameter: 22.005 to 22.014 mm (0.8663 to 0.8667 in.) 

        If the bushing inside diameter is not as specified, check the oil clearance.

      2. Subtract the piston pin diameter measurement from the bush inside diameter measurement.

        Standard oil clearance: 0.005 to 0.011 mm (0.0002 to 0.0004 in.) 

        Maximum oil clearance: 0.05 mm (0.0020 in.) 

        If the oil clearance is greater than the maximum, replace the bush. If necessary, replace the piston and piston pin with a new piston and pin set.

        Fig 19: Measuring Inside Diameter Of Connecting Rod Bush
        G05289081Courtesy of © TOYOTA, LICENSE AGREEMENT TMS1002
  8. INSPECT CONNECTING ROD BOLT 
    1. Using a vernier caliper, measure the tension portion of the connecting rod bolt.

      Standard diameter: 7.200 to 7.300 mm (0.2835 to 0.2874 in.) 

      Maximum diameter: 7.00 mm (0.2756 in.) 

      If the diameter is less than the minimum, replace the bolt.

      Fig 20: Measuring Tension Portion Of Connecting Rod Bolt
      G05289082Courtesy of © TOYOTA, LICENSE AGREEMENT TMS1002
  9. INSPECT CRANKSHAFT BEARING CAP BOLT 
    1. Using a vernier caliper, measure the tension portion diameter of the main bearing cap bolt.

      Standard diameter: 7.500 to 7.600 mm (0.2953 to 0.2992 in.) 

      Maximum diameter: 7.20 mm (0.2835 in.) 

      If the diameter is less than the minimum, replace the cap bolt.

      Fig 21: Measuring Tension Portion Diameter Of Main Bearing Cap Bolt
      G05289083Courtesy of © TOYOTA, LICENSE AGREEMENT TMS1002
  10. INSPECT CRANKSHAFT 
    1. Inspect the circle runout.
      1. Place the crankshaft on V-blocks.
      2. Using a dial indicator, measure the circle runout at the center journal.

        Maximum circle runout: 0.08 mm (0.0031 in.) 

        If the circle runout is greater the maximum, replace the crankshaft.

        Fig 22: Inspecting Crankshaft
        G05289084Courtesy of © TOYOTA, LICENSE AGREEMENT TMS1002
    2. Inspect the main journals and crank pins.
      1. Using a micrometer, measure the diameter of each main journal and crank pin.

        Main journal diameter: 66.988 to 67.000 mm (2.6373 to 2.6378 in.) 

        Crank pin diameter: 51.982 to 52.000 mm (2.0465 to 2.0472 in.) 

        If the diameter is not as specified, check the oil clearance. If necessary, replace the crankshaft.

      2. Check each main journal and crank pin for taper and out of round as shown in the illustration.

        Maximum taper and out of round: 0.02 mm (0.0008 in.) 

        If the taper and out of round is greater than the maximum, replace the crankshaft.

        Fig 23: Inspecting Main Journals And Crank Pins
        G05289085Courtesy of © TOYOTA, LICENSE AGREEMENT TMS1002