LEMON Manuals: Even more car manuals for everyone: 1960-2025
Home >> Lexus >> 2008 >> SC 430 >> Repair and Diagnosis >> External Pages >> Different car >> Section 9 (Engine Mechanical) >> Engine Unit >> Reassembly
April 5, 2026: LEMON Manuals is launched! Read the announcement.

Engine Unit: Reassembly

WARNING: This page is about a different car, the 2007 Lexus SC 430. However, it is still accessible from the selected car via links, so may be relevant.
  1. INSTALL STUD BOLT 
    Fig 1: Identifying Stud Bolt Specification
    G05289097Courtesy of © TOYOTA, LICENSE AGREEMENT TMS1002
  2. INSTALL STRAIGHT PIN 
    Fig 2: Identifying Straight Pin Diameter
    G05289098Courtesy of © TOYOTA, LICENSE AGREEMENT TMS1002
  3. INSTALL RING PIN 
    Fig 3: Identifying Ring Pin Diameter
    G05289099Courtesy of © TOYOTA, LICENSE AGREEMENT TMS1002
  4. INSTALL PISTON SUB-ASSEMBLY WITH PIN 
    1. Using a small screwdriver, install a new snap ring on one side of the piston pin hole.
      Fig 4: Installing Piston Sub-Assembly With Pin
      G05289100Courtesy of © TOYOTA, LICENSE AGREEMENT TMS1002
    2. Gradually heat the piston to about 60°C (140°F).
      Fig 5: Heating Piston
      G05289101Courtesy of © TOYOTA, LICENSE AGREEMENT TMS1002
    3. Coat the piston pin with engine oil.
    4. The piston's front mark and the connecting rod's outside mark should face the same direction, as shown in the illustration.
      NOTE: The installation directions of the piston and connecting rod are different for the LH and RH banks. The LH piston is marked with a "3L" and the RH piston is marked with a "3R".
    5. Align the piston pin holes of the piston and connecting rod, and push in the piston pin with your thumb.
      Fig 6: Identifying Piston Front Mark
      G05289102Courtesy of © TOYOTA, LICENSE AGREEMENT TMS1002
    6. Check the fit between the piston and piston pin.
      1. Try to move the piston back and forth on the piston pin.
        Fig 7: Checking Piston And Piston Pin
        G05289103Courtesy of © TOYOTA, LICENSE AGREEMENT TMS1002
    7. Using a small screwdriver, install a new snap ring on the other side of the piston pin hole.
      Fig 8: Installing Snap Ring On Other Side Of Piston Pin Hole
      G05289104Courtesy of © TOYOTA, LICENSE AGREEMENT TMS1002
    8. Install the oil ring expander and 2 side rails by hand.
    9. Using a piston ring expander, install the No. 1 and No. 2 piston rings with the code mark facing upward.

      Code mark 

      CODE MARK SPECIFICATION

      Piston Ring Code Mark
      No. 1 1R
      No. 2 2R
      Fig 9: Installing Oil Ring Expander And 2 Side Rails By Hand
      G05289105Courtesy of © TOYOTA, LICENSE AGREEMENT TMS1002
      Fig 10: Identifying Piston Rings Installing Positions
      G05289106Courtesy of © TOYOTA, LICENSE AGREEMENT TMS1002
    10. Position the piston rings so that the ring ends are as shown in the illustration.
      NOTE: Do not align the ring ends.
  5. INSTALL CONNECTING ROD BEARING 
    1. Align the bearing claw with the groove of the connecting rod or connecting cap.
    2. Install the bearings in the connecting rod and connecting rod cap.
      Fig 11: Aligning Bearing Claw With Groove Of Connecting Cap
      G05289107Courtesy of © TOYOTA, LICENSE AGREEMENT TMS1002
  6. INSTALL CRANKSHAFT BEARING 

    HINT:

    • Main bearings come in widths of 19.5 mm (0.768 in.) and 22.5 mm (0.886 in.). Install the 22.5 mm (0.886 in.) bearings in the No. 1 and No. 5 cylinder block journal positions with the crankshaft bearing cap. Install the 19.5 mm (0.768 in.) bearings in the other positions.
    • Upper bearings have an oil groove and oil holes; lower bearings do not.
      Fig 12: Identifying Ring Code Mark
      G05289108Courtesy of © TOYOTA, LICENSE AGREEMENT TMS1002
    1. Align the bearing claw with the claw groove of the cylinder block, and push in the 5 upper bearings.
      Fig 13: Identifying Piston Code Mark Specification
      G05289109Courtesy of © TOYOTA, LICENSE AGREEMENT TMS1002
    2. Align the bearing claw with the claw groove of the crankshaft bearing cap, and push in the 5 lower bearings.

      HINT:

      A number is marked on each bearing cap to indicate the installation position.

      Fig 14: Aligning Bearing Claw With Claw Groove Of Crankshaft Bearing Cap
      G05289110Courtesy of © TOYOTA, LICENSE AGREEMENT TMS1002
  7. INSTALL CRANKSHAFT THRUST WASHER 
    1. Install the 2 thrust washers under the No. 3 journal position of the cylinder block with the oil grooves facing outward.
      Fig 15: Installing Thrust Washers Under No 3 Journal Position Of Cylinder Block
      G05289111Courtesy of © TOYOTA, LICENSE AGREEMENT TMS1002
    2. Install the 2 thrust washers on the No. 3 bearing cap with the grooves facing outward.
      Fig 16: Installing Thrust Washers On No 3 Bearing Cap With Grooves
      G05289112Courtesy of © TOYOTA, LICENSE AGREEMENT TMS1002
  8. INSTALL CRANKSHAFT 
    1. Place the crankshaft on the cylinder block.
      Fig 17: Placing Crankshaft On Cylinder Block
      G05289113Courtesy of © TOYOTA, LICENSE AGREEMENT TMS1002
    2. Install the 5 crankshaft bearing caps in their proper locations.

      HINT:

      Place the bearing caps level and let them return to their original positions by their own weight.

      NOTE: Do not install the bearing cap by tapping it.
      Fig 18: Installing Crankshaft Bearing Caps
      G05289114Courtesy of © TOYOTA, LICENSE AGREEMENT TMS1002
    3. Install the crankshaft bearing cap bolts.

      HINT:

      If any one of the bearing cap bolts is broken or deformed, replace it.

      1. Apply a light coat of engine oil on the threads and under the crankshaft bearing cap bolts.
      2. Install and uniformly tighten the 20 crankshaft bearing cap bolts in several passes in the sequence shown in the illustration.

        Torque: 27 N*m (275 kgf*cm, 20 ft.*lbf) 

        If any of the bearing cap bolts cannot meet the torque specification, replace the bearing cap bolt.

        Fig 19: Identifying Tightening Sequence Of Crankshaft Bearing Cap Bolts
        G05289115Courtesy of © TOYOTA, LICENSE AGREEMENT TMS1002
      3. Mark the front of each crankshaft bearing cap bolt's head with paint.
      4. Tighten the crankshaft bearing cap bolts another 90° as shown in the illustration.
      5. Check that the painted mark is now at a 90° angle to the front.
        Fig 20: Retightening Crankshaft Bearing Cap Bolts By 90°
        G05289116Courtesy of © TOYOTA, LICENSE AGREEMENT TMS1002
      6. Install a new seal washer to the crankshaft bearing cap bolt.
      7. Install and uniformly tighten the 10 crankshaft bearing cap bolts.

        Torque: 49 N*m (500 kgf*cm, 36 ft.*lbf) 

    4. Check that the crankshaft turns smoothly.
    5. Check the crankshaft thrust clearance.
      Fig 21: Locating Crankshaft Bearing Cap Bolts
      G05289117Courtesy of © TOYOTA, LICENSE AGREEMENT TMS1002
  9. INSTALL PISTON AND CONNECTING ROD 
    1. Using a piston ring compressor, push the correctly numbered piston and connecting rod assemblies into each cylinder with the front mark of the piston facing forward.
      NOTE: The shape of the piston varies for the LH and RH banks. The LH piston is marked with a "3L" and the RH piston is marked with a "3R".
      Fig 22: Installing Piston And Connecting Rod
      G05289118Courtesy of © TOYOTA, LICENSE AGREEMENT TMS1002
    2. Place the connecting rod cap on the connecting rod.
      1. Match the numbered connecting rod cap with the connecting rod.
      2. Align the pin groove of the connecting rod cap with the pins of the connecting rod, and install the connecting rod cap.
        Fig 23: Placing Connecting Rod Cap On Connecting Rod
        G05289119Courtesy of © TOYOTA, LICENSE AGREEMENT TMS1002
      3. Check that the outside mark of the connecting rod cap is facing in the correct direction.
        Fig 24: Checking Outside Mark Of Connecting Rod Cap
        G05289120Courtesy of © TOYOTA, LICENSE AGREEMENT TMS1002
    3. Install the connecting rod cap bolts.

      HINT:

      If any one of the connecting rod cap bolts is broken or deformed, replace it.

      1. Apply a light coat of engine oil on the threads and under the heads of the connecting rod cap bolts.
      2. Install and alternately tighten the 2 connecting rod cap bolts in several passes.

        Torque: 24.5 N*m (250 kgf*cm, 18 ft.*lbf) 

        If any of the connecting rod cap bolts cannot meet the torque specification, replace the connecting rod cap bolts.

        Fig 25: Installing Connecting Rod Cap Bolts
        G05289121Courtesy of © TOYOTA, LICENSE AGREEMENT TMS1002
      3. Mark the front of each connecting cap bolt with paint.
      4. Tighten the cap bolts another 90° as shown in the illustration.
      5. Check that the painted mark is now at a 90° angle to the front.
    4. Check that the crankshaft turns smoothly.
    5. Check the connecting rod thrust clearance.
  10. INSTALL WATER SEAL PLATE 
    1. Remove any old packing (FIPG) material.
      Fig 26: Retightening Cap Bolts 90°
      G05289122Courtesy of © TOYOTA, LICENSE AGREEMENT TMS1002
    2. Apply seal packing to the seal plate as shown in the illustration.

      Seal packing: Toyota Genuine Seal Packing Black, Three Bond 1324 or equivalent 

      Seal diameter: 2 to 3 mm (0.08 to 0.12 in.) 

      NOTE:
      • Remove any oil from the contact surface.
      • Install the seal plate within 3 minutes after applying seal packing.
      • Do not start the engine for at least 2 hours after installing the seal plate.
        Fig 27: Identifying Seal Packing To Seal Plate
        G05289123Courtesy of © TOYOTA, LICENSE AGREEMENT TMS1002
    3. Install the seal plate with the 2 nuts. Alternately tighten the nuts in several passes.

      Torque: 14 N*m (142 kgf*cm, 10 ft.*lbf) 

  11. INSTALL CYLINDER BLOCK WATER DRAIN COCK SUB-ASSEMBLY 
    1. Apply seal packing to 2 or 3 threads.

      Seal packing: Toyota Genuine Seal Packing 1282B, Three Bond 1282B or Equivalent 

      Fig 28: Applying Seal Packing To 2 Or 3 Threads
      G05289124Courtesy of © TOYOTA, LICENSE AGREEMENT TMS1002
    2. Install the RH and LH drain cocks.
      Fig 29: Installing RH And LH Drain Cocks
      G05289125Courtesy of © TOYOTA, LICENSE AGREEMENT TMS1002

      Torque: 49 N*m (500 kgf*cm, 36 ft.*lbf) 

      HINT:

      After applying the specified torque, rotate each drain cock clockwise until its drain port is facing forward.

  12. INSTALL CAMSHAFT SUB GEAR (See  REPLACEMENT   ) 
  13. INSTALL CAMSHAFT TIMING TUBE ASSEMBLY (See  INSTALLATION   ) 
  14. INSTALL SPARK PLUG TUBE (See  INSTALLATION   ) 
  15. INSTALL NO. 1 TIGHT PLUG (See  INSTALLATION   ) 
  16. INSTALL RING PIN (See  INSTALLATION   ) 
  17. INSTALL STUD BOLT (See  INSTALLATION   ) 
  18. INSTALL VALVE STEM OIL SEAL (See  INSTALLATION   ) 
  19. INSTALL INTAKE VALVE (See  INSTALLATION   ) 
  20. INSTALL EXHAUST VALVE (See  INSTALLATION   ) 
  21. INSTALL VALVE LIFTER (See  INSTALLATION   ) 
  22. INSTALL ENGINE REAR OIL SEAL RETAINER 
    1. Remove any oil packing (FIPG) material.
    2. Apply seal packing to the oil seal retainer as shown in the illustration.

      Seal packing: Toyota Genuine Seal Packing Black, Three Bond 1324 or equivalent 

      Seal diameter: 3 to 4 mm (0.12 to 0.16 in.) 

      NOTE:
      • Remove any oil from the contact surface.
      • Install the oil seal within 3 minutes after applying seal packing.
      • Do not start the engine for at least 2 hours after installing the oil seal retainer.
        Fig 30: Identifying Seal Packing To Oil Seal Retainer
        G05289126Courtesy of © TOYOTA, LICENSE AGREEMENT TMS1002
    3. Install a new O-ring to the cylinder block.
    4. Install the oil seal retainer with the 7 bolts.

      Torque: 8.0 N*m (82 kgf*cm, 71 in.*lbf) 

  23. INSTALL OIL PUMP ASSEMBLY (See  INSTALLATION  ) 
  24. INSTALL OIL STRAINER SUB-ASSEMBLY (See  INSTALLATION  ) 
  25. INSTALL OIL PAN STUD BOLT 
    Fig 31: Locating Oil Pan Stud Bolt
    G05289127Courtesy of © TOYOTA, LICENSE AGREEMENT TMS1002
    Fig 32: Identifying Oil Pan Stud Bolt Dimension
    G05289128Courtesy of © TOYOTA, LICENSE AGREEMENT TMS1002
  26. INSTALL OIL PAN SUB-ASSEMBLY (See  INSTALLATION  ) 
  27. INSTALL OIL PAN BAFFLE PLATE (See  INSTALLATION  ) 
  28. INSTALL NO. 2 OIL PAN SUB-ASSEMBLY (See  INSTALLATION  ) 
  29. INSTALL WATER PUMP ASSEMBLY (See  INSTALLATION  ) 
  30. INSTALL CYLINDER HEAD SUB-ASSEMBLY 
    1. Place a new cylinder head gasket on the cylinder block.

      HINT:

      The rear side of the cylinder head gasket has marks so that the RH and LH banks can be distinguished. A "3R" mark is on the RH bank's gasket.

      NOTE: Be careful of the installation direction.
    2. Place the cylinder head on the cylinder head gasket.
      Fig 33: Placing Cylinder Head Gasket In Position On Cylinder Block
      G05289129Courtesy of © TOYOTA, LICENSE AGREEMENT TMS1002
    3. Install the cylinder head bolts.

      HINT:

      If any cylinder head bolt is broken or deformed, replace it.

      1. Apply a light coat of engine oil on the threads and under the heads of the cylinder head bolts.
      2. Install the plate washer to the cylinder head bolt.
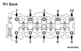
        Fig 34: Identifying Installing Sequence Of Cylinder Head Bolt (RH)
        G05289130Courtesy of © TOYOTA, LICENSE AGREEMENT TMS1002
      3. Install and uniformly tighten the 10 cylinder head bolts on one side of the cylinder head in several passes in the sequence shown.

        Torque: 59 N*m (602 kgf*cm, 44 ft.*lbf) 

        If any one of the cylinder head bolts does not meet the torque specification, replace the cylinder head bolt.

        NOTE: Do not drop the plate washer for the cylinder head bolt into portion A of the cylinder head. If dropped into portion A, the plate washer will pass through the cylinder head and cylinder block into the oil pan.
        Fig 35: Identifying Portion A (RH Bank)
        G05289131Courtesy of © TOYOTA, LICENSE AGREEMENT TMS1002
      4. Mark the front of each cylinder head bolt's head with paint.
      5. Tighten the cylinder head bolts another 90° in the sequence shown in the illustration.
      6. Check that the painted mark is now at a 90° angle to the front.
        Fig 36: Retightening Cylinder Head Bolts By 90°
        G05289132Courtesy of © TOYOTA, LICENSE AGREEMENT TMS1002
  31. INSTALL CYLINDER HEAD LH 
    1. Place a new cylinder head gasket on the cylinder block.

      HINT:

      The rear side of the cylinder head gasket has marks so that the RH and LH banks can be distinguished. A "3L" mark is on the LH bank's gasket.

      NOTE: Be careful of the installation direction.
    2. Place the cylinder head on the cylinder head gasket.
      Fig 37: Placing Cylinder Head Gasket In Position On Cylinder Block
      G05289133Courtesy of © TOYOTA, LICENSE AGREEMENT TMS1002
    3. Install the cylinder head bolts.

      HINT:

      If any cylinder head bolt is broken or deformed, replace it.

      1. Apply a light coat of engine oil on the threads and under the heads of the cylinder head bolts.
      2. Install the plate washer to the cylinder head bolt.
        Fig 38: Identifying Tightening Sequence Of Cylinder Head Bolts
        G05289134Courtesy of © TOYOTA, LICENSE AGREEMENT TMS1002
      3. Install and uniformly tighten the 10 cylinder head bolts on one side of the cylinder head in several passes in the sequence shown.

        Torque: 59 N*m (602 kgf*cm, 44 ft.*lbf) 

        If any one of the cylinder head bolts does not meet the torque specification, replace the cylinder head bolt.

        NOTE: Do not drop the plate washer for the cylinder head bolt into portion A of the cylinder head. If dropped into portion A, the plate washer will pass through the cylinder head and cylinder block into the oil pan.
        Fig 39: Identifying Portion A (LH Bank)
        G05289135Courtesy of © TOYOTA, LICENSE AGREEMENT TMS1002
      4. Mark the front of each cylinder head bolt's head with paint.
      5. Tighten the cylinder head bolts another 90° in the sequence shown in the illustration.
        Fig 40: Retightening Cylinder Head Bolts By 90°
        G05289136Courtesy of © TOYOTA, LICENSE AGREEMENT TMS1002
      6. Check that the painted mark is now at a 90° angle to the front.
  32. INSTALL CAMSHAFT (See  INSTALLATION   ) 
  33. INSTALL NO. 3 CAMSHAFT SUB-ASSEMBLY (See  REASSEMBLY   ) 
  34. INSTALL REAR TIMING BELT PLATE RH (See  INSTALLATION   ) 
  35. INSTALL REAR NO. 2 TIMING BELT PLATE RH (See  INSTALLATION   ) 
  36. INSTALL REAR TIMING BELT PLATE LH (See  INSTALLATION   ) 
  37. INSTALL REAR NO. 2 TIMING BELT PLATE LH (See  INSTALLATION   ) 
  38. INSTALL CAMSHAFT TIMING PULLEY SUB-ASSEMBLY RH (See  INSTALLATION   ) 
  39. INSTALL CAMSHAFT TIMING PULLEY SUB-ASSEMBLY LH (See  INSTALLATION   ) 
  40. INSTALL CRANKSHAFT TIMING PULLEY 
    1. Align the timing pulley set key with the key groove of the pulley.
    2. Using SST and a hammer, tap in the timing pulley, facing the flange side inward.

      SST 09223-46011 

  41. INSTALL NO. 2 TIMING BELT IDLER SUB-ASSEMBLY 
    1. Install the idler with the bolt.

      Torque: 34.5 N*m (352 kgf*cm, 25 ft.*lbf) 

    2. Check that the idler moves smoothly.
      Fig 41: Taping Timing Pulley
      G05289137Courtesy of © TOYOTA, LICENSE AGREEMENT TMS1002
  42. INSTALL NO. 1 TIMING BELT IDLER SUB-ASSEMBLY 
    1. Apply adhesive to 2 or 3 threads of the pivot bolt.

      Adhesive: Toyota Genuine Adhesive 1344, Three Bond 1344 or equivalent 

    2. Using a 10 mm hexagon wrench, install the plate washer and idler with the pivot bolt.

      Torque: 34.5 N*m (352 kgf*cm, 25 ft.*lbf) 

    3. Check that the idler bracket moves smoothly.
      Fig 42: Installing Plate Washer And Idler With Pivot Bolt
      G05289138Courtesy of © TOYOTA, LICENSE AGREEMENT TMS1002
  43. INSTALL TIMING BELT (See  INSTALLATION   ) 
  44. INSTALL CRANKSHAFT POSITION SENSOR PLATE (See  INSTALLATION   ) 
  45. INSTALL TIMING GEAR COVER SPACER (See  INSTALLATION   ) 
  46. INSTALL NO. 1 TIMING BELT COVER (See  INSTALLATION   ) 
  47. INSTALL CRANKSHAFT PULLEY (See  INSTALLATION   ) 
  48. ADJUST VALVE CLEARANCE (See  ADJUSTMENT   ) 
  49. INSTALL IDLER PULLEY ASSEMBLY (See  INSTALLATION   ) 
  50. INSTALL V-RIBBED BELT TENSIONER ASSEMBLY (See  INSTALLATION   ) 
  51. INSTALL NO. 2 TIMING BELT COVER SUB-ASSEMBLY (See  INSTALLATION   ) 
  52. INSTALL NO. 2 IDLER PULLEY SUB-ASSEMBLY (See  INSTALLATION   ) 
  53. INSTALL SEMICIRCULAR PLUG 
    1. Remove any old packing (FIPG) material.
    2. Apply seal packing to the semicircular plug grooves.

      Seal packing: Toyota Genuine Seal Packing Black, Three Bond 1324 or equivalent 

      Fig 43: Applying Seal Packing To Semicircular Plug Grooves
      G05289139Courtesy of © TOYOTA, LICENSE AGREEMENT TMS1002
    3. Install the 4 semicircular plugs to the cylinder heads as shown in the illustration.
      Fig 44: Locating Semicircular Plugs To Cylinder Heads
      G05289140Courtesy of © TOYOTA, LICENSE AGREEMENT TMS1002
  54. INSTALL CYLINDER HEAD COVER SUB-ASSEMBLY RH (See  INSTALLATION   ) 
  55. INSTALL CYLINDER HEAD COVER SUB-ASSEMBLY LH (See  INSTALLATION   ) 
  56. INSTALL SPARK PLUG