LEMON Manuals: Even more car manuals for everyone: 1960-2025
Home >> Lexus >> 2008 >> SC 430 >> Repair and Diagnosis >> External Pages >> Different car >> Section 9 (Engine Mechanical) >> Engine Unit >> Replacement
April 5, 2026: LEMON Manuals is launched! Read the announcement.

Engine Unit: Replacement

WARNING: This page is about a different car, the 2007 Lexus SC 430. However, it is still accessible from the selected car via links, so may be relevant.
  1. REPLACE CONNECTING ROD SMALL END BUSH 
    1. Using SST and a press, press out the bushing.

      SST 09222-30010 

      Fig 1: Installing Connecting Rod Small End Bush Using SST And Press
      G05289086Courtesy of © TOYOTA, LICENSE AGREEMENT TMS1002
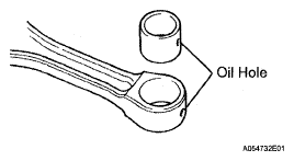
    2. Align the oil holes of a new bushing and the connecting rod.
      Fig 2: Aligning Oil Holes Of A New Bush And Connecting Rod
      G05289087Courtesy of © TOYOTA, LICENSE AGREEMENT TMS1002
    3. Using SST and a press, press in the bushing.

      SST 09222-30010 

      Fig 3: Installing Connecting Rod Small End Bush Using SST And Press
      G05289088Courtesy of © TOYOTA, LICENSE AGREEMENT TMS1002
    4. Using a pin hole grinder, hone the bush to obtain the standard clearance between the bush and piston pin.
      Fig 4: Grinding Pin Hole
      G05289089Courtesy of © TOYOTA, LICENSE AGREEMENT TMS1002
    5. Check the piston pin fit at normal room temperature.
      1. Coat the piston pin with engine oil, and push it into the connecting rod with your thumb.
        Fig 5: Checking Piston Pin
        G05289090Courtesy of © TOYOTA, LICENSE AGREEMENT TMS1002
  2. REPLACE OIL PUMP SEAL 
    1. Using a screwdriver and wooden block, pry out the oil seal.

      HINT:

      Tape the screwdriver tip before use.

      NOTE: Be careful not to damage the oil pump body.
      Fig 6: Removing Oil Pump Seal
      G05289091Courtesy of © TOYOTA, LICENSE AGREEMENT TMS1002
    2. Using SST and a hammer, tap In a new oil seal until its surface is flush with the oil pump body edge.

      SST 09316-60011 (09316-00011) 

    3. Apply MP grease to the oil seal.
      Fig 7: Taping New Oil Seal
      G05289092Courtesy of © TOYOTA, LICENSE AGREEMENT TMS1002
  3. REPLACE CRANKSHAFT REAR OIL SEAL 
    1. Using a screwdriver and hammer, tap out the oil seal.
      Fig 8: Taping Out Oil Seal
      G05289093Courtesy of © TOYOTA, LICENSE AGREEMENT TMS1002
    2. Using SST and a hammer, tap in a new oil seal until its surface is flush with the rear oil seal retainer edge.

      SST 09223-56010 

    3. Apply MP grease to the lip of the oil seal.
      Fig 9: Taping In Oil Seal
      G05289094Courtesy of © TOYOTA, LICENSE AGREEMENT TMS1002
  4. REPLACE SPARK PLUG TUBE GASKET 
    1. Bend the 4 ventilation case claws installed on the cylinder head cover to an angle of 90° or more.
    2. Using a screwdriver, pry out the gasket.

      HINT:

      Tape the screwdriver tip before use.

      NOTE: Be careful not to damage the cylinder head cover.
      Fig 10: Prying Out Gasket
      G05289095Courtesy of © TOYOTA, LICENSE AGREEMENT TMS1002
    3. Using SST and a hammer, tap in a new gasket until its surface is flush with the upper edge of the cylinder head cover.

      SST 09950-60010 (09951-00240, 09951-00440, 09952-06010), 09950-70010 (09951-07100) 

      NOTE: Be careful of the installation direction.
    4. Apply a light coat of MP grease to the lip of the gasket.
    5. Return the 4 ventilation case claws to their original positions.
      Fig 11: Taping New Gasket
      G05289096Courtesy of © TOYOTA, LICENSE AGREEMENT TMS1002