LEMON Manuals: Even more car manuals for everyone: 1960-2025
Home >> Lexus >> 2009 >> ES 350 >> Repair and Diagnosis >> Engine Performance >> System >> Engine Control (SFI) System (Diagnostic Codes & Circuit Tests) >> SFI System >> DTC P2610: ECM / PCM Internal Engine Off Timer Performance >> Description
April 5, 2026: LEMON Manuals is launched! Read the announcement.

DTC P2610: ECM / PCM Internal Engine Off Timer Performance: Description

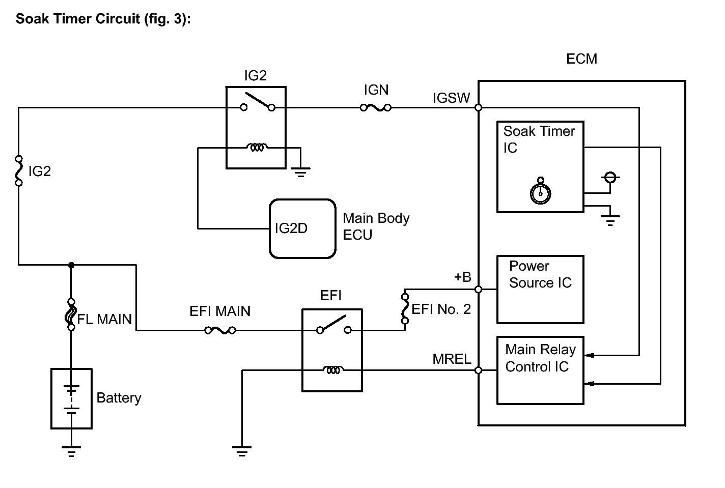
To ensure the accuracy of the EVAP (Evaporative Emission) monitor values, the soak timer, which is built into the ECM, measures 5 hours (+/- 15 minutes) from when the engine switch is turned off, before the monitor is run. This allows the fuel to cool down, which stabilizes the Fuel Tank Pressure (FTP). When 5 hours have elapsed, the ECM turns on.

Fig 1: Identifying ECM/PCM Internal Engine Off Timer Performance Circuit Diagram
GTY147371Courtesy of © TOYOTA, LICENSE AGREEMENT TMS1002