LEMON Manuals: Even more car manuals for everyone: 1960-2025
Home >> Lexus >> 2009 >> ES 350 >> Repair and Diagnosis >> External Pages >> Different car >> Section 139 (Introduction) >> Repair Instruction >> Precaution >> Precaution
April 5, 2026: LEMON Manuals is launched! Read the announcement.

Repair Instruction: Precaution: Precaution

WARNING: This page is about a different car, the 2011 Toyota Avalon. However, it is still accessible from the selected car via links, so may be relevant.
  1. BASIC REPAIR HINT 
    1. HINTS ON OPERATIONS
      Fig 1: Identifying Basic Repair Hints, Operations, Vehicle Protection And Preparation
      GTY302623Courtesy of © TOYOTA, LICENSE AGREEMENT TMS1002
      1 Attire
      • Always wear a clean uniform.
      • Hat and safety shoes must be worn.
      2 Vehicle protection Prepare a grille cover, fender cover, seat cover and floor mat before starting the operation.
      3 Safe operation
      • When working with 2 or more persons, be sure to check safety for one another.
      • When working with the engine running, make sure to provide ventilation for exhaust fumes in the workshop.
      • If working on high temperature, high pressure, rotating, moving, or vibrating parts, wear appropriate safety equipment and take extra care not to injure yourself or others.
      • When jacking up the vehicle, be sure to support the specified location with a safety stand.
      • When lifting up the vehicle, use appropriate safety equipment.
      4 Preparation of tools and measuring gauge Before starting operation, prepare a tool stand, SST, gauge, oil and parts for replacement.
      5 Removal and installation, disassembly and assembly operations
      • Diagnose with a thorough understanding of proper procedures and of the reported problem.
      • Before removing the parts, check the general condition of the assembly and for deformation and damage.
      • When the assembly is complicated, take notes. For example, note the total number of electrical connections, bolts, or hoses removed. Add matchmarks to insure reassembly of components in the original positions. Temporarily mark hoses and their fittings if needed.
      • Clean and wash the removed parts if necessary and assemble them after a thorough check.
      6 Removed parts
      • Place the removed parts in a separate box to avoid mixing them up with the new parts or contaminating the new parts.
      • For non-reusable parts such as gaskets, O-rings, and self-locking nuts, replace them with new ones as instructed in this service information .
      • Retain the removed parts for customer inspection, if requested.
      7* Checks to perform after work is finished
      • Make sure that removed and installed parts (oil filler cap, level dipstick, floor mat, etc.) are properly installed/tightened.
      • Make sure that none of the cloths or tools that were used have been left in the engine compartment or within the vehicle.
      • Check that there are no oil leaks.
      WARNING:

      *: Be sure to perform these checks properly, Not performing these checks properly after finishing work can lead to serious accident or injury.

    2. JACKING UP AND SUPPORTING VEHICLE
      1. Care must be taken when jacking up and supporting the vehicle. Be sure to lift and support the vehicle at the proper locations.
    3. PRECOATED PARTS
      Fig 2: Identifying Seal Lock Adhesive On Precoated Parts
      GTY307803Courtesy of © TOYOTA, LICENSE AGREEMENT TMS1002
      1. Precoated parts are bolts and nuts that are coated with a seal lock adhesive at the factory.
      2. If a precoated part is retightened, loosened or moved in any way, it must be recoated with the specified adhesive.
      3. When reusing a precoated part, clean off the old adhesive and dry the part with compressed air. Then apply new seal lock adhesive appropriate to that part.
      4. Some seal lock agents harden slowly. You may have to wait for the seal lock adhesive to harden.
    4. GASKETS
      1. When necessary, use a sealer on gaskets to prevent leaks.
    5. BOLTS, NUTS AND SCREWS
      1. Carefully follow all the specifications for tightening torques. Always use a torque wrench.
        NOTE:

        Perform the torque with the lower limit value of the torque tolerance.

    6. FUSES
      Fig 3: Identifying Fuse Condition
      GTY306814Courtesy of © TOYOTA, LICENSE AGREEMENT TMS1002
      1. When inspecting a fuse, check that the wire of the fuse is not broken.
      2. If the wire of a fuse is broken, confirm that there are no shorts in its circuit.
      3. When a fuse is replaced, a fuse with the same amperage rating must be used.
        Illustration Symbol Part Name Abbreviation
        GTY264285Courtesy of © TOYOTA, LICENSE AGREEMENT TMS1002
        GTY264459Courtesy of © TOYOTA, LICENSE AGREEMENT TMS1002
        FUSE FUSE
        GTY263878Courtesy of © TOYOTA, LICENSE AGREEMENT TMS1002
        GTY263732Courtesy of © TOYOTA, LICENSE AGREEMENT TMS1002
        MEDIUM CURRENT FUSE M-FUSE
        GTY263483Courtesy of © TOYOTA, LICENSE AGREEMENT TMS1002
        GTY283653Courtesy of © TOYOTA, LICENSE AGREEMENT TMS1002
        HIGH CURRENT FUSE H-FUSE
        GTY258156Courtesy of © TOYOTA, LICENSE AGREEMENT TMS1002
        GTY258380Courtesy of © TOYOTA, LICENSE AGREEMENT TMS1002
        FUSIBLE LINK FL
        GTY282557Courtesy of © TOYOTA, LICENSE AGREEMENT TMS1002
        GTY258826Courtesy of © TOYOTA, LICENSE AGREEMENT TMS1002
        CIRCUIT BREAKER CB
    7. CLIPS
      1. The removal and installation methods of typical clips used in body parts are shown in the table below.

        HINT: 

        If clips are damaged during a procedure, always replace the damaged clip with a new clip.

        Shape (Example) Removal/Installation
        GTY259011Courtesy of © TOYOTA, LICENSE AGREEMENT TMS1002
        GTY257368Courtesy of © TOYOTA, LICENSE AGREEMENT TMS1002

        Remove clips with clip remover or pliers.
        GTY257614Courtesy of © TOYOTA, LICENSE AGREEMENT TMS1002
        GTY282376Courtesy of © TOYOTA, LICENSE AGREEMENT TMS1002

        Remove fasteners with clip remover or screwdriver.
        GTY258143Courtesy of © TOYOTA, LICENSE AGREEMENT TMS1002
        GTY256641Courtesy of © TOYOTA, LICENSE AGREEMENT TMS1002

        Remove clips with wide scraper to prevent panel damage.
        GTY281849Courtesy of © TOYOTA, LICENSE AGREEMENT TMS1002
        GTY256240Courtesy of © TOYOTA, LICENSE AGREEMENT TMS1002

        Remove clips by pushing center pin through and prying out shell.
        GTY281969Courtesy of © TOYOTA, LICENSE AGREEMENT TMS1002
        GTY255005Courtesy of © TOYOTA, LICENSE AGREEMENT TMS1002

        Remove clips by unscrewing center pin and prying out shell.
        GTY254819Courtesy of © TOYOTA, LICENSE AGREEMENT TMS1002
        GTY255419Courtesy of © TOYOTA, LICENSE AGREEMENT TMS1002

        Remove clips by prying out pin and then prying out shell.
    8. CLAWS
      1. The removal and installation methods of typical claws used for vehicle body parts are shown in the table below.

        HINT: 

        If claws are damaged during a procedure, always replace the damaged claws with a new caps or covers.

        Shape (Example) Illustration Procedures
        GTY256386Courtesy of © TOYOTA, LICENSE AGREEMENT TMS1002
        GTY258410Courtesy of © TOYOTA, LICENSE AGREEMENT TMS1002
        1. Using a screwdriver, detach the claws and remove the cap or covers.
        GTY263869Courtesy of © TOYOTA, LICENSE AGREEMENT TMS1002
        GTY297136Courtesy of © TOYOTA, LICENSE AGREEMENT TMS1002
        1. Using a screwdriver, detach the claws and remove the cap or covers.
        GTY260664Courtesy of © TOYOTA, LICENSE AGREEMENT TMS1002
        GTY261279Courtesy of © TOYOTA, LICENSE AGREEMENT TMS1002
        1. Using a screwdriver, detach the claws and remove the cap or covers.
    9. REMOVAL AND INSTALLATION OF VACUUM HOSES
        Fig 4: Identifying Precaution For Disconnecting Vacuum Hoses
        GTY308337Courtesy of © TOYOTA, LICENSE AGREEMENT TMS1002
      1. To disconnect a vacuum hose, pull and twist from the end of the hose. Do not pull from the middle of the hose as this may cause damage.
      2. When disconnecting vacuum hoses, use tags to identify where they should be reconnected.
        Fig 5: Identifying Use Of Tags On Vacuum Hoses
        GTY287490Courtesy of © TOYOTA, LICENSE AGREEMENT TMS1002
      3. After completing the job, double check that the vacuum hoses are properly connected. The label under the hood shows the proper layout.
      4. When using a vacuum gauge, never force the hose onto a connector that is too large. If a hose has been stretched, air may leak. Use a step-down adapter if necessary.
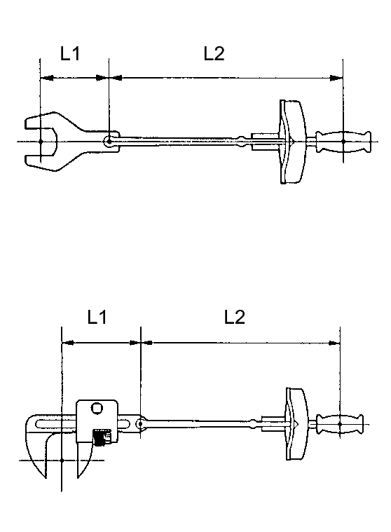
    10. TORQUE WHEN USING TORQUE WRENCH WITH EXTENSION TOOL
      Fig 6: Identifying Torque Length Dimension
      GTY294574Courtesy of © TOYOTA, LICENSE AGREEMENT TMS1002
      1. Use the formula below to calculate special torque values for situations where SST or an extension tool is combined with the torque wrench.

        Formula

        T' = L2/(L1 + L2) * T

        T' Reading of torque wrench {N*m (kgf*cm, ft.*lbf)}
        T Torque {N*m (kgf*cm, ft.*lbf)}
        L1 Length of SST or extension tool {cm (in.)}
        L2 Length of torque wrench {cm (in.)}
        NOTE:

        If an extension tool or SST is combined with a torque wrench and the wrench is used to tighten to a torque specification in this service information , the actual torque will be excessive and parts will be damaged.

  2. FOR VEHICLES EQUIPPED WITH SRS AIRBAG AND SEAT BELT PRETENSIONER 

    The AVALON is equipped with a Supplemental Restraint System (SRS).

    WARNING:
    • Before performing pre-disposal deployment of any SRS component, review and closely follow all applicable environmental and hazardous material regulations. Pre-disposal deployment may be considered hazardous material treatment.
    • Failure to carry out the service operations in the correct sequence could cause the SRS to unexpectedly deploy during servicing and lead to serious injury. Furthermore, if a mistake is made when servicing SRS, it is possible that the SRS may fail to operate properly. Before servicing (including removal or installation of parts, inspection or replacement), be sure to read the following service information carefully.
    1. GENERAL NOTICE
      1. As malfunctions of the SRS are difficult to confirm, the Diagnostic Trouble Codes (DTCs) become the most important source of information when troubleshooting. When troubleshooting the SRS, always check the DTCs before disconnecting the battery.
      2. Work must be started at least 90 seconds after the ignition switch is turned off and after the cable is disconnected from the negative (-) battery terminal.

        The SRS is equipped with a back-up power source. If work is started within 90 seconds after turning the ignition switch off and disconnecting the cable from the negative (-) battery terminal, the SRS may deploy.

        When the cable is disconnected from the negative (-) battery terminal, clock and audio system memory is erased. Before starting work, make a note of the settings of each memory system. When work is finished, reset the clock and audio system as before.

        WARNING:

        Never use a back-up power source (battery or other) to avoid erasing system memory. The back-up power source may inadvertently power the SRS and cause it to deploy.

      3. In minor collisions where the SRS does not deploy, the steering pad, front passenger airbag assembly, driver side knee airbag assembly, front seat side airbag assembly, curtain shield airbag assembly and front seat outer belt assembly should be inspected before further use of the vehicle.

        Refer to DISPOSAL for steering pad)

        Refer to DISPOSAL for front passenger airbag assembly)

        Refer to DISPOSAL for driver side knee airbag assembly)

        Refer to DISPOSAL for front seat side airbag assembly (for Manual Seat Type RH Side)

        Refer to DISPOSAL front seat side airbag assembly (for Power Seat)

        Refer to DISPOSAL for curtain shield airbag assembly)

        Refer to DISPOSAL for front seat outer belt assembly)

      4. Never use SRS parts from another vehicle. When replacing parts, use new parts.
      5. Before repairs, remove the airbag sensor assemblies if impacts are likely to be applied to the sensor during repairs.
      6. Never disassemble and repair the center airbag sensor assembly, steering pad, front passenger airbag assembly, curtain shield airbag assembly, front seat side airbag assembly, driver side knee airbag assembly or front seat outer belt assembly.
      7. Replace the airbag sensor assemblies and the airbag assemblies if: 1) damage has occurred from being dropped, or 2) cracks, dents or other defects in the case, bracket or connector are present.
      8. Do not directly expose the airbag sensor assembly or airbag assembly to hot air or flames.
      9. Use a voltmeter / ohmmeter with high impedance (minimum=10 kΩ) for troubleshooting electrical circuits.
      10. Information labels are attached to the SRS components. Follow the instructions on the labels.
      11. After work on the SRS is completed, check the SRS warning light.
    2. SPIRAL CABLE
      Fig 7: Identifying Aligning Mark
      GTY308164Courtesy of © TOYOTA, LICENSE AGREEMENT TMS1002
      1. The steering wheel must be fitted correctly to the steering column with the spiral cable at the neutral position, as cable disconnection and other problems may occur. Refer to INSPECTION for the correct information about the correct installation of the steering wheel.
    3. STEERING PAD
      1. When removing the steering pad or handling a new steering pad, it should be placed with the pad surface facing up. See example illustration below.
        Fig 8: Identifying Horn Button Assembly (Example)
        GTY304484Courtesy of © TOYOTA, LICENSE AGREEMENT TMS1002

        Placing the steering pad of the pad surface facing down may lead to a serious accident if the airbag accidentally inflates. Also, do not place anything on top of the steering pad.

      2. Never measure the resistance of the airbag squib. This may cause the airbag to inflate, which could cause serious injury.
        Fig 9: Never Measuring Resistance Of Airbag Squib (Example)
        GTY308150Courtesy of © TOYOTA, LICENSE AGREEMENT TMS1002
      3. Grease or detergents of any kind should not be applied to the steering pad.
      4. Store the horn button assembly in an area where the ambient temperature is below 93°C (200°F), the humidity is not high and electrical noise is not nearby.
      5. When using electric welding anywhere on the vehicle, disconnect the center airbag sensor assembly connectors. These connectors contain shorting springs. This feature reduces the possibility of the airbag or seat belt pretensioner deploying due to currents entering the squib wiring.
      6. When disposing of the vehicle or the steering pad by itself, the airbag should be inflated using an SST before disposal. Refer to DISPOSAL . Activate in a safe away from electrical noise.
    4. FRONT PASSENGER AIRBAG ASSEMBLY
      1. Always place a removed or new front passenger airbag assembly with the airbag inflation direction facing up.

        Placing the airbag assembly with the airbag inflation direction facing down could cause a serious accident if the airbag inflates.

      2. Never measure the resistance of the airbag squib. This may cause the airbag to inflate, which could cause serious injury.
        Fig 10: Identifying Correct And Incorrect Position Of Front Passenger Airbag Assembly (Example)
        GTY307951Courtesy of © TOYOTA, LICENSE AGREEMENT TMS1002
      3. Grease or detergents of any kind should not be applied to the front passenger airbag assembly.
        Fig 11: Precaution For Never Apply Grease or Detergents To Airbag Squib (Example)
        GTY308179Courtesy of © TOYOTA, LICENSE AGREEMENT TMS1002
      4. Store the airbag assembly in an area where the ambient temperature is below 93°C (200°F), the humidity is not high and electrical noise is not nearby.
      5. When using electric welding anywhere on the vehicle, disconnect the center airbag sensor assembly connectors. These connectors contain shorting springs. This feature reduces the possibility of the airbag deploying due to currents entering the squib wiring.
      6. When disposing of a vehicle or the airbag assembly unit by itself, the airbag should be deployed using SST before disposal. Refer to DISPOSAL .

        Activate in a safe place away from electrical noise.

    5. DRIVER SIDE KNEE AIRBAG ASSEMBLY
      1. Always store a removed or new driver side knee airbag assembly with the airbag inflating direction facing upward.
        Fig 12: Identifying Correct And Incorrect Position Of Driver Side Knee Airbag Assembly (Example)
        GTY303360Courtesy of © TOYOTA, LICENSE AGREEMENT TMS1002

        Placing the airbag assembly with the airbag inflation direction facing downward could cause a serious accident if the airbag inflates.

      2. Never measure the resistance of the airbag squib. This may cause the airbag to inflate, which could cause serious injury.
        Fig 13: Precaution For Never Measuring Resistance Of Airbag Squib (Example)
        GTY308200Courtesy of © TOYOTA, LICENSE AGREEMENT TMS1002
      3. Grease or detergents of any kind should not be applied to the driver side knee airbag assembly.
      4. Store the driver side knee airbag assembly where the ambient temperature remains below 93°C (200°F), without high humidity and away from electrical noise.
      5. When using electric welding anywhere on the vehicle, disconnect center airbag sensor assembly connectors. These connectors contain shorting springs. This feature reduces the possibility of the airbag deploying due to current entering the squib wiring.
      6. When disposing of a vehicle or the instrument panel lower airbag assembly unit by itself, the airbag should be inflated using an SST before disposal. Refer to DISPOSAL .

        Activate in a safe place away from electrical noise.

    6. FRONT SEAT SIDE AIRBAG ASSEMBLY
      1. Always place a removed or new front seat side airbag assembly with the airbag inflation direction facing up.

        Placing the airbag assembly with the airbag inflation direction facing download could cause a serious accident if the airbag deploys.

      2. Never measure the resistance of the airbag squib. This may cause the airbag to inflate, which could cause serious injury.
        Fig 14: Never Measuring Resistance Of Airbag Squib (Example)
        GTY302708Courtesy of © TOYOTA, LICENSE AGREEMENT TMS1002
      3. Grease or detergents of any kind should not be applied to the front seat side airbag assembly.
      4. Store the airbag assembly in an area where the ambient temperature is below 93°C (200°F), the humidity is not high and electrical noise is not nearby.
      5. When using electric welding anywhere on the vehicle, disconnect the center airbag sensor assembly connectors. These connectors contain shorting springs. This feature reduces the possibility of the airbag deploying due to currents entering the squib wiring.
      6. When disposing of a vehicle or the airbag assembly unit by itself, the airbag should be deployed using SST before disposal. Refer to DISPOSAL for Manual Seat Type RH Side. Refer to DISPOSAL for Power Seat).

        Activate in a safe place away from electrical noise.

    7. CURTAIN SHIELD AIRBAG ASSEMBLY
      1. Always place the removed or new curtain shield airbag assembly in a clear plastic bag, and keep it in a safe place.
        Fig 15: Covering Curtain Shield Airbag Assembly (Example)
        GTY294997Courtesy of © TOYOTA, LICENSE AGREEMENT TMS1002
        NOTE:

        Plastic bag is re-useable.

        WARNING:

        Never disassemble the curtain shield airbag assembly.

      2. Never measure the resistance of the airbag squib. This may cause the airbag to inflate, which could cause serious injury.
        Fig 16: Never Measuring Resistance Of Airbag Squib (Example)
        GTY300460Courtesy of © TOYOTA, LICENSE AGREEMENT TMS1002
      3. Grease or detergents of any kind should not be applied to the curtain shield airbag assembly.
      4. Store the airbag assembly in an area where the ambient temperature is below 93°C (200°F), the humidity is not high and electrical noise is not nearby.
      5. When using electric welding anywhere on the vehicle, disconnect the center airbag sensor assembly connectors. These connectors contain shorting springs. This feature reduces the possibility of the airbag deploying due to currents entering the squib wiring.
      6. When disposing of a vehicle or the curtain shield airbag assembly unit, the airbag should be deployed using SST before disposal. Refer to DISPOSAL .

        Activate in a safe place away from electrical noise.

    8. FRONT SEAT OUTER BELT ASSEMBLY (SEAT BELT PRETENSIONER)
      1. Never measure the resistance of the seat belt pretensioner. This may cause the seat belt pretensioner to activate, which could cause serious injury.
        Fig 17: Precaution For Never Measuring Resistance Of Seat Belt Pretensioner (Example)
        GTY308147Courtesy of © TOYOTA, LICENSE AGREEMENT TMS1002
      2. Never disassemble the seat belt pretensioner.
      3. Never install the seat belt pretensioner on another vehicle.
      4. Store the seat belt pretensioner in an area where the ambient temperature is below 80°C (176°F), the humidity is not high and electrical noise is not nearby.
      5. When using electric welding anywhere on the vehicle, disconnect the center airbag sensor assembly connectors. These connectors contain shorting springs. This feature reduces the possibility of the airbag deploying due to currents entering the squib wiring.
      6. When disposing of a vehicle or the seat belt pretensioner unit by itself, the seat belt pretensioner should be activated before disposal. Refer to DISPOSAL . Activate in a safe place away from electrical noise.
      7. As the seat belt pretensioner is hot after being activated, allow some time for it to cool down sufficiently before disposal. Never apply water to try to cool down the seat belt pretensioner.
      8. Grease, detergents, oil or water should not be applied to the front seat outer belt.
    9. CENTER AIRBAG SENSOR ASSEMBLY
      1. Never reuse an center airbag sensor assembly that has been involved in a collision where the SRS has deployed.
      2. The connectors to the center airbag sensor assembly should be connected or disconnected with the sensor mounted on the floor. If the connectors are connected or disconnected while the center airbag sensor assembly is not mounted to the floor, the SRS may activate.
      3. Work must be started at least 90 seconds after the ignition switch is turned to the LOCK position and the negative (-) terminal cable is disconnected from the battery, even if only loosening the set bolts of the center airbag sensor assembly.
    10. WIRE HARNESS AND CONNECTOR
      1. All the connectors in the system are a standard yellow color. If the SRS wire harness becomes disconnected or the connector becomes broken, repair or replace it.
  3. ELECTRONIC CONTROL 
    1. REMOVAL AND INSTALLATION OF BATTERY TERMINAL
      Fig 18: Remove/Install Battery Negative Cable
      GTY295799Courtesy of © TOYOTA, LICENSE AGREEMENT TMS1002
      NOTE:

      After disconnecting the negative (-) terminal, it is necessary to perform the initialization of certain systems.

    2. REMOVAL AND INSTALLATION OF BATTERY CABLE
      1. Before performing electronic work, disconnect the cable from the negative (-) battery terminal to prevent component and wire damage caused by accidental short circuits.
      2. When disconnecting the cable, turn the ignition switch and headlight dimmer switch off and loosen the cable nut completely. Perform these operations without twisting or prying the cable. Then disconnect the cable.
      3. Clock settings, radio settings, audio system memory, DTCs and other data are erased when the cable is disconnected from the negative (-) battery terminal. Write down any necessary data before disconnecting the cable.
    3. HANDLING OF ELECTRONIC PARTS
      Fig 19: Precaution For Handling Of Electronic Parts
      GTY306724Courtesy of © TOYOTA, LICENSE AGREEMENT TMS1002
      1. Do not open the cover or case of the ECU unless absolutely necessary. If the IC terminals are touched, the IC may be rendered inoperative by static electricity.
      2. Do not pull the wires when disconnecting electronic connectors. Pull the connector itself.
      3. Do not drop electronic components, such as sensors or relays. If they are dropped on a hard surface, they should be replaced.
      4. When cleaning the engine with steam, protect the electronic components, air filter and emission-related components from water.
      5. Never use an impact wrench to remove or install temperature switches or temperature sensors.
      6. When measuring the resistance between terminals of a wire connector, insert the tester probe carefully to prevent terminals from bending.
  4. REMOVAL AND INSTALLATION OF FUEL CONTROL PARTS 
    1. PLACE FOR REMOVING AND INSTALLING FUEL SYSTEM PARTS
      1. Work in a location with good air ventilation that does not have welders, grinders, drills, electric motors, stoves, or any other ignition sources.
      2. Never work in a pit or near a pit as vaporized fuel will collect in those places.
    2. REMOVING AND INSTALLING FUEL SYSTEM PARTS
      1. Prepare a fire extinguisher before starting the operation.
      2. To prevent static electricity, install a ground wire to the fuel changer, vehicle and fuel tank, do not spray the surrounding area with water. Be careful when performing work in this area, as the work surface will become slippery. Do not clean up gasoline spills with water, as this may cause the gasoline to spread, and possibly create a fire hazard.
      3. Avoid using electric motors, working lights and other electric equipments that can cause sparks or high temperatures.
      4. Avoid using iron hammers as they may create sparks.
      5. Dispose of fuel-contaminated cloth separately using a fire resistant container.
  5. REMOVAL AND INSTALLATION OF ENGINE INTAKE PARTS 
    1. If any metal particles enter inlet system parts, this may damage the engine.
      Fig 20: Identifying Engine Intake Parts
      GTY306046Courtesy of © TOYOTA, LICENSE AGREEMENT TMS1002
    2. When removing and installing inlet system parts, cover the openings of the removed parts and engine openings. Use gummed tape or other suitable materials.
    3. When installing inlet system parts, check that no metal particles have entered the engine or the installed parts.
  6. HANDLING OF HOSE CLAMPS 
    1. Before removing the hose, check the clamp position so that it can be reinstalled in the same position.
      Fig 21: Identifying Hose Clamps
      GTY308281Courtesy of © TOYOTA, LICENSE AGREEMENT TMS1002
    2. Replace any deformed or dented clamps with new ones.
    3. When reusing a hose, attach the clamp on the clamp track portion of the hose.
    4. For a spring type clamp, you may want to spread the tabs slightly after installation by pushing in the direction of the arrows as shown in the illustration.
  7. FOR VEHICLES EQUIPPED WITH MOBILE COMMUNICATION SYSTEMS 
    1. Install the antenna far away from the ECU and sensors of the vehicle electronic systems as possible.
      Fig 22: Installing Antenna
      GTY299093Courtesy of © TOYOTA, LICENSE AGREEMENT TMS1002
    2. Install an antenna feeder at least 20 cm (7.87 in.) away from the ECU and sensors of the vehicle electronic systems. For details about ECU and sensors locations, refer to the appropriate service information on the applicable components.
    3. Keep the antenna and feeder separate from other wirings as much as possible. This will prevent signals sent from the communication equipment from affecting vehicle equipment and vice-versa.
    4. Check that the antenna and feeder are correctly adjusted.
    5. Do not install any high-powered mobile communication system.
  8. FOR VEHICLES EQUIPPED WITH VEHICLE STABILITY CONTROL (VSC) SYSTEM 

    When testing with a 2-wheel drum tester such as a speedometer tester, a combination tester for the speedometer and brake, a chassis dynamometer, or when jacking up the front wheels and turning the wheels, perform the following procedure to enter Inspection Mode and stop the TRAC and VSC systems.

    Enter Inspection Mode to disable TRAC and VSC control when using a chassis dynamometer.

    HINT: 

    • The vehicle may move unexpectedly out of the dynamometer because of TRAC and VSC operations.
    • Pressing the VSC OFF switch does not disable TRAC and VSC operations completely.
    NOTE:
    • Secure the vehicle with a lock chain for safety.
    • When performing procedures related to VSC OFF switch operation, make sure that the mode is VSC OFF mode.
    1. Activating Inspection Mode (When Using the Techstream)
      1. Ensure that the ignition switch is off and the engine is stopped.
      2. Make sure that the shift lever is in P.
      3. Connect the Techstream to the DLC3.
      4. Start the engine.
      5. Turn the Techstream on.
      6. Enter the following menus: Chassis / ABS/VSC/TRAC / Utility / Inspection Mode.
      7. Check that the SLIP indicator, TRAC OFF indicator and VSC OFF indicator lights will come on.

        HINT: 

        If the SLIP indicator, TRAC OFF indicator or VSC OFF indicator light does not come on, repeat the steps.

      8. Turn the ignition switch off.

        HINT: 

        Turning the ignition switch off ends Inspection Mode.

    2. Activating Inspection Mode (When not Using the Techstream)

      HINT: 

      Perform steps from "D" to "H" within 30 seconds.

      1. Ensure that the ignition switch is off and the engine is stopped (Step "A").
      2. Make sure that the shift lever is in P (Step "B").
      3. Start the engine (Step "C").
      4. Apply parking brake by depressing the parking brake pedal (Step "D").
      5. Depress and release the brake pedal twice (Step "E").
      6. Depress and hold the brake pedal down, then release and apply parking brake twice (Step "F").
      7. With parking brake applied, depress and release the brake pedal twice (Step "G").
      8. Check if the SLIP indicator, TRAC OFF indicator and VSC OFF indicator lights will come on (Step "H").

        HINT: 

        If the SLIP indicator, TRAC OFF indicator or VSC OFF indicator light does not come on in step "H", repeat the steps from "A" to "H".

      9. Turn the ignition switch off.

        HINT: 

        Turning the ignition switch off ends Inspection Mode.

  9. FOR VEHICLES EQUIPPED WITH CATALYTIC CONVERTER 
    WARNING:

    If a large amount of unburned gasoline or gasoline vapors flow into the converter, it may cause over heating and create a fire hazard. To prevent this, observe the following precautions.

    1. Use only unleaded gasoline.
    2. Avoid prolonged idling.

      Avoid idling the engine for more than 20 minutes.

    3. Avoid a spark jump test.
      1. Perform a spark jump test only when absolutely necessary. Perform this test as rapidly as possible.
      2. While testing, never race the engine.
    4. Avoid a prolonged engine compression measurement.

      Engine compression measurements must be performed as rapidly as possible.

    5. Do not run the engine when the fuel tank is nearly empty. This may cause the engine to misfire and create an extra load on the converter.
  10. EXPRESSIONS OF IGNITION SWITCH 
    1. The type of ignition switch used on this model differs according to the specifications of the vehicle.

      The expressions listed in the following table are used in this service information.

      Switch Type Ignition Switch (position) Engine Switch (condition)
      Expression Ignition switch off LOCK Off
      Ignition switch on (IG) ON On (IG)
      Ignition switch on (ACC) ACC On (ACC)
      Engine start START Start


  1. BASIC REPAIR HINT 
    1. HINTS ON OPERATIONS
      Fig 1: Identifying Basic Repair Hints, Operations, Vehicle Protection And Preparation
      GTY302623Courtesy of © TOYOTA, LICENSE AGREEMENT TMS1002
      1 Attire
      • Always wear a clean uniform.
      • Hat and safety shoes must be worn.
      2 Vehicle protection Prepare a grille cover, fender cover, seat cover and floor mat before starting the operation.
      3 Safe operation
      • When working with 2 or more persons, be sure to check safety for one another.
      • When working with the engine running, make sure to provide ventilation for exhaust fumes in the workshop.
      • If working on high temperature, high pressure, rotating, moving, or vibrating parts, wear appropriate safety equipment and take extra care not to injure yourself or others.
      • When jacking up the vehicle, be sure to support the specified location with a safety stand.
      • When lifting up the vehicle, use appropriate safety equipment.
      4 Preparation of tools and measuring gauge Before starting operation, prepare a tool stand, SST, gauge, oil and parts for replacement.
      5 Removal and installation, disassembly and assembly operations
      • Diagnose with a thorough understanding of proper procedures and of the reported problem.
      • Before removing the parts, check the general condition of the assembly and for deformation and damage.
      • When the assembly is complicated, take notes. For example, note the total number of electrical connections, bolts, or hoses removed. Add matchmarks to insure reassembly of components in the original positions. Temporarily mark hoses and their fittings if needed.
      • Clean and wash the removed parts if necessary and assemble them after a thorough check.
      6 Removed parts
      • Place the removed parts in a separate box to avoid mixing them up with the new parts or contaminating the new parts.
      • For non-reusable parts such as gaskets, O-rings, and self-locking nuts, replace them with new ones as instructed in this service information .
      • Retain the removed parts for customer inspection, if requested.
      7* Checks to perform after work is finished
      • Make sure that removed and installed parts (oil filler cap, level dipstick, floor mat, etc.) are properly installed/tightened.
      • Make sure that none of the cloths or tools that were used have been left in the engine compartment or within the vehicle.
      • Check that there are no oil leaks.
      WARNING:

      *: Be sure to perform these checks properly, Not performing these checks properly after finishing work can lead to serious accident or injury.

    2. JACKING UP AND SUPPORTING VEHICLE
      1. Care must be taken when jacking up and supporting the vehicle. Be sure to lift and support the vehicle at the proper locations.
    3. PRECOATED PARTS
      Fig 2: Identifying Seal Lock Adhesive On Precoated Parts
      GTY307803Courtesy of © TOYOTA, LICENSE AGREEMENT TMS1002
      1. Precoated parts are bolts and nuts that are coated with a seal lock adhesive at the factory.
      2. If a precoated part is retightened, loosened or moved in any way, it must be recoated with the specified adhesive.
      3. When reusing a precoated part, clean off the old adhesive and dry the part with compressed air. Then apply new seal lock adhesive appropriate to that part.
      4. Some seal lock agents harden slowly. You may have to wait for the seal lock adhesive to harden.
    4. GASKETS
      1. When necessary, use a sealer on gaskets to prevent leaks.
    5. BOLTS, NUTS AND SCREWS
      1. Carefully follow all the specifications for tightening torques. Always use a torque wrench.
        NOTE:

        Perform the torque with the lower limit value of the torque tolerance.

    6. FUSES
      Fig 3: Identifying Fuse Condition
      GTY306814Courtesy of © TOYOTA, LICENSE AGREEMENT TMS1002
      1. When inspecting a fuse, check that the wire of the fuse is not broken.
      2. If the wire of a fuse is broken, confirm that there are no shorts in its circuit.
      3. When a fuse is replaced, a fuse with the same amperage rating must be used.
        Illustration Symbol Part Name Abbreviation
        GTY264285Courtesy of © TOYOTA, LICENSE AGREEMENT TMS1002
        GTY264459Courtesy of © TOYOTA, LICENSE AGREEMENT TMS1002
        FUSE FUSE
        GTY263878Courtesy of © TOYOTA, LICENSE AGREEMENT TMS1002
        GTY263732Courtesy of © TOYOTA, LICENSE AGREEMENT TMS1002
        MEDIUM CURRENT FUSE M-FUSE
        GTY263483Courtesy of © TOYOTA, LICENSE AGREEMENT TMS1002
        GTY283653Courtesy of © TOYOTA, LICENSE AGREEMENT TMS1002
        HIGH CURRENT FUSE H-FUSE
        GTY258156Courtesy of © TOYOTA, LICENSE AGREEMENT TMS1002
        GTY258380Courtesy of © TOYOTA, LICENSE AGREEMENT TMS1002
        FUSIBLE LINK FL
        GTY282557Courtesy of © TOYOTA, LICENSE AGREEMENT TMS1002
        GTY258826Courtesy of © TOYOTA, LICENSE AGREEMENT TMS1002
        CIRCUIT BREAKER CB
    7. CLIPS
      1. The removal and installation methods of typical clips used in body parts are shown in the table below.

        HINT: 

        If clips are damaged during a procedure, always replace the damaged clip with a new clip.

        Shape (Example) Removal/Installation
        GTY259011Courtesy of © TOYOTA, LICENSE AGREEMENT TMS1002
        GTY257368Courtesy of © TOYOTA, LICENSE AGREEMENT TMS1002

        Remove clips with clip remover or pliers.
        GTY257614Courtesy of © TOYOTA, LICENSE AGREEMENT TMS1002
        GTY282376Courtesy of © TOYOTA, LICENSE AGREEMENT TMS1002

        Remove fasteners with clip remover or screwdriver.
        GTY258143Courtesy of © TOYOTA, LICENSE AGREEMENT TMS1002
        GTY256641Courtesy of © TOYOTA, LICENSE AGREEMENT TMS1002

        Remove clips with wide scraper to prevent panel damage.
        GTY281849Courtesy of © TOYOTA, LICENSE AGREEMENT TMS1002
        GTY256240Courtesy of © TOYOTA, LICENSE AGREEMENT TMS1002

        Remove clips by pushing center pin through and prying out shell.
        GTY281969Courtesy of © TOYOTA, LICENSE AGREEMENT TMS1002
        GTY255005Courtesy of © TOYOTA, LICENSE AGREEMENT TMS1002

        Remove clips by unscrewing center pin and prying out shell.
        GTY254819Courtesy of © TOYOTA, LICENSE AGREEMENT TMS1002
        GTY255419Courtesy of © TOYOTA, LICENSE AGREEMENT TMS1002

        Remove clips by prying out pin and then prying out shell.
    8. CLAWS
      1. The removal and installation methods of typical claws used for vehicle body parts are shown in the table below.

        HINT: 

        If claws are damaged during a procedure, always replace the damaged claws with a new caps or covers.

        Shape (Example) Illustration Procedures
        GTY256386Courtesy of © TOYOTA, LICENSE AGREEMENT TMS1002
        GTY258410Courtesy of © TOYOTA, LICENSE AGREEMENT TMS1002
        1. Using a screwdriver, detach the claws and remove the cap or covers.
        GTY263869Courtesy of © TOYOTA, LICENSE AGREEMENT TMS1002
        GTY297136Courtesy of © TOYOTA, LICENSE AGREEMENT TMS1002
        1. Using a screwdriver, detach the claws and remove the cap or covers.
        GTY260664Courtesy of © TOYOTA, LICENSE AGREEMENT TMS1002
        GTY261279Courtesy of © TOYOTA, LICENSE AGREEMENT TMS1002
        1. Using a screwdriver, detach the claws and remove the cap or covers.
    9. REMOVAL AND INSTALLATION OF VACUUM HOSES
        Fig 4: Identifying Precaution For Disconnecting Vacuum Hoses
        GTY308337Courtesy of © TOYOTA, LICENSE AGREEMENT TMS1002
      1. To disconnect a vacuum hose, pull and twist from the end of the hose. Do not pull from the middle of the hose as this may cause damage.
      2. When disconnecting vacuum hoses, use tags to identify where they should be reconnected.
        Fig 5: Identifying Use Of Tags On Vacuum Hoses
        GTY287490Courtesy of © TOYOTA, LICENSE AGREEMENT TMS1002
      3. After completing the job, double check that the vacuum hoses are properly connected. The label under the hood shows the proper layout.
      4. When using a vacuum gauge, never force the hose onto a connector that is too large. If a hose has been stretched, air may leak. Use a step-down adapter if necessary.
    10. TORQUE WHEN USING TORQUE WRENCH WITH EXTENSION TOOL
      Fig 6: Identifying Torque Length Dimension
      GTY294574Courtesy of © TOYOTA, LICENSE AGREEMENT TMS1002
      1. Use the formula below to calculate special torque values for situations where SST or an extension tool is combined with the torque wrench.

        Formula

        T' = L2/(L1 + L2) * T

        T' Reading of torque wrench {N*m (kgf*cm, ft.*lbf)}
        T Torque {N*m (kgf*cm, ft.*lbf)}
        L1 Length of SST or extension tool {cm (in.)}
        L2 Length of torque wrench {cm (in.)}
        NOTE:

        If an extension tool or SST is combined with a torque wrench and the wrench is used to tighten to a torque specification in this article , the actual torque will be excessive and parts will be damaged.

  2. FOR VEHICLES EQUIPPED WITH SRS AIRBAG AND SEAT BELT PRETENSIONER 

    The AVALON is equipped with a Supplemental Restraint System (SRS).

    WARNING:
    • Before performing pre-disposal deployment of any SRS component, review and closely follow all applicable environmental and hazardous material regulations. Pre-disposal deployment may be considered hazardous material treatment.
    • Failure to carry out the service operations in the correct sequence could cause the SRS to unexpectedly deploy during servicing and lead to serious injury. Furthermore, if a mistake is made when servicing SRS, it is possible that the SRS may fail to operate properly. Before servicing (including removal or installation of parts, inspection or replacement), be sure to read the following article carefully.
    1. GENERAL NOTICE
      1. As malfunctions of the SRS are difficult to confirm, the Diagnostic Trouble Codes (DTCs) become the most important source of information when troubleshooting. When troubleshooting the SRS, always check the DTCs before disconnecting the battery.
      2. Work must be started at least 90 seconds after the ignition switch is turned off and after the cable is disconnected from the negative (-) battery terminal.

        The SRS is equipped with a back-up power source. If work is started within 90 seconds after turning the ignition switch off and disconnecting the cable from the negative (-) battery terminal, the SRS may deploy.

        When the cable is disconnected from the negative (-) battery terminal, clock and audio system memory is erased. Before starting work, make a note of the settings of each memory system. When work is finished, reset the clock and audio system as before.

        WARNING:

        Never use a back-up power source (battery or other) to avoid erasing system memory. The back-up power source may inadvertently power the SRS and cause it to deploy.

      3. In minor collisions where the SRS does not deploy, the steering pad, front passenger airbag assembly, driver side knee airbag assembly, front seat side airbag assembly, curtain shield airbag assembly and front seat outer belt assembly should be inspected before further use of the vehicle.

        Refer to DISPOSAL for steering pad)

        Refer to DISPOSAL for front passenger airbag assembly)

        Refer to DISPOSAL for driver side knee airbag assembly)

        Refer to DISPOSAL for front seat side airbag assembly (for Manual Seat Type RH Side)

        Refer to DISPOSAL front seat side airbag assembly (for Power Seat)

        Refer to DISPOSAL for curtain shield airbag assembly)

        Refer to DISPOSAL for front seat outer belt assembly)

      4. Never use SRS parts from another vehicle. When replacing parts, use new parts.
      5. Before repairs, remove the airbag sensor assemblies if impacts are likely to be applied to the sensor during repairs.
      6. Never disassemble and repair the center airbag sensor assembly, steering pad, front passenger airbag assembly, curtain shield airbag assembly, front seat side airbag assembly, driver side knee airbag assembly or front seat outer belt assembly.
      7. Replace the airbag sensor assemblies and the airbag assemblies if: 1) damage has occurred from being dropped, or 2) cracks, dents or other defects in the case, bracket or connector are present.
      8. Do not directly expose the airbag sensor assembly or airbag assembly to hot air or flames.
      9. Use a voltmeter / ohmmeter with high impedance (minimum=10 kΩ) for troubleshooting electrical circuits.
      10. Information labels are attached to the SRS components. Follow the instructions on the labels.
      11. After work on the SRS is completed, check the SRS warning light.
    2. SPIRAL CABLE
      Fig 7: Identifying Aligning Mark
      GTY308164Courtesy of © TOYOTA, LICENSE AGREEMENT TMS1002
      1. The steering wheel must be fitted correctly to the steering column with the spiral cable at the neutral position, as cable disconnection and other problems may occur. Refer to the INSPECTION information about correct installation of the steering wheel.
    3. STEERING PAD
      1. When removing the steering pad or handling a new steering pad, it should be placed with the pad surface facing up. See example illustration below.
        Fig 8: Identifying Horn Button Assembly (Example)
        GTY304484Courtesy of © TOYOTA, LICENSE AGREEMENT TMS1002

        Placing the steering pad of the pad surface facing down may lead to a serious accident if the airbag accidentally inflates. Also, do not place anything on top of the steering pad.

      2. Never measure the resistance of the airbag squib. This may cause the airbag to inflate, which could cause serious injury.
        Fig 9: Never Measuring Resistance Of Airbag Squib (Example)
        GTY308150Courtesy of © TOYOTA, LICENSE AGREEMENT TMS1002
      3. Grease or detergents of any kind should not be applied to the steering pad.
      4. Store the horn button assembly in an area where the ambient temperature is below 93°C (200°F), the humidity is not high and electrical noise is not nearby.
      5. When using electric welding anywhere on the vehicle, disconnect the center airbag sensor assembly connectors. These connectors contain shorting springs. This feature reduces the possibility of the airbag or seat belt pretensioner deploying due to currents entering the squib wiring.
      6. When disposing of the vehicle or the steering pad by itself, the airbag should be inflated using an SST before disposal. Refer to DISPOSAL . Activate in a safe away from electrical noise.
    4. FRONT PASSENGER AIRBAG ASSEMBLY
      1. Always place a removed or new front passenger airbag assembly with the airbag inflation direction facing up.

        Placing the airbag assembly with the airbag inflation direction facing down could cause a serious accident if the airbag inflates.

      2. Never measure the resistance of the airbag squib. This may cause the airbag to inflate, which could cause serious injury.
        Fig 10: Identifying Correct And Incorrect Position Of Front Passenger Airbag Assembly
        GTY307951Courtesy of © TOYOTA, LICENSE AGREEMENT TMS1002
      3. Grease or detergents of any kind should not be applied to the front passenger airbag assembly.
        Fig 11: Precaution For Never Apply Grease or Detergents To Airbag Squib (Example)
        GTY308179Courtesy of © TOYOTA, LICENSE AGREEMENT TMS1002
      4. Store the airbag assembly in an area where the ambient temperature is below 93°C (200°F), the humidity is not high and electrical noise is not nearby.
      5. When using electric welding anywhere on the vehicle, disconnect the center airbag sensor assembly connectors. These connectors contain shorting springs. This feature reduces the possibility of the airbag deploying due to currents entering the squib wiring.
      6. When disposing of a vehicle or the airbag assembly unit by itself, the airbag should be deployed using SST before disposal. Refer to DISPOSAL .

        Activate in a safe place away from electrical noise.

    5. DRIVER SIDE KNEE AIRBAG ASSEMBLY
      1. Always store a removed or new driver side knee airbag assembly with the airbag inflating direction facing upward.
        Fig 12: Identifying Correct And Incorrect Position Of Driver Side Knee Airbag Assembly (Example)
        GTY303360Courtesy of © TOYOTA, LICENSE AGREEMENT TMS1002

        Placing the airbag assembly with the airbag inflation direction facing downward could cause a serious accident if the airbag inflates.

      2. Never measure the resistance of the airbag squib. This may cause the airbag to inflate, which could cause serious injury.
        Fig 13: Precaution For Never Measuring Resistance Of Airbag Squib (Example)
        GTY308200Courtesy of © TOYOTA, LICENSE AGREEMENT TMS1002
      3. Grease or detergents of any kind should not be applied to the driver side knee airbag assembly.
      4. Store the driver side knee airbag assembly where the ambient temperature remains below 93°C (200°F), without high humidity and away from electrical noise.
      5. When using electric welding anywhere on the vehicle, disconnect center airbag sensor assembly connectors. These connectors contain shorting springs. This feature reduces the possibility of the airbag deploying due to current entering the squib wiring.
      6. When disposing of a vehicle or the instrument panel lower airbag assembly unit by itself, the airbag should be inflated using an SST before disposal. Refer to DISPOSAL .

        Activate in a safe place away from electrical noise.

    6. FRONT SEAT SIDE AIRBAG ASSEMBLY
      1. Always place a removed or new front seat side airbag assembly with the airbag inflation direction facing up.

        Placing the airbag assembly with the airbag inflation direction facing download could cause a serious accident if the airbag deploys.

      2. Never measure the resistance of the airbag squib. This may cause the airbag to inflate, which could cause serious injury.
        Fig 14: Never Measuring Resistance Of Airbag Squib (Example)
        GTY302708Courtesy of © TOYOTA, LICENSE AGREEMENT TMS1002
      3. Grease or detergents of any kind should not be applied to the front seat side airbag assembly.
      4. Store the airbag assembly in an area where the ambient temperature is below 93°C (200°F), the humidity is not high and electrical noise is not nearby.
      5. When using electric welding anywhere on the vehicle, disconnect the center airbag sensor assembly connectors. These connectors contain shorting springs. This feature reduces the possibility of the airbag deploying due to currents entering the squib wiring.
      6. When disposing of a vehicle or the airbag assembly unit by itself, the airbag should be deployed using SST before disposal. Refer to DISPOSAL for Manual Seat Type RH Side. Refer to DISPOSAL for Power Seat).

        Activate in a safe place away from electrical noise.

    7. CURTAIN SHIELD AIRBAG ASSEMBLY
      1. Always place the removed or new curtain shield airbag assembly in a clear plastic bag, and keep it in a safe place.
        Fig 15: Covering Curtain Shield Airbag Assembly (Example)
        GTY294997Courtesy of © TOYOTA, LICENSE AGREEMENT TMS1002
        NOTE:

        Plastic bag is re-useable.

        WARNING:

        Never disassemble the curtain shield airbag assembly.

      2. Never measure the resistance of the airbag squib. This may cause the airbag to inflate, which could cause serious injury.
        Fig 16: Never Measuring Resistance Of Airbag Squib (Example)
        GTY300460Courtesy of © TOYOTA, LICENSE AGREEMENT TMS1002
      3. Grease or detergents of any kind should not be applied to the curtain shield airbag assembly.
      4. Store the airbag assembly in an area where the ambient temperature is below 93°C (200°F), the humidity is not high and electrical noise is not nearby.
      5. When using electric welding anywhere on the vehicle, disconnect the center airbag sensor assembly connectors. These connectors contain shorting springs. This feature reduces the possibility of the airbag deploying due to currents entering the squib wiring.
      6. When disposing of a vehicle or the curtain shield airbag assembly unit, the airbag should be deployed using SST before disposal. Refer to DISPOSAL .

        Activate in a safe place away from electrical noise.

    8. FRONT SEAT OUTER BELT ASSEMBLY (SEAT BELT PRETENSIONER)
      1. Never measure the resistance of the seat belt pretensioner. This may cause the seat belt pretensioner to activate, which could cause serious injury.
        Fig 17: Precaution For Never Measuring Resistance Of Seat Belt Pretensioner (Example)
        GTY308147Courtesy of © TOYOTA, LICENSE AGREEMENT TMS1002
      2. Never disassemble the seat belt pretensioner.
      3. Never install the seat belt pretensioner on another vehicle.
      4. Store the seat belt pretensioner in an area where the ambient temperature is below 80°C (176°F), the humidity is not high and electrical noise is not nearby.
      5. When using electric welding anywhere on the vehicle, disconnect the center airbag sensor assembly connectors. These connectors contain shorting springs. This feature reduces the possibility of the airbag deploying due to currents entering the squib wiring.
      6. When disposing of a vehicle or the seat belt pretensioner unit by itself, the seat belt pretensioner should be activated before disposal. Refer to DISPOSAL . Activate in a safe place away from electrical noise.
      7. As the seat belt pretensioner is hot after being activated, allow some time for it to cool down sufficiently before disposal. Never apply water to try to cool down the seat belt pretensioner.
      8. Grease, detergents, oil or water should not be applied to the front seat outer belt.
    9. CENTER AIRBAG SENSOR ASSEMBLY
      1. Never reuse an center airbag sensor assembly that has been involved in a collision where the SRS has deployed.
      2. The connectors to the center airbag sensor assembly should be connected or disconnected with the sensor mounted on the floor. If the connectors are connected or disconnected while the center airbag sensor assembly is not mounted to the floor, the SRS may activate.
      3. Work must be started at least 90 seconds after the ignition switch is turned to the LOCK position and the negative (-) terminal cable is disconnected from the battery, even if only loosening the set bolts of the center airbag sensor assembly.
    10. WIRE HARNESS AND CONNECTOR
      1. All the connectors in the system are a standard yellow color. If the SRS wire harness becomes disconnected or the connector becomes broken, repair or replace it.
  3. ELECTRONIC CONTROL 
    1. REMOVAL AND INSTALLATION OF BATTERY TERMINAL
      Fig 18: Remove/Install Battery Negative Cable
      GTY295799Courtesy of © TOYOTA, LICENSE AGREEMENT TMS1002
      NOTE:

      After disconnecting the negative (-) terminal, it is necessary to perform the initialization of certain systems.

    2. REMOVAL AND INSTALLATION OF BATTERY CABLE
      1. Before performing electronic work, disconnect the cable from the negative (-) battery terminal to prevent component and wire damage caused by accidental short circuits.
      2. When disconnecting the cable, turn the ignition switch and headlight dimmer switch off and loosen the cable nut completely. Perform these operations without twisting or prying the cable. Then disconnect the cable.
      3. Clock settings, radio settings, audio system memory, DTCs and other data are erased when the cable is disconnected from the negative (-) battery terminal. Write down any necessary data before disconnecting the cable.
    3. HANDLING OF ELECTRONIC PARTS
      Fig 19: Precaution For Handling Of Electronic Parts
      GTY306724Courtesy of © TOYOTA, LICENSE AGREEMENT TMS1002
      1. Do not open the cover or case of the ECU unless absolutely necessary. If the IC terminals are touched, the IC may be rendered inoperative by static electricity.
      2. Do not pull the wires when disconnecting electronic connectors. Pull the connector itself.
      3. Do not drop electronic components, such as sensors or relays. If they are dropped on a hard surface, they should be replaced.
      4. When cleaning the engine with steam, protect the electronic components, air filter and emission-related components from water.
      5. Never use an impact wrench to remove or install temperature switches or temperature sensors.
      6. When measuring the resistance between terminals of a wire connector, insert the tester probe carefully to prevent terminals from bending.
  4. REMOVAL AND INSTALLATION OF FUEL CONTROL PARTS 
    1. PLACE FOR REMOVING AND INSTALLING FUEL SYSTEM PARTS
      1. Work in a location with good air ventilation that does not have welders, grinders, drills, electric motors, stoves, or any other ignition sources.
      2. Never work in a pit or near a pit as vaporized fuel will collect in those places.
    2. REMOVING AND INSTALLING FUEL SYSTEM PARTS
      1. Prepare a fire extinguisher before starting the operation.
      2. To prevent static electricity, install a ground wire to the fuel changer, vehicle and fuel tank, do not spray the surrounding area with water. Be careful when performing work in this area, as the work surface will become slippery. Do not clean up gasoline spills with water, as this may cause the gasoline to spread, and possibly create a fire hazard.
      3. Avoid using electric motors, working lights and other electric equipments that can cause sparks or high temperatures.
      4. Avoid using iron hammers as they may create sparks.
      5. Dispose of fuel-contaminated cloth separately using a fire resistant container.
  5. REMOVAL AND INSTALLATION OF ENGINE INTAKE PARTS 
    1. If any metal particles enter inlet system parts, this may damage the engine.
      Fig 20: Identifying Engine Intake Parts
      GTY306046Courtesy of © TOYOTA, LICENSE AGREEMENT TMS1002
    2. When removing and installing inlet system parts, cover the openings of the removed parts and engine openings. Use gummed tape or other suitable materials.
    3. When installing inlet system parts, check that no metal particles have entered the engine or the installed parts.
  6. HANDLING OF HOSE CLAMPS 
    1. Before removing the hose, check the clamp position so that it can be reinstalled in the same position.
      Fig 21: Identifying Hose Clamps
      GTY308281Courtesy of © TOYOTA, LICENSE AGREEMENT TMS1002
    2. Replace any deformed or dented clamps with new ones.
    3. When reusing a hose, attach the clamp on the clamp track portion of the hose.
    4. For a spring type clamp, you may want to spread the tabs slightly after installation by pushing in the direction of the arrows as shown in the illustration.
  7. FOR VEHICLES EQUIPPED WITH MOBILE COMMUNICATION SYSTEMS 
    1. Install the antenna far away from the ECU and sensors of the vehicle electronic systems as possible.
      Fig 22: Installing Antenna
      GTY299093Courtesy of © TOYOTA, LICENSE AGREEMENT TMS1002
    2. Install an antenna feeder at least 20 cm (7.87 in.) away from the ECU and sensors of the vehicle electronic systems. For details about ECU and sensors locations, refer to the appropriate service information on the applicable components.
    3. Keep the antenna and feeder separate from other wirings as much as possible. This will prevent signals sent from the communication equipment from affecting vehicle equipment and vice-versa.
    4. Check that the antenna and feeder are correctly adjusted.
    5. Do not install any high-powered mobile communication system.
  8. FOR VEHICLES EQUIPPED WITH VEHICLE STABILITY CONTROL (VSC) SYSTEM 

    When testing with a 2-wheel drum tester such as a speedometer tester, a combination tester for the speedometer and brake, a chassis dynamometer, or when jacking up the front wheels and turning the wheels, perform the following procedure to enter Inspection Mode and stop the TRAC and VSC systems.

    Enter Inspection Mode to disable TRAC and VSC control when using a chassis dynamometer.

    HINT: 

    • The vehicle may move unexpectedly out of the dynamometer because of TRAC and VSC operations.
    • Pressing the VSC OFF switch does not disable TRAC and VSC operations completely.
    NOTE:
    • Secure the vehicle with a lock chain for safety.
    • When performing procedures related to VSC OFF switch operation, make sure that the mode is VSC OFF mode.
    1. Activating Inspection Mode (When Using the Techstream)
      1. Ensure that the ignition switch is off and the engine is stopped.
      2. Make sure that the shift lever is in P.
      3. Connect the Techstream to the DLC3.
      4. Start the engine.
      5. Turn the Techstream on.
      6. Enter the following menus: Chassis / ABS/VSC/TRAC / Utility / Inspection Mode.
      7. Check that the SLIP indicator, TRAC OFF indicator and VSC OFF indicator lights will come on.

        HINT: 

        If the SLIP indicator, TRAC OFF indicator or VSC OFF indicator light does not come on, repeat the steps.

      8. Turn the ignition switch off.

        HINT: 

        Turning the ignition switch off ends Inspection Mode.

    2. Activating Inspection Mode (When not Using the Techstream)

      HINT: 

      Perform steps from "D" to "H" within 30 seconds.

      1. Ensure that the ignition switch is off and the engine is stopped (Step "A").
      2. Make sure that the shift lever is in P (Step "B").
      3. Start the engine (Step "C").
      4. Apply parking brake by depressing the parking brake pedal (Step "D").
      5. Depress and release the brake pedal twice (Step "E").
      6. Depress and hold the brake pedal down, then release and apply parking brake twice (Step "F").
      7. With parking brake applied, depress and release the brake pedal twice (Step "G").
      8. Check if the SLIP indicator, TRAC OFF indicator and VSC OFF indicator lights will come on (Step "H").

        HINT: 

        If the SLIP indicator, TRAC OFF indicator or VSC OFF indicator light does not come on in step "H", repeat the steps from "A" to "H".

      9. Turn the ignition switch off.

        HINT: 

        Turning the ignition switch off ends Inspection Mode.

  9. FOR VEHICLES EQUIPPED WITH CATALYTIC CONVERTER 
    WARNING:

    If a large amount of unburned gasoline or gasoline vapors flow into the converter, it may cause over heating and create a fire hazard. To prevent this, observe the following precautions.

    1. Use only unleaded gasoline.
    2. Avoid prolonged idling.

      Avoid idling the engine for more than 20 minutes.

    3. Avoid a spark jump test.
      1. Perform a spark jump test only when absolutely necessary. Perform this test as rapidly as possible.
      2. While testing, never race the engine.
    4. Avoid a prolonged engine compression measurement.

      Engine compression measurements must be performed as rapidly as possible.

    5. Do not run the engine when the fuel tank is nearly empty. This may cause the engine to misfire and create an extra load on the converter.
  10. EXPRESSIONS OF IGNITION SWITCH 
    1. The type of ignition switch used on this model differs according to the specifications of the vehicle.

      The expressions listed in the following table are used in this article.

      Switch Type Ignition Switch (position) Engine Switch (condition)
      Expression Ignition switch off LOCK Off
      Ignition switch on (IG) ON On (IG)
      Ignition switch on (ACC) ACC On (ACC)
      Engine start START Start