LEMON Manuals: Even more car manuals for everyone: 1960-2025
Home >> Lexus >> 2009 >> ES 350 >> Repair and Diagnosis >> External Pages >> Different car >> Section 91 (Four Wheel Drive Control System (Diagnostics - Introduction)) >> Four Wheel Drive Control System >> DTC Check / Clear >> DTC Check / Clear
April 5, 2026: LEMON Manuals is launched! Read the announcement.

DTC Check / Clear

WARNING: This page is about a different car, the 2009 Lexus GS 350. However, it is still accessible from the selected car via links, so may be relevant.
  1. DTC CHECK (TECHSTREAM) 
    1. Check the DTCs.
      1. Connect the Techstream to the DLC3.
      2. Turn the engine switch on (IG).
      3. Check the DTCs by following the prompts on the tester screen.

        HINT: 

        Refer to the Techstream operator's manual for further details.

    2. Clear the DTCs.
      1. Connect the Techstream to the DLC3.
      2. Turn the engine switch on (IG).
      3. Clear the DTCs by following the prompts on the tester screen.

        HINT: 

        Refer to the Techstream operator's manual for further details.

  2. DTC CHECK (SST CHECK WIRE) 
    1. Check the DTCs.
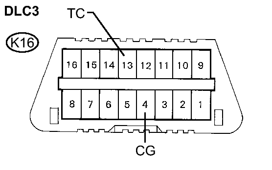
      Fig 1: Identifying DLC3 Connector Terminals
      GTY106450Courtesy of © TOYOTA, LICENSE AGREEMENT TMS1002
      1. Using the SST, connect terminals TC and CG of the DLC3 (to be in the DTC output mode).

        SST: 09843-18040 

      2. Turn the engine switch on (IG).
      3. "DIAG" is displayed on the multi-information display, and the 4WD control ECU checks the system for malfunctions.
      4. If the 4WD control system is normal, "DIAG 4WD OK" will be displayed on the multi-information display (normal system code).
        Fig 2: Display 4WD OK On Multi-Information Display
        GTY106864Courtesy of © TOYOTA, LICENSE AGREEMENT TMS1002
      5. If the 4WD control system is not normal, "DIAG 4WD XX (DTC)" will be displayed on the multi-information display.
        Fig 3: Display DIAG 4WD XX (DTC) On Multi-Information Display
        GTY103629Courtesy of © TOYOTA, LICENSE AGREEMENT TMS1002
    2. Clear the DTCs.
      Fig 4: Identifying DLC3 Connector Terminals
      GTY106450Courtesy of © TOYOTA, LICENSE AGREEMENT TMS1002
      1. Using SST, connect terminals TC and CG of the DLC3.

        SST: 09843-18040 

      2. Turn the engine switch on (IG).
      3. Clear the DTCs stored in the 4WD control ECU by depressing the brake pedal 8 times or more within 5 seconds.
        Fig 5: Display 4WD OK On Multi-Information Display
        GTY106864Courtesy of © TOYOTA, LICENSE AGREEMENT TMS1002
      4. Check that the 4WD indicator light (multi-information display) indicated a "4WD OK".
      5. Turn the engine switch off.
      6. Remove the SST from the terminals of DLC3.