LEMON Manuals: Even more car manuals for everyone: 1960-2025
Home >> Lexus >> 2009 >> ES 350 >> Repair and Diagnosis >> Transmission >> Automatic Trans >> Automatic Transaxle (Service Information) >> Automatic Transaxle Unit >> Reassembly >> Reassembly
April 5, 2026: LEMON Manuals is launched! Read the announcement.

Automatic Transaxle Unit: Reassembly: Reassembly

  1. BEARING POSITION 
    Fig 1: Identifying Bearing Position (1 Of 2)
    GTY143320Courtesy of © TOYOTA, LICENSE AGREEMENT TMS1002
    Fig 2: Identifying Bearing Position (2 Of 2)
    GTY121108Courtesy of © TOYOTA, LICENSE AGREEMENT TMS1002
    Mark Front Race Diameter
    Inside / Outside mm (in.)
    Thrust Bearing Diameter
    Inside / Outside mm (in.)
    Rear Race Diameter
    Inside / Outside mm (in.)
    A - 57.7 (2.271) / 75.2 (2.961) -
    B - 29.1 (1.146) / 48.6 (1.913) 30.7 (1.209) / 48.3 (1.902)
    C 65.9 (2.594) / 80.3 (3.161) 62.6 (2.465) / 82.4 (3.244) -
    D 59.4 (2.339) / 77 (3.032) 53.1 (2.091) / 79 (3.110) -
    E - 56.1 (2.209) / 80.9 (3.185) -
    F - 61.2 (2.409) / 79 (3.110) -
    G - 28 (1.102) / 47.1 (1.854) 26.1 (1.028) / 44 (1.732)
    H 52.2 (2.055) / 70.4 (2.772) 48.9 (1.925) / 72.0 (2.835) -
  2. INSTALL MANUAL VALVE LEVER SHAFT OIL SEAL 
    1. Coat the lip of a new manual valve lever shaft oil seal with MP grease.
      Fig 3: Installing Manual Valve Lever Shaft Oil Seal To Transaxle Case
      GTY112056Courtesy of © TOYOTA, LICENSE AGREEMENT TMS1002
    2. Using SST and a hammer, install the manual valve lever shaft oil seal to the transaxle case.
      • SST: 09950-60010 
        • 09951-00230
      • SST: 09950-70010 
        • 09951-07100

      Oil seal installation depth

      -0.5 to 0.5 mm (-0.0197 to 0.0197 in.)

  3. INSTALL MANUAL VALVE LEVER SHAFT 
    1. Install a new spacer to the parking lock lever sub-assembly.
    2. Install the parking lock lever sub-assembly to the manual valve lever shaft.
    3. Install a new spacer to the manual valve lever sub-assembly.
    4. Install the manual valve lever sub-assembly to the manual valve lever shaft.
    5. Install the manual valve lever shaft to the transaxle case.
      Fig 4: Installing Manual Valve Lever, Shaft And Parking Lock Lever
      GTY112059Courtesy of © TOYOTA, LICENSE AGREEMENT TMS1002
      NOTE:

      Do not damage the manual valve lever shaft oil seal while installing the manual valve lever shaft to the transaxle case.

    6. Using a pin punch (3 mm) and hammer, install a new slotted spring pin to the parking lock lever sub-assembly.
      Fig 5: Driving Out Slotted Spring Pin From Manual Valve Lever Sub-Assembly
      GTY112054Courtesy of © TOYOTA, LICENSE AGREEMENT TMS1002
    7. Turn the spacer and the lever shaft to align the smaller hole of the spacer with the staking position mark on the lever shaft.
      Fig 6: View Of Spacer Staking
      GTY124106Courtesy of © TOYOTA, LICENSE AGREEMENT TMS1002
    8. Using a pin punch, stake the spacer through the small hole.
    9. Check that the spacer does not turn.
    10. Using a pin punch (3 mm) and hammer, install a new slotted spring pin to the manual valve lever sub-assembly.
      Fig 7: Driving Out Slotted Spring Pin From Parking Lock Lever Sub-Assembly
      GTY112025Courtesy of © TOYOTA, LICENSE AGREEMENT TMS1002
    11. Turn the spacer and the lever shaft to align the smaller hole of the spacer with the staking position mark on the lever shaft.
      Fig 8: Staking Spacer
      GTY124103Courtesy of © TOYOTA, LICENSE AGREEMENT TMS1002
    12. Using a pin punch, stake the spacer through the small hole.
    13. Check that the spacer does not turn.
    14. Using needle-nose pliers, install the manual valve shaft retainer spring to the transaxle case.
      Fig 9: Identifying Manual Valve Lever Shaft Retainer Spring
      GTY112018Courtesy of © TOYOTA, LICENSE AGREEMENT TMS1002
  4. INSTALL PARKING LOCK ROD SUB-ASSEMBLY 
    1. Align the dial with the notches on the parking lock lever sub-assembly and install the parking lock rod sub-assembly.
      Fig 10: Identifying Parking Lock Rod Sub-Assembly
      GTY140466Courtesy of © TOYOTA, LICENSE AGREEMENT TMS1002
  5. INSTALL MANUAL DETENT SPRING SUB-ASSEMBLY 
    1. Install the manual detent spring sub-assembly and cover to the transaxle case with the bolt.
      Fig 11: Identifying Manual Detent Spring Sub-Assembly
      GTY134983Courtesy of © TOYOTA, LICENSE AGREEMENT TMS1002

      Torque: 23 N*m ( 234 kgf*cm, 17 ft.*lbf) 

      NOTE:

      Make sure to install the manual detent spring first and then the cover.

  6. INSTALL COUNTER DRIVE GEAR BEARING 
    NOTE:

    Perform this procedure only when the counter drive gear bearing or transaxle case is replaced.

    1. Using SST and a press, install a new counter drive gear bearing and snap ring to the transaxle case.
      Fig 12: Installing Counter Drive Gear Bearing To Transaxle Case
      GTY111850Courtesy of © TOYOTA, LICENSE AGREEMENT TMS1002
      • SST: 09950-60020 
        • 09951-01030
      • SST: 09950-70010 
        • 09951-07100
  7. INSTALL NO. 3 BRAKE PISTON 
    1. Coat the contact surface of the transaxle case with ATF.
      Fig 13: Locating Lip Seal Of Brake Piston
      GTY112061Courtesy of © TOYOTA, LICENSE AGREEMENT TMS1002
    2. Coat the lip seal of the No. 3 brake piston with ATF.
    3. Temporarily install the pawl stopper plate to the transaxle case with the 2 bolts.
      Fig 14: Locating Pawl Stopper Plate Bolts
      GTY112060Courtesy of © TOYOTA, LICENSE AGREEMENT TMS1002
    4. Press the return spring installation surface to install the No. 3 brake piston to the transaxle case.
      Fig 15: Identifying Brake Piston And Return Spring
      GTY111586Courtesy of © TOYOTA, LICENSE AGREEMENT TMS1002
      NOTE:
      • Make sure that the lip of the No. 3 brake piston is not twisted and does not get caught in the transaxle case.
      • After installing, make sure that the protrusions on the No. 3 brake piston and the grooves on the pawl stopper plate are aligned.
    5. Install the return spring to the transaxle case.
    6. Remove the 2 bolts and pawl stopper plate from the transaxle case.
      Fig 16: Identifying Pawl Stopper Plate Bolts
      GTY124111Courtesy of © TOYOTA, LICENSE AGREEMENT TMS1002
    7. Place SST on the brake piston return spring and compress the brake piston return spring with a press.
      Fig 17: Installing Snap Ring To Transaxle Case
      GTY133531Courtesy of © TOYOTA, LICENSE AGREEMENT TMS1002
      • SST: 09387-00070 
      NOTE:

      Stop the press when the brake piston return spring is flush with the snap ring groove. This prevents the brake piston return spring from being deformed.

    8. Using a screwdriver, install the snap ring to the transaxle case as shown in the illustration.
      NOTE:
      • Confirm that the snap ring is secured in the groove of the transaxle case.
      • Be sure to align the opening ends of the snap ring with the protrusions on the brake piston return spring as shown in the illustration.
  8. INSTALL COUNTER DRIVE GEAR 
    1. Using SST and a press, install the bearing inner race (front side) to the counter drive gear.
      Fig 18: View Of Bearing Inner Race (Front Side), Counter Drive Gear And SST
      GTY143934Courtesy of © TOYOTA, LICENSE AGREEMENT TMS1002
      • SST: 09387-00020 
    2. Install the bearing inner race (rear side) and counter drive gear to the transaxle case.
      Fig 19: Installing Bearing Inner Race (Rear Side) And Counter Drive Gear To Transaxle Case
      GTY112057Courtesy of © TOYOTA, LICENSE AGREEMENT TMS1002
      • SST: 09223-15030 
      • SST: 09527-17011 
      • SST: 09950-60020 
        • 09951-00810
      • SST: 09950-70010 
        • 09951-07100
      NOTE:

      There should not be any clearance between the bearing inner race (front side) and counter drive gear.

  9. INSTALL FRONT PLANETARY GEAR ASSEMBLY 
    1. Using SST and a press, press in the planetary gear assembly to the transaxle case.
      Fig 20: Installing Planetary Gear Assembly To Transaxle Case
      GTY112058Courtesy of © TOYOTA, LICENSE AGREEMENT TMS1002
      • SST: 09223-15030 
      • SST: 09527-17011 
      • SST: 09951-01100 
  10. INSTALL NO. 2 BRAKE PISTON 
    1. Coat 2 new O-rings with ATF and install them to the No. 2 brake piston.
      Fig 21: Identifying No. 2 Brake Piston O-Rings
      GTY125613Courtesy of © TOYOTA, LICENSE AGREEMENT TMS1002
      NOTE:

      Ensure that the 2 O-rings are not twisted.

    2. Install the No. 2 brake piston to the transaxle case.
      Fig 22: Identifying No. 2 Brake Piston
      GTY129006Courtesy of © TOYOTA, LICENSE AGREEMENT TMS1002
      NOTE:

      Be careful not to damage the O-rings.

  11. INSTALL 1ST AND REVERSE BRAKE RETURN SPRING SUB-ASSEMBLY 
    1. Install the 1st and reverse brake return spring to the transaxle case.
    2. Place SST on the 1st and reverse brake return spring and compress the 1st and reverse brake return spring with a press.
      Fig 23: Installing Snap Ring To Transaxle Case
      GTY112062Courtesy of © TOYOTA, LICENSE AGREEMENT TMS1002
      • SST: 09387-00060 
      NOTE:

      Stop the press when the 1st and reverse brake return spring is flush with the snap ring groove. This prevents the 1st and reverse brake return spring from being deformed.

    3. Using a screwdriver, install the snap ring to the transaxle case as shown in the illustration.
      NOTE:
      • Confirm that the snap ring is secured in the groove of the transaxle case.
      • Be sure to align the opening ends of the snap ring with the protrusions on the transaxle case as shown in the illustration.
  12. INSTALL NO. 2 BRAKE DISC 
    1. Install the 5 brake discs, 5 brake plates, and brake flange to the transaxle case.
      Fig 24: Identifying Brake Flange, Brake Discs And Brake Plates
      GTY136217Courtesy of © TOYOTA, LICENSE AGREEMENT TMS1002
      NOTE:

      Make sure that the discs, plates, and flange are installed in the correct order.

    2. Using a screwdriver, install the snap ring to the transaxle case.
      Fig 25: Identifying Transaxle Case Snap Ring
      GTY112129Courtesy of © TOYOTA, LICENSE AGREEMENT TMS1002
      NOTE:
      • Confirm that the snap ring is secured in the groove of the transaxle case.
      • Be sure to align the opening ends of the snap ring with the protrusions on the transaxle case as shown in the illustration.
  13. INSPECT CLEARANCE OF NO. 2 BRAKE  See step  />
  14. INSTALL PLANETARY RING GEAR FLANGE 
    1. Install the planetary ring gear flange to the planetary ring gear.
      Fig 26: Identifying Planetary Ring Gear And Flange
      GTY112128Courtesy of © TOYOTA, LICENSE AGREEMENT TMS1002
    2. Using a screwdriver, install the snap ring to the planetary ring gear.
      NOTE:

      Confirm that the snap ring is secured in the groove of the planetary ring gear.

  15. INSTALL PLANETARY RING GEAR 
    1. Install the planetary ring gear to the one-way clutch assembly.
      Fig 27: Identifying Planetary Ring Gear And One-Way Clutch Assembly
      GTY141311Courtesy of © TOYOTA, LICENSE AGREEMENT TMS1002
      NOTE:

      Make sure that the one-way clutch assembly is positioned in the correct direction as shown in the illustration.

  16. INSTALL ONE-WAY CLUTCH ASSEMBLY 
    1. Coat the thrust needle roller bearing with ATF, and install it onto the planetary gear assembly.
      Fig 28: Identifying One-Way Clutch Assembly And Retainer
      GTY111593Courtesy of © TOYOTA, LICENSE AGREEMENT TMS1002
      BEARING DIAMETER: MM (IN.)

      - Inside Outside
      Bearing 56.1 (2.209) 80.9 (3.185)
      NOTE:

      Install the thrust needle roller bearing properly so that the temper colored side of the race will be visible.

    2. Install the one-way clutch assembly to the transaxle case.
      NOTE:

      Make sure that there is no clearance between the retainer and the claw on the one-way clutch assembly. If there is any clearance, the spring of the retainer will be deformed.

    3. Using a screwdriver, install the snap ring to the transaxle case.
      Fig 29: Installing Snap Ring To Transaxle Case
      GTY112127Courtesy of © TOYOTA, LICENSE AGREEMENT TMS1002
      NOTE:
      • Confirm that the snap ring is secured in the groove of the transaxle case.
      • Be sure to align the opening ends of the snap ring with the protrusions on the transaxle case.
  17. INSTALL COUNTER DRIVEN GEAR REAR TAPERED ROLLER BEARING OUTER RACE 
    1. Using SST and a hammer, install the counter driven gear rear tapered roller bearing outer race to the transaxle case.
      Fig 30: Installing Counter Driven Gear Rear Tapered Roller Bearing Outer Race
      GTY112064Courtesy of © TOYOTA, LICENSE AGREEMENT TMS1002
      • SST: 09950-60010 
        • 09951-00650
      • SST: 09950-70010 
        • 09951-07100
      NOTE:

      Be sure to install the counter driven gear rear tapered roller bearing outer race so that there is no clearance between the bearing outer race and the transaxle case. If there is any clearance, the turning torque of the counter drive gear cannot be measured correctly.

  18. INSTALL PARKING LOCK PAWL 
    1. Install the parking lock pawl to the transaxle case with the parking lock pawl shaft.
      Fig 31: Identifying Parking Lock Pawl Components
      GTY112125Courtesy of © TOYOTA, LICENSE AGREEMENT TMS1002
    2. Install the parking lock pawl pin to the transaxle case.
    3. Install the torsion spring to the parking lock pawl.
      Fig 32: Identifying Torsion Spring
      GTY124085Courtesy of © TOYOTA, LICENSE AGREEMENT TMS1002
      NOTE:

      Make sure that one end of the spring is fixed in the hole of the transaxle case and the other end is positioned on the parking lock pawl as shown in the illustration.

  19. INSTALL PARKING LOCK SLEEVE 
    1. Install the parking lock sleeve to the transaxle case.
      Fig 33: Identifying Parking Lock Sleeve
      GTY112124Courtesy of © TOYOTA, LICENSE AGREEMENT TMS1002
  20. INSTALL PAWL STOPPER PLATE 
    1. Install the pawl stopper plate to the transaxle case with the 2 bolts.
      Fig 34: Identifying Pawl Stopper Plate Bolts
      GTY112123Courtesy of © TOYOTA, LICENSE AGREEMENT TMS1002

      Torque: 23 N*m ( 234 kgf*cm, 17 ft.*lbf) 

  21. INSTALL PAWL SHAFT CLAMP 
    1. Install the pawl shaft clamp to the transaxle case with the bolt.
      Fig 35: Identifying Pawl Shaft Clamp Bolt
      GTY137212Courtesy of © TOYOTA, LICENSE AGREEMENT TMS1002

      Torque: 23 N*m ( 234 kgf*cm, 17 ft.*lbf) 

  22. INSTALL COUNTER DRIVEN GEAR FRONT TAPERED ROLLER BEARING 
    1. Using SST and a press, install a new the counter driven gear front tapered roller bearing to the counter driven gear sub-assembly.
      Fig 36: View Of Counter Driven Gear Front Tapered Roller Bearing And SST
      GTY127991Courtesy of © TOYOTA, LICENSE AGREEMENT TMS1002
      • SST: 09950-60010 
        • 09951-00530
      NOTE:

      Be sure to install the counter driven gear front tapered roller bearing so that there is no clearance between the bearing and the counter driven gear. If there is any clearance, the turning torque of the counter drive gear cannot be measured correctly.

  23. INSTALL COUNTER DRIVEN GEAR REAR TAPERED ROLLER BEARING 
    1. Using SST and a press, install a new the counter driven gear rear tapered roller bearing to the counter driven gear sub-assembly.
      Fig 37: View Of Counter Driven Gear Rear Tapered Roller Bearing And SST
      GTY111916Courtesy of © TOYOTA, LICENSE AGREEMENT TMS1002
      • SST: 09950-60010 
        • 09951-00420
      NOTE:

      Be sure to install the counter driven gear rear tapered roller bearing and the differential drive pinion so that there is no clearance between each of them and the counter driven gear.

  24. INSTALL COUNTER DRIVEN GEAR 
    1. Install the counter driven gear sub-assembly to the transaxle case.
      Fig 38: Identifying Counter Driven Gear Sub-Assembly
      GTY143459Courtesy of © TOYOTA, LICENSE AGREEMENT TMS1002
  25. INSTALL COUNTER DRIVE GEAR NUT 
    1. Turn the manual shaft lever 2 notches counterclockwise to set it in the P position as shown in the illustration.
      Fig 39: Identifying Manual Valve Lever Notches And P Position
      GTY112024Courtesy of © TOYOTA, LICENSE AGREEMENT TMS1002
    2. Using SST, install a new nut.
      Fig 40: View Of Planetary Gear Assembly Nut Removal Procedure
      GTY137007Courtesy of © TOYOTA, LICENSE AGREEMENT TMS1002
      • SST: 09387-00130 

      Torque: 120 N*m ( 1,223 kgf*cm, 88 ft.*lbf) 

    3. Turn the manual shaft lever 2 notches clockwise to set it in the N position as shown in the illustration.
      Fig 41: Identifying Manual Valve Lever Notches And N Position
      GTY126531Courtesy of © TOYOTA, LICENSE AGREEMENT TMS1002
    4. Using SST and a torque wrench, measure the turning torque of the bearing while rotating SST at 60 rpm.
      Fig 42: Measuring Turning Torque Of Bearing
      GTY144154Courtesy of © TOYOTA, LICENSE AGREEMENT TMS1002
      • SST: 09387-00130 

      Turning torque

      0.10 to 0.22 N*m (1.02 to 2.24 kgf*cm, 0.89 to 1.94 in.*lbf)

      When the measured value is not within the specified range, gradually tighten the nut until the turning toque falls within the specified range.

      Maximum torque

      180 N*m (1,835 kgf*cm, 132 ft.*lbf)

    5. Using SST and a hammer, stake the planetary gear assembly.
      Fig 43: View Of Counter Drive Gear Nut Unstaking Procedure
      GTY139264Courtesy of © TOYOTA, LICENSE AGREEMENT TMS1002
      • SST: 09930-00010 
  26. INSTALL FRONT DIFFERENTIAL CASE 
    1. Install the differential case sub-assembly to the transaxle case.
      Fig 44: Identifying Differential Case Sub-Assembly
      GTY112121Courtesy of © TOYOTA, LICENSE AGREEMENT TMS1002
  27. INSPECT DIFFERENTIAL SIDE GEAR  See step  />
  28. INSTALL NO. 1 BRAKE PISTON 
    1. Coat 2 new O-rings with ATF and install them to the No. 1 brake piston.
      Fig 45: Identifying No.1 Brake Piston O-Rings
      GTY135944Courtesy of © TOYOTA, LICENSE AGREEMENT TMS1002
      NOTE:

      Ensure that the 2 O-rings are not twisted.

    2. Install the No. 1 brake piston to the oil pump assembly.
      Fig 46: Identifying Brake Piston
      GTY142676Courtesy of © TOYOTA, LICENSE AGREEMENT TMS1002
      NOTE:

      Be careful not to damage the O-rings.

  29. INSTALL 2ND BRAKE PISTON RETURN SPRING SUB-ASSEMBLY 
    1. Install the 3 2nd brake piston return springs to the oil pump assembly.
      Fig 47: Identifying 2nd Brake Piston Return Springs
      GTY112120Courtesy of © TOYOTA, LICENSE AGREEMENT TMS1002
      NOTE:

      Make sure that the 3 2nd brake piston return springs are installed straight through the protrusions on the oil pump assembly.

  30. INSTALL NO. 1 BRAKE DISC 
    1. Install the 4 brake discs, 4 brake plates, and brake flange to the oil pump assembly.
      Fig 48: Identifying Brake Discs, Brake Plates And Brake Flange
      GTY111592Courtesy of © TOYOTA, LICENSE AGREEMENT TMS1002
      NOTE:
      • Make sure that the discs, plates, and flange are installed in the correct order.
      • Be sure to install the flange in the correct direction.
    2. Place SST on the flange and compress the flange with a press.
      Fig 49: View Of No.1 Brake Disc Installation Procedure
      GTY138654Courtesy of © TOYOTA, LICENSE AGREEMENT TMS1002
      • SST: 09387-00070 
      • SST: 09495-65040 
      NOTE:

      Stop the press when the brake piston return spring is flush with the snap ring groove. This prevents the brake piston return spring from being deformed.

    3. Using a screwdriver, install the snap ring to the oil pump assembly as shown in the illustration (#1).
      NOTE:
      • Confirm the snap ring is fixed in the groove of the oil pump assembly.
      • Be sure to align the opening ends of the snap ring with the protrusions on the oil pump assembly as shown in the illustration.
    4. Install the brake snap ring stopper to the oil pump assembly.
      Fig 50: Identifying Proper Brake Snap Ring Stopper Direction
      GTY137825Courtesy of © TOYOTA, LICENSE AGREEMENT TMS1002
      NOTE:

      Be sure to install the brake snap ring stopper in the correct direction.

    5. Using a screwdriver, install the snap ring to the oil pump assembly as shown in the illustration (#2).
      Fig 51: View Of Snap Ring Installation Procedure
      GTY124355Courtesy of © TOYOTA, LICENSE AGREEMENT TMS1002
      NOTE:
      • Confirm that the snap ring is secured in the groove of the oil pump assembly.
      • Be sure to align the opening ends of the snap ring with the protrusions on the oil pump assembly as shown in the illustration.
    6. Check that the brake snap ring stopper can be turned by hand.
      Fig 52: Identifying Proper Snap Ring Installation
      GTY138773Courtesy of © TOYOTA, LICENSE AGREEMENT TMS1002
      NOTE:

      If the snap ring stopper cannot be turned by hand, the snap ring stopper may have been installed upside down, or the snap ring may have not been completely filled in the groove on the oil pump. Remove and install the snap ring and the brake snap ring stopper.

  31. INSPECT CLEARANCE OF NO. 1 BRAKE  See step  />
  32. INSTALL UNDERDRIVE PLANETARY SUN GEAR 
    1. Coat the thrust needle roller bearing with ATF, and install it to the oil pump assembly.
      Fig 53: Identifying Underdrive Planetary Sun Gear And Oil Pump Assembly
      GTY127468Courtesy of © TOYOTA, LICENSE AGREEMENT TMS1002
      BEARING DIAMETER: MM (IN.)

      - Inside Outside
      Bearing 57.7 (2.272) 75.2 (2.961)
      NOTE:

      Install the thrust needle roller bearing properly so that the temper colored side of the race will be visible.

    2. Install the underdrive planetary sun gear to the oil pump assembly.
  33. INSTALL INPUT SHAFT SUB-ASSEMBLY 
    1. Coat the 3 input shaft oil seal rings with ATF and install them to the input shaft.
      Fig 54: Identifying Input Shaft Components
      GTY111588Courtesy of © TOYOTA, LICENSE AGREEMENT TMS1002
      NOTE:

      Do not expand the gap of the oil seal ring too much.

    2. Coat the thrust needle roller bearing and thrust needle roller race with ATF, and install them on the oil pump assembly.
      BEARING DIAMETER: MM (IN.)

      - Inside Outside
      Bearing 29.1 (1.146) 48.6 (1.913)
      Race 30.7 (1.209) 48.3 (1.902)
      NOTE:

      Be sure to install the thrust needle roller bearing in the correct direction.

    3. Install the input shaft to the oil pump assembly.
      Fig 55: Identifying Input Shaft And Oil Pump Assembly
      GTY112117Courtesy of © TOYOTA, LICENSE AGREEMENT TMS1002
  34. INSTALL PLANETARY SUN GEAR SUB-ASSEMBLY 
    1. Using a snap ring expander, install the snap ring to the underdrive planetary gear assembly.
      Fig 56: Identifying Planetary Sun Gear Sub-Assembly Snap Ring
      GTY112115Courtesy of © TOYOTA, LICENSE AGREEMENT TMS1002
    2. Using a snap ring expander, install the front planetary sun gear sub-assembly to the underdrive planetary gear assembly with the snap ring expanded.
  35. INSTALL UNDERDRIVE PLANETARY RING GEAR 
    1. Install the underdrive planetary ring gear to the underdrive planetary gear assembly.
      Fig 57: Identifying Underdrive Planetary Ring Gear And Snap Ring
      GTY127162Courtesy of © TOYOTA, LICENSE AGREEMENT TMS1002
    2. Using needle-nose pliers, install the snap ring to the underdrive planetary ring gear.
      NOTE:

      Confirm that the snap ring is secured in the groove of the underdrive planetary ring gear.

  36. INSTALL NO. 3 BRAKE HUB 
    1. Coat the thrust needle roller bearing with ATF and install it on the underdrive planetary gear assembly.
      Fig 58: Identifying Thrust Needle Roller Bearing
      GTY142834Courtesy of © TOYOTA, LICENSE AGREEMENT TMS1002
      BEARING DIAMETER: MM (IN.)

      - Inside Outside
      Bearing 62.6 (2.464) 82.9 (3.263)
      Race 65.9 (2.594) 80.3 (3.161)
      NOTE:

      Install the thrust needle roller bearing properly so that the temper colored side of the race will be visible.

    2. Coat the race with MP grease and install it to the No. 3 brake hub.
      Fig 59: Identifying Thrust Needle Roller Race
      GTY111587Courtesy of © TOYOTA, LICENSE AGREEMENT TMS1002
    3. Install the No. 3 brake hub to the underdrive planetary gear assembly.
      Fig 60: Identifying Brake Hub And Underdrive Planetary Gear Assembly
      GTY112113Courtesy of © TOYOTA, LICENSE AGREEMENT TMS1002
  37. INSTALL UNDERDRIVE PLANETARY GEAR ASSEMBLY 
    1. Install the underdrive planetary gear assembly to the oil pump assembly.
      Fig 61: Identifying Underdrive Planetary Gear Assembly And Oil Pump Assembly
      GTY112116Courtesy of © TOYOTA, LICENSE AGREEMENT TMS1002
  38. INSTALL NO. 3 BRAKE DISC 
    1. Install the 2 brake flanges, 3 brake discs, and 2 brake plates to the oil pump assembly.
      Fig 62: Identifying Brake Flanges, Brake Discs And Brake Plates
      GTY138239Courtesy of © TOYOTA, LICENSE AGREEMENT TMS1002
      NOTE:

      Make sure that the discs, plates, and flange are installed in the correct order.

    2. Using a screwdriver, install the snap ring to the oil pump assembly.
      Fig 63: Identifying Snap Ring And Brake Piston Return Spring Protrusions
      GTY138343Courtesy of © TOYOTA, LICENSE AGREEMENT TMS1002
      NOTE:
      • Confirm the snap ring is fixed in the groove of the oil pump.
      • Be sure to align the opening ends of the snap ring with the protrusions on the brake piston return spring as shown in the illustration.
  39. INSPECT CLEARANCE OF NO. 3 BRAKE 
  40. INSTALL FRONT OIL PUMP AND GEAR BODY SUB-ASSEMBLY 
    1. Coat the O-ring with ATF and install it to the transaxle case.
      Fig 64: Identifying Thrust Needle Roller Bearing And Thrust Needle Roller Race
      GTY111589Courtesy of © TOYOTA, LICENSE AGREEMENT TMS1002
    2. Coat the thrust needle roller bearing and thrust needle roller race with ATF and install them on the underdrive planetary gear assembly.
      BEARING AND RACE DIAMETER: MM (IN.)

      - Inside Outside
      Bearing 53.1 (2.091) 79 (3.11)
      Race 59.4 (2.339) 77 (3.03)
      NOTE:

      Install the thrust needle roller bearing properly so that the temper colored side of the race will be visible.

    3. Coat the O-ring with ATF and install it to the oil pump.
      Fig 65: Identifying Oil Pump Assembly O-Ring
      GTY131074Courtesy of © TOYOTA, LICENSE AGREEMENT TMS1002
    4. Install the oil pump assembly to the transaxle case with the 7 bolts.

      Torque: 23 N*m ( 234 kgf*cm, 17 ft.*lbf) 

  41. INSTALL DIFFERENTIAL GEAR LUBE APPLY TUBE 
    1. Install the differential gear lube apply tube to the transaxle housing.
      Fig 66: Identifying Differential Gear Lube Apply Tube
      GTY112111Courtesy of © TOYOTA, LICENSE AGREEMENT TMS1002
      NOTE:

      Insert the differential lube apply tube into the transaxle case until it makes contact with the stopper.

    2. Install the apply tube clamp to the differential gear lube apply tube with the bolt.

      Torque: 23 N*m ( 234 kgf*cm, 17 ft.*lbf) 

      NOTE:

      There should be clearance between the differential lube apply tube and apply tube clamp.

  42. INSTALL COUNTER DRIVEN GEAR FRONT TAPERED ROLLER BEARING OUTER RACE 
    1. Install the shim to the transaxle housing.
      Fig 67: Installing Counter Driven Gear Front Tapered Roller Bearing Outer Race
      GTY111920Courtesy of © TOYOTA, LICENSE AGREEMENT TMS1002
    2. Using SST, install a new counter driven gear front tapered roller bearing outer race to the transaxle housing.
      • SST: 09950-60020 
        • 09951-00810
      • SST: 09950-70010 
        • 09951-07100
      NOTE:

      Be sure to install the counter driven gear front tapered roller bearing outer race so that there is no clearance between the shim and the transaxle housing.

  43. INSTALL TRANSAXLE HOUSING 
    1. Remove packing material from the contact surface between the transaxle housing and case.
      NOTE:

      Make sure that there is no ATF on the contact surface.

    2. Apply FIPG to the transaxle case.
      Fig 68: Identifying FIPG Applying Area
      GTY133204Courtesy of © TOYOTA, LICENSE AGREEMENT TMS1002

      FIPG

      Toyota Genuine Seal Packing 1281, Three Bond 1281 or equivalent.

      NOTE:

      Apply a bead of FIPG (width 1.2 mm (0.047 in.)) along the sealing surface.

    3. Install the transaxle housing to the transaxle case with the 20 bolts.
      Fig 69: Identifying Transaxle Housing Bolts
      GTY123270Courtesy of © TOYOTA, LICENSE AGREEMENT TMS1002

      Bolt A 

      Torque: 31 N*m ( 316 kgf*cm, 23 ft.*lbf) 

      Bolt B 

      Torque: 23 N*m ( 234 kgf*cm, 17 ft.*lbf) 

  44. ADJUST COUNTER DRIVEN GEAR PRELOAD 
    1. Using SST and a torque wrench, measure the turning torque of the counter driven gear while rotating SST at 10 rpm.
      Fig 70: Measuring Turning Torque Of Counter Driven Gear
      GTY111921Courtesy of © TOYOTA, LICENSE AGREEMENT TMS1002
      • SST: 09564-33010 

      Turning torque

      Differential side bearing preload 3.29 to 6.07 N*m (33.53 to 61.86 kgf*cm, 2.42 to 4.46 ft.*lbf)

      If the turning torque is not within the specified range, refer to the table below to select a shim of the counter driven gear front tapered roller bearing outer race so that the turning torque is within the specified range.

      Thickness Thickness Thickness Thickness
      2.000 (0.0787) 2.275 (0.0896) 2.525 (0.0994) 2.775 (0.1093)
      2.025 (0.0797) 2.300 (0.0906) 2.550 (0.1004) 2.800 (0.1102)
      2.050 (0.0807) 2.325 (0.0915) 2.575 (0.1014) 2.825 (0.1112)
      2.075 (0.0817) 2.350 (0.0925) 2.600 (0.1024) 2.850 (0.1122)
      2.100 (0.0827) 2.375 (0.0935) 2.625 (0.1034) 2.875 (0.1132)
      2.125 (0.0837) 2.400 (0.0945) 2.650 (0.1043) 2.900 (0.1142)
      2.150 (0.0847) 2.425 (0.0955) 2.675 (0.1053) 2.925 (0.1152)
      2.175 (0.0856) 2.450 (0.0965) 2.700 (0.1063) 2.950 (0.1161)
      2.200 (0.0866) 2.475 (0.0974) 2.725 (0.1073) 2.975 (0.1171)
      2.225 (0.0876) 2.500 (0.0984) 2.750 (0.1083) 3.000 (0.1181)
      2.250 (0.0886) - - -
  45. INSTALL NO. 1 CLUTCH DISC 
    1. Install the clutch flange, 4 clutch discs, and 4 clutch plates to the direct multiple disc clutch assembly.
      Fig 71: Identifying Clutch Flanges, Clutch Discs And Clutch Plates
      GTY112110Courtesy of © TOYOTA, LICENSE AGREEMENT TMS1002
      NOTE:

      Make sure that the flange, discs, and plates are installed in the correct order.

    2. Using a screwdriver, install the 2 snap rings to the direct multiple disc clutch assembly.
      Fig 72: Identifying Direct Multiple Disc Clutch Assembly Snap Rings
      GTY141505Courtesy of © TOYOTA, LICENSE AGREEMENT TMS1002
      NOTE:

      Confirm that the snap ring is secured in the groove of the direct multiple disc clutch assembly.

  46. INSPECT CLEARANCE OF NO. 1 CLUTCH DISC  See step  />
  47. INSTALL REAR PLANETARY SUN GEAR ASSEMBLY 
    1. Coat the thrust needle roller bearing and thrust needle roller race with ATF, and install them to the direct multiple disc clutch assembly.
      Fig 73: Identifying Thrust Needle Roller Bearing And Thrust Needle Roller Race
      GTY111590Courtesy of © TOYOTA, LICENSE AGREEMENT TMS1002
      BEARING AND RACE DIAMETER: MM (IN.)

      - Inside Outside
      Bearing 28 (1.10) 47.1 (1.854)
      Race 26.1 (1.028) 44 (1.73)
      NOTE:

      Install the thrust needle roller bearing properly so that the temper colored side of the race will be visible.

    2. Install the rear planetary sun gear to the direct multiple disc clutch assembly.
      Fig 74: Identifying Rear Planetary Sun Gear And Direct Multiple Disc Clutch Assembly
      GTY112107Courtesy of © TOYOTA, LICENSE AGREEMENT TMS1002
    3. Using a snap ring expander, install the snap ring to the direct multiple disc clutch assembly.
      Fig 75: Identifying Direct Multiple Disc Clutch Assembly Snap Ring
      GTY138847Courtesy of © TOYOTA, LICENSE AGREEMENT TMS1002
  48. INSTALL NO. 2 CLUTCH DISC 
    1. Install the clutch flange, 3 clutch discs, and 3 clutch plates to the direct multiple disc clutch assembly.
      Fig 76: Identifying Clutch Flange, Clutch Discs And Clutch Plates
      GTY112106Courtesy of © TOYOTA, LICENSE AGREEMENT TMS1002
      NOTE:

      Make sure that the flange, discs, and plates are installed in the correct order.

  49. INSTALL DIRECT MULTIPLE DISC CLUTCH SNAP RING 
    1. Coat a new O-ring with ATF and install it to the direct multiple disc clutch assembly.
      Fig 77: Identifying Intermediate Shaft Oil Seal And O-Ring
      GTY112101Courtesy of © TOYOTA, LICENSE AGREEMENT TMS1002
    2. Coat a new intermediate shaft oil seal ring with ATF and install it to the intermediate shaft.
    3. Install the No. 2 direct clutch piston to the direct multiple disc clutch assembly.
      Fig 78: Installing No. 2 Direct Clutch Piston To Direct Multiple Disc Clutch
      GTY111585Courtesy of © TOYOTA, LICENSE AGREEMENT TMS1002
      NOTE:

      Be sure to engage the claws on the direct multiple disc clutch assembly to the grooves on the No. 2 direct clutch piston.

    4. Using a screwdriver, install the snap ring to the direct multiple disc clutch assembly.
      Fig 79: Installing Snap Ring To Direct Multiple Disc Clutch Assembly
      GTY112105Courtesy of © TOYOTA, LICENSE AGREEMENT TMS1002
      NOTE:

      Position the opening of the snap ring as shown in the illustration.

  50. INSPECT CLEARANCE OF NO. 2 CLUTCH DISC  See step  />
  51. INSTALL REAR MULTIPLE DISC CLUTCH ASSEMBLY 
    1. Coat the thrust needle roller bearing with ATF and install it on the transaxle case.
      Fig 80: Identifying Rear Multiple Disc Clutch Assembly
      GTY142178Courtesy of © TOYOTA, LICENSE AGREEMENT TMS1002
      BEARING DIAMETER: MM (IN.)

      - Inside Outside
      Bearing 61.2 (2.409) 79 (3.11)
    2. Install the direct multiple disc clutch assembly to the transaxle case.
    3. Clean the contact surface of the transaxle case and transaxle rear cover.
    4. As shown in the illustration, place a straight edge on the multiple direct clutch drum and measure the distance between the transaxle case and the straight edge using vernier calipers (Dimension A).
      Fig 81: Identifying Distance Between Transaxle Case And Straight Edge
      GTY111924Courtesy of © TOYOTA, LICENSE AGREEMENT TMS1002
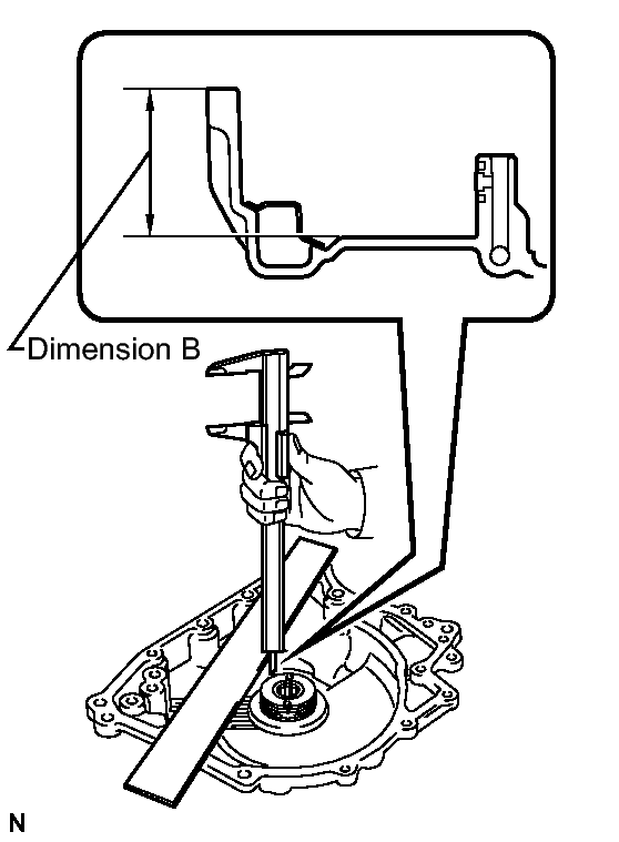
    5. Using vernier calipers and a straight edge, measure the distance shown in the illustration. (Dimension B)
      Fig 82: Measuring Dimension B
      GTY124642Courtesy of © TOYOTA, LICENSE AGREEMENT TMS1002
    6. Calculate the end play value using the following formula:

      End play = Dimension B - Dimension A

      End play

      0.007 to 1.113 mm (0.0003 to 0.0438 in.)

  52. INSTALL TRANSAXLE REAR COVER SUB-ASSEMBLY 
    1. Using SST and a hammer, install the needle roller bearing into the transaxle rear cover.
      Fig 83: Installing Needle Roller Bearing Into Transaxle Rear Cover
      GTY127448Courtesy of © TOYOTA, LICENSE AGREEMENT TMS1002
      • SST: 09950-60010 
        • 09951-00220
      • SST: 09950-70010 
        • 09951-07100

      Press installation depth

      21.5 to 21.9 mm (0.8464 to 08622 in.)

    2. Apply adhesive to the 2 "TORX" screws.

      Adhesive

      Toyota Genuine Adhesive 1324, Three Bond 1324 or equivalent

    3. Using a "TORX" wrench (T30), install the transaxle rear cover plate to the transaxle rear cover with the 2 "TORX" screws.
      Fig 84: Identifying Transaxle Rear Cover Plate Screws
      GTY141524Courtesy of © TOYOTA, LICENSE AGREEMENT TMS1002

      Torque: 7.5 N*m ( 76 kgf*cm, 66 in.*lbf) 

    4. Coat the thrust needle roller bearing and thrust needle roller race with ATF and install it on the transaxle case.
      Fig 85: Identifying Oil Seal Ring, Thrust Needle Roller Bearing And Thrust Needle Roller Race
      GTY111591Courtesy of © TOYOTA, LICENSE AGREEMENT TMS1002
      BEARING DIAMETER: MM (IN.)

      - Inside Outside
      Bearing 48.9 (1.925) 72.0 (2.835)
      Race 52.2 (2.055) 70.4 (2.772)
    5. Coat the 2 new oil seals with ATF and install them to the transaxle rear cover.
    6. Coat the 3 O-rings with ATF and install them to the transaxle case.
      Fig 86: Identifying Transaxle Case O-Rings
      GTY136800Courtesy of © TOYOTA, LICENSE AGREEMENT TMS1002
      NOTE:

      Ensure that the 3 O-rings are not twisted.

    7. Remove packing material from the contact surfaces between the transaxle rear cover and transaxle case.
      Fig 87: Identifying Packing Material
      GTY130475Courtesy of © TOYOTA, LICENSE AGREEMENT TMS1002
      NOTE:

      Make sure that there is no ATF on the contact surface.

      FIPG

      Toyota Genuine Seal Packing 1281, Three Bond 1281 or equivalent.

    8. Install the transaxle rear cover to the transaxle case with the 14 bolts.
      Fig 88: Identifying Transaxle Rear Cover Bolts
      GTY112103Courtesy of © TOYOTA, LICENSE AGREEMENT TMS1002

      Bolt A 

      Torque: 23 N*m ( 234 kgf*cm, 17 ft.*lbf) 

      Bolt B 

      Torque: 17 N*m ( 173 kgf*cm, 12 ft.*lbf) 

    9. Install a new gasket to the refill plug.
      Fig 89: Identifying Refill Plug And Gasket
      GTY112102Courtesy of © TOYOTA, LICENSE AGREEMENT TMS1002
    10. Install the refill plug to the transaxle rear cover.

      Torque: 49 N*m ( 500 kgf*cm, 36 ft.*lbf) 

    11. Coat 2 new O-rings with ATF and install them to the 2 No. 1 automatic transaxle case plugs.
      Fig 90: Identifying Automatic Transaxle Case Plugs And O-Rings
      GTY112075Courtesy of © TOYOTA, LICENSE AGREEMENT TMS1002
    12. Install the 2 No. 1 automatic transaxle case plugs to the transaxle rear cover.

      Torque: 7.4 N*m ( 75 kgf*cm, 65 in.*lbf) 

  53. INSPECT INPUT SHAFT END PLAY  See step  />
  54. INSTALL TRANSAXLE CASE GASKET 
    1. Coat the 2 gaskets with ATF and install them to the transaxle case.
      Fig 91: Identifying Transaxle Case Gaskets
      GTY132513Courtesy of © TOYOTA, LICENSE AGREEMENT TMS1002
  55. INSTALL TRANSMISSION VALVE BODY ASSEMBLY 
    1. Install the valve body assembly to the transaxle case with the 11 bolts.
      Fig 92: Identifying Transmission Valve Body Assembly Bolts
      GTY112021Courtesy of © TOYOTA, LICENSE AGREEMENT TMS1002

      Torque: 11 N*m ( 112 kgf*cm, 8 ft.*lbf) 

      Bolt length 
      Bolt A 25 mm (0.98 in.)
      Bolt B 30 mm (1.18 in.)
      Bolt C 35 mm (1.38 in.)
      Bolt D 45 mm (1.77 in.)
      Bolt E 55 mm (2.17 in.)
      NOTE:
      • When installing the transmission valve body assembly, be careful not to allow the transmission revolution sensor and transaxle case to interfere each other.
      • Be sure to insert the pin of the manual valve lever into the groove on the end of the manual valve.
      • First, temporarily tighten the bolts marked by (*1) in the illustration because they are positioning bolts.
  56. INSTALL VALVE BODY OIL STRAINER ASSEMBLY 
    1. Coat a new O-ring with ATF and install it to the oil strainer assembly.
      Fig 93: Identifying Oil Strainer O-Ring
      GTY139685Courtesy of © TOYOTA, LICENSE AGREEMENT TMS1002
      NOTE:

      Ensure that the O-ring is not twisted or pinched.

    2. Install the oil strainer assembly to the valve body assembly with the 2 bolts.
      Fig 94: Locating Oil Strainer Bolts
      GTY139852Courtesy of © TOYOTA, LICENSE AGREEMENT TMS1002

      Torque: 11 N*m ( 112 kgf*cm, 8 ft.*lbf) 

  57. INSTALL AUTOMATIC TRANSAXLE OIL PAN SUB-ASSEMBLY 
    1. Install the 2 magnets in the automatic transaxle oil pan sub-assembly.
      Fig 95: Identifying Magnets
      GTY131730Courtesy of © TOYOTA, LICENSE AGREEMENT TMS1002
    2. Apply adhesive to the 18 bolts.

      Adhesive

      Toyota Genuine Adhesive 1344, Three Bond 1344 or equivalent.

    3. Install the automatic transaxle oil pan sub-assembly and a new gasket to the transaxle case with the 18 bolts.
      Fig 96: Locating Oil Pan Bolts
      GTY132092Courtesy of © TOYOTA, LICENSE AGREEMENT TMS1002

      Torque: 7.0 N*m ( 71 kgf*cm, 62 in.*lbf) 

      NOTE:
      • In order to ensure proper sealing of the transmission pan bolts, apply adhesive to the bolts and install them within 10 minutes of adhesive application.
      • Completely remove any oil or grease from the contact surface of the transaxle case and oil pan sub-assembly with the gasket before installation.
    4. Install the No. 1 oil filler tube from the automatic transaxle assembly.
      Fig 97: Locating Oil Filler Tube
      GTY129171Courtesy of © TOYOTA, LICENSE AGREEMENT TMS1002
    5. Install the overflow plug and a new gasket to the oil pun sub-assembly.
      Fig 98: Locating Overflow Plug
      GTY132229Courtesy of © TOYOTA, LICENSE AGREEMENT TMS1002

      Torque: 40 N*m ( 408 kgf*cm, 30 ft.*lbf) 

  58. INSTALL NO. 1 TRANSAXLE CASE PLUG 
    1. Install the 3 gaskets to the 3 hexagon bolts.
    2. Apply adhesive to the 3 hexagon bolts.

      Adhesive

      Toyota Genuine Adhesive 1344, Three Bond 1344 or equivalent.

      NOTE:

      In order to ensure proper sealing of the hexagon bolts, apply adhesive to the bolts and install them within 10 minutes of adhesive application.

    3. Install the 3 hexagon bolts to the transaxle housing with the gaskets.
      Fig 99: Identifying Transaxle Housing Hexagon Bolts
      GTY112074Courtesy of © TOYOTA, LICENSE AGREEMENT TMS1002

      Torque: 29 N*m ( 296 kgf*cm, 21 ft.*lbf) 

    4. Coat 3 new O-rings with the ATF and install them to the 3 No. 1 transaxle case plugs.
      Fig 100: Identifying Transaxle Case Plugs
      GTY112073Courtesy of © TOYOTA, LICENSE AGREEMENT TMS1002
    5. Install the 3 No. 1 transaxle case plugs to the transaxle case.

      Torque: 7.4 N*m ( 75 kgf*cm, 65 in.*lbf) 

  59. INSTALL OIL COOLER TUBE UNION (OUTLET OIL COOLER UNION) 
    1. Coat a new O-ring with ATF and install it to the oil cooler tube union (outlet oil cooler union).
      Fig 101: Identifying Oil Cooler Tube Union (Outlet Oil Cooler Union)
      GTY112182Courtesy of © TOYOTA, LICENSE AGREEMENT TMS1002
    2. Install the oil cooler tube union (outlet oil cooler union) to the transaxle case as shown in the illustration.

      Torque: 27 N*m ( 275 kgf*cm, 20 ft.*lbf) 

  60. INSTALL OIL COOLER TUBE UNION (INLET OIL COOLER UNION) 
    1. Coat a new O-ring with ATF and install it to the oil cooler tube union (inlet oil cooler union).
      Fig 102: Identifying Oil Cooler Tube Union (Inlet Oil Cooler Union)
      GTY112181Courtesy of © TOYOTA, LICENSE AGREEMENT TMS1002
    2. Install the oil cooler tube union (inlet oil cooler union) to the transaxle case.

      Torque: 27 N*m ( 275 kgf*cm, 20 ft.*lbf) 

  61. INSTALL PARK/NEUTRAL POSITION SWITCH ASSEMBLY 
    1. Align the protrusions of the park/neutral position switch.
      Fig 103: Identifying Park/Neutral Position Switch Protrusions
      GTY112081Courtesy of © TOYOTA, LICENSE AGREEMENT TMS1002
    2. Install the park/neutral position switch to the control shaft with the 2 bolts.
      Fig 104: Locating Park/Neutral Position Switch Assembly Bolts
      GTY140490Courtesy of © TOYOTA, LICENSE AGREEMENT TMS1002

      Torque: 5.4 N*m ( 55 kgf*cm, 48 in.*lbf) 

      NOTE:
      • Before installing the park/neutral position switch, remove any dirt or rust on the installation portion of the control shaft. Be sure to install the switch straight along the shaft while being careful not to deform the plate spring that supports the shaft. If the plate spring is deformed, the park/neutral switch cannot be reinstalled correctly.
      • After installing the park/neutral position switch, confirm that the 2 protrusions on the switch are aligned.
    3. Install the control shaft lever to the control shaft with the washer and nut.
      Fig 105: Identifying Control Shaft Lever Nut And Washer
      GTY140791Courtesy of © TOYOTA, LICENSE AGREEMENT TMS1002

      Torque: 13 N*m ( 130 kgf*cm, 9 ft.*lbf) 

  62. INSTALL BREATHER PLUG HOSE 
    1. Install a new O-ring to the breather plug.
      Fig 106: Identifying Breather Plug, Plug Hose And Plug Cap
      GTY112180Courtesy of © TOYOTA, LICENSE AGREEMENT TMS1002
    2. Install the breather plug to the breather plug hose.
    3. Install the breather plug cap to the breather plug hose.
    4. Install the breather plug hose to the transaxle case.
      Fig 107: Identifying Breather Plug Hose
      GTY112179Courtesy of © TOYOTA, LICENSE AGREEMENT TMS1002