LEMON Manuals: Even more car manuals for everyone: 1960-2025
Home >> Lexus >> 2009 >> IS 250 AWD V6-2.5L (4GR-FSE) >> Repair and Diagnosis >> Heating and Air Conditioning >> Control Assembly >> Service and Repair >> Reassembly
April 5, 2026: LEMON Manuals is launched! Read the announcement.

Reassembly








AIR CONDITIONING: INTEGRATION CONTROL AND PANEL: REASSEMBLY

REASSEMBLY

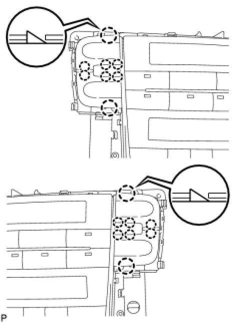
1. INSTALL NO. 1 CONTROL KNOB SUB-ASSEMBLY





(a) Engage the 16 claws, and install the No. 1 control knob sub-assembly.
2. INSTALL INSTRUMENT CLUSTER FINISH PANEL CENTER





(a) Engage the 5 claws.





(b) Install the integration control panel with 6 screws.