LEMON Manuals: Even more car manuals for everyone: 1960-2025
Home >> Lexus >> 2009 >> IS 250 AWD >> Repair and Diagnosis >> External Pages >> Different car >> Section 33 (Lighting (Diagnostics - Introduction)) >> Lighting System >> System Diagram >> System Diagram
April 5, 2026: LEMON Manuals is launched! Read the announcement.

System Diagram

WARNING: This page is about a different car, the 2009 Lexus IS F. However, it is still accessible from the selected car via links, so may be relevant.
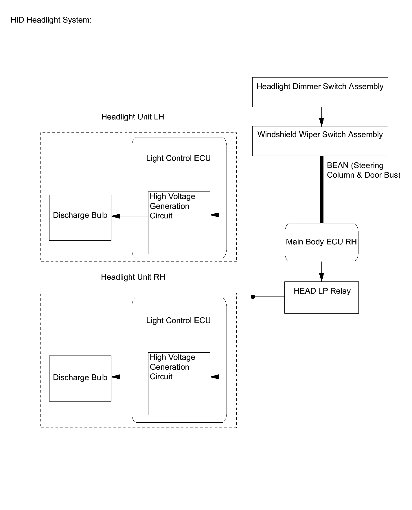
Fig 1: Lighting System Diagram (1 Of 7)
GTY138395Courtesy of © TOYOTA, LICENSE AGREEMENT TMS1002
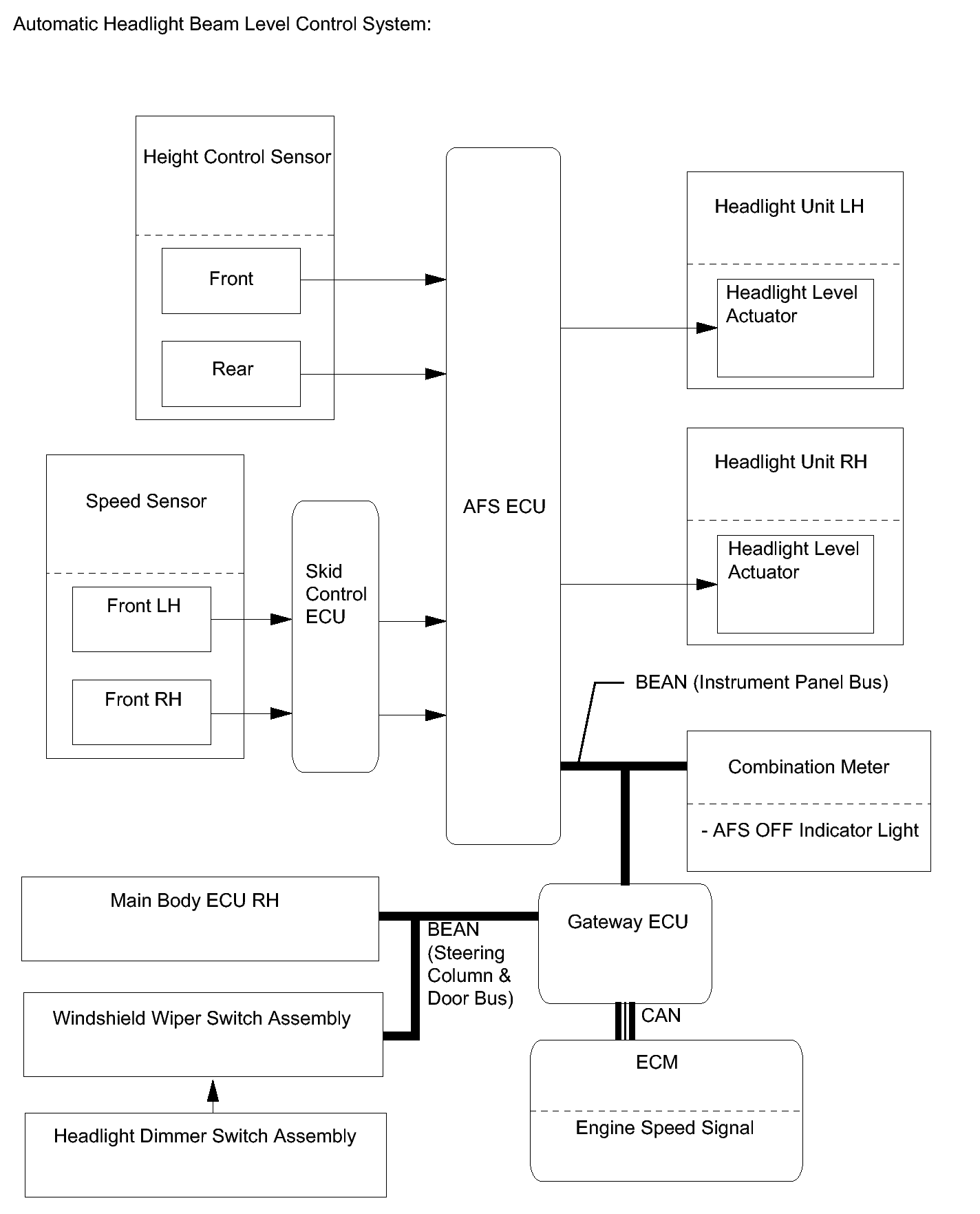
Fig 2: Lighting System Diagram (2 Of 7)
GTY121179Courtesy of © TOYOTA, LICENSE AGREEMENT TMS1002
Fig 3: Lighting System Diagram (3 Of 7)
GTY126527Courtesy of © TOYOTA, LICENSE AGREEMENT TMS1002
Fig 4: Lighting System Diagram (4 Of 7)
GTY141413Courtesy of © TOYOTA, LICENSE AGREEMENT TMS1002
Fig 5: Lighting System Diagram (5 Of 7)
GTY153279Courtesy of © TOYOTA, LICENSE AGREEMENT TMS1002
Fig 6: Lighting System Diagram (6 Of 7)
GTY153280Courtesy of © TOYOTA, LICENSE AGREEMENT TMS1002
Fig 7: Lighting System Diagram (7 Of 7)
GTY141410Courtesy of © TOYOTA, LICENSE AGREEMENT TMS1002

Various switches or sensors are represented as inputs for the different systems mentioned in the diagnostic information. Where direct electrical connections do not exist between components, signals may be carried across the different networks (BEAN, CAN) that exist on the vehicle. If a signal needs to travel from the CAN network to the BEAN network, the gateway ECU allows the signal to travel between these different networks. Some of these different signals can be confirmed or inspected using the Techstream.