LEMON Manuals: Even more car manuals for everyone: 1960-2025
Home >> Lexus >> 2009 >> IS 350 V6-3.5L (2GR-FSE) >> Repair and Diagnosis >> Heating and Air Conditioning >> Control Assembly >> Service and Repair >> Disassembly
April 5, 2026: LEMON Manuals is launched! Read the announcement.

Disassembly








AIR CONDITIONING: INTEGRATION CONTROL AND PANEL: DISASSEMBLY

DISASSEMBLY

1. REMOVE CENTER INSTRUMENT CLUSTER FINISH PANEL





(a) Remove the 6 screws.





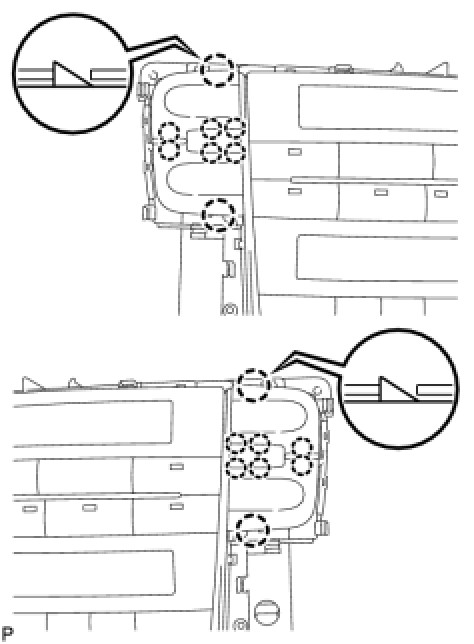
(b) Disengage the 5 claws, and remove the center instrument cluster finish panel.
2. REMOVE NO. 1 CONTROL KNOB SUB-ASSEMBLY





(a) Disengage the 16 claws, and remove the No. 1 control knob sub-assembly.