LEMON Manuals: Even more car manuals for everyone: 1960-2025
Home >> Lexus >> 2009 >> IS 350 >> Repair and Diagnosis >> External Pages >> Different car >> Section 56 (Cruise Control (Diagnostics - Introduction)) >> Cruise Control System >> System Diagram >> System Diagram
April 5, 2026: LEMON Manuals is launched! Read the announcement.

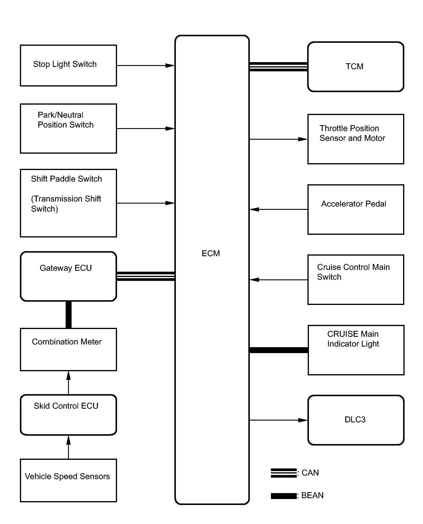
System Diagram

WARNING: This page is about a different car, the 2009 Lexus IS F. However, it is still accessible from the selected car via links, so may be relevant.
Fig 1: Cruise Control System Diagram
GTY153570Courtesy of © TOYOTA, LICENSE AGREEMENT TMS1002
COMMUNICATION

Sender Receiver Signal Line
ECM Combination Meter ECU
(CRUISE Main Indicator Light)
CRUISE main indicator operation signal BEAN
ECM TCM Shift up/down request signal CAN
TCM ECM Shift up/down response CAN