LEMON Manuals: Even more car manuals for everyone: 1960-2025
Home >> Lexus >> 2009 >> IS F >> Repair and Diagnosis >> Engine Mechanical >> Lubrication System >> Lubrication (Service Information) >> Oil Level Sensor >> Inspection >> Inspection
April 5, 2026: LEMON Manuals is launched! Read the announcement.

Oil Level Sensor: Inspection: Inspection

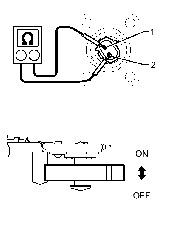
  1. INSPECT ENGINE OIL LEVEL SENSOR 
    1. Measure the resistance according to the value(s) in the table below.
      Fig 1: Measuring Resistance Between Engine Oil Level Sensor Terminals
      GTY120891Courtesy of © TOYOTA, LICENSE AGREEMENT TMS1002

      Standard Resistance

      Tester Connection Condition Specified Condition
      1 - 2 ON Below 1 Ω
      OFF 10 kΩ or higher

      If the result is not as specified, replace the sensor.