LEMON Manuals: Even more car manuals for everyone: 1960-2025
Home >> Lexus >> 2009 >> LS 460 AWD >> Repair and Diagnosis >> Body & Frame >> Door Locks >> Engine Immobilizer >> Engine Immobilizer System >> System Diagram
April 5, 2026: LEMON Manuals is launched! Read the announcement.

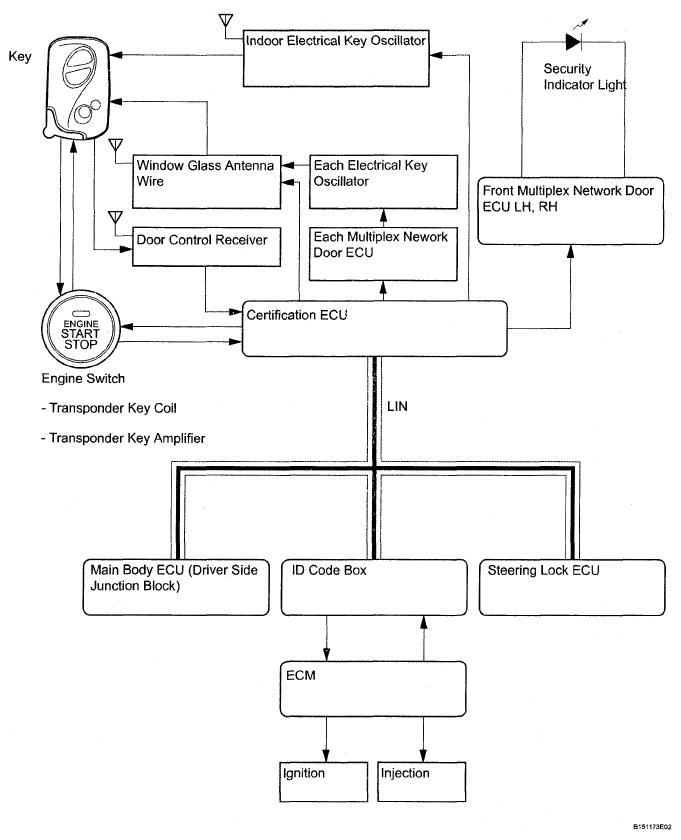
System Diagram

Fig 1: Immobilizer System Diagram
G04944566Courtesy of © TOYOTA, LICENSE AGREEMENT TMS1002

Communication table: 

COMMUNICATION CHART

Transmitting ECU (Transmitter) Receiving ECU (Receiver) Signals Communication method
Certification ECU
  • Front multiplex network door ECU LH
  • Front multiplex network door ECU RH
  • Double lock fail-safe unset signal
  • Security indicator light flash signal
  • Security indicator light illumination signal
  • Engine immobilizer system set/unset signal
LIN
Certification ECU Main body ECU (driver side junction block)
  • Engine start signal
  • Transponder valid signal
  • Steering unlock demand signal
  • Steering lock demand signal
Main body ECU (driver side junction block) Certification ECU
  • Key code recognition signal
  • Engine start operation signal
  • ACC relay activation signal
  • IG relay activation signal
ID code box Certification ECU
  • Matching request random number signal
  • EFI code reception signal
  • Engine start permission demand reception signal
  • S code verification result signal
  • L code verification result signal
  • Steering unlock demand reception signal
  • Steering lock demand reception signal
Steering lock ECU
  • Steering lock release signal
  • Matching request random number signal
Steering lock ECU Certification ECU L code verification signal