LEMON Manuals: Even more car manuals for everyone: 1960-2025
Home >> Lexus >> 2009 >> LS 460L AWD >> Repair and Diagnosis >> External Pages >> Different car >> Section 214 (Lighting (Diagnostics - Introduction)) >> Lighting System >> System Diagram >> System Diagram
April 5, 2026: LEMON Manuals is launched! Read the announcement.

System Diagram

WARNING: This page is about a different car, the 2010 Lexus LS 460L and 2010 Lexus LS 460. However, it is still accessible from the selected car via links, so may be relevant.
Fig 1: Front Lighting System - System Diagram (1 Of 6)
GTY263235Courtesy of © TOYOTA, LICENSE AGREEMENT TMS1002
Fig 2: Front Lighting System - System Diagram (2 Of 6)
GTY289680Courtesy of © TOYOTA, LICENSE AGREEMENT TMS1002
Fig 3: Front Lighting System - System Diagram (3 Of 6)
GTY281122Courtesy of © TOYOTA, LICENSE AGREEMENT TMS1002
Fig 4: Front Lighting System - System Diagram (4 Of 6)
GTY289681Courtesy of © TOYOTA, LICENSE AGREEMENT TMS1002
Fig 5: Front Lighting - System Diagram (1 Of 2)
GTY289682Courtesy of © TOYOTA, LICENSE AGREEMENT TMS1002
Fig 6: Front Lighting - System Diagram (2 Of 2)
GTY283133Courtesy of © TOYOTA, LICENSE AGREEMENT TMS1002
Fig 7: Rear Light - System Diagram
GTY289683Courtesy of © TOYOTA, LICENSE AGREEMENT TMS1002
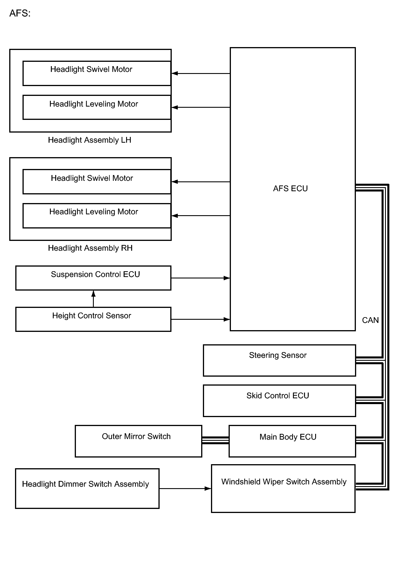
Fig 8: AFS System Diagram
GTY274593Courtesy of © TOYOTA, LICENSE AGREEMENT TMS1002
Fig 9: Automatic Hight Beam System Diagram
GTY280665Courtesy of © TOYOTA, LICENSE AGREEMENT TMS1002