LEMON Manuals: Even more car manuals for everyone: 1960-2025
Home >> Lexus >> 2009 >> LS 460L RWD >> Repair and Diagnosis >> Transmission >> Automatic Trans >> Automatic Transaxle (Aa80E) >> Park/Neutral Position Switch >> Installation
April 5, 2026: LEMON Manuals is launched! Read the announcement.

Park/Neutral Position Switch: Installation

  1. INSTALL PARK/NEUTRAL POSITION SWITCH ASSEMBLY 
    1. Install the switch to the manual valve shaft.
    2. Temporarily install the bolt.
      Fig 1: Locating Park/Neutral Position Switch Bolt
      G06186995Courtesy of © TOYOTA, LICENSE AGREEMENT TMS1002
    3. Install a new lock washer with the nut.

      Torque: 6.9 N*m (70 kgf*cm, 61 in.*lbf) 

      Fig 2: Locating Lock Nut And Lock Washer
      G06186996Courtesy of © TOYOTA, LICENSE AGREEMENT TMS1002
    4. Temporarily install the control shaft lever.
      Fig 3: Locating Transmission Control Shaft Lever Nut
      G06186997Courtesy of © TOYOTA, LICENSE AGREEMENT TMS1002
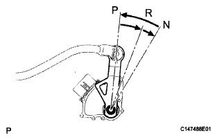
    5. Turn the control shaft lever counterclockwise until it stops, and then turn it clockwise 2 notches to set it to the N position.
    6. Remove the control shaft lever.
      Fig 4: Identifying Control Shaft Lever Position
      G06186998Courtesy of © TOYOTA, LICENSE AGREEMENT TMS1002
    7. Align the groove with the neutral basic line.
    8. Hold the switch in this position and tighten the bolt.

      Torque: 13 N*m (133 kgf*cm, 10 ft.*lbf) 

      Fig 5: Aligning Groove With Neutral Basic Line
      G06186999Courtesy of © TOYOTA, LICENSE AGREEMENT TMS1002
    9. Using a screwdriver, bend the tabs of the lock washer.

      HINT:

      Bend at least 2 washer tabs.

      Fig 6: Prying Lock Washer
      G06187000Courtesy of © TOYOTA, LICENSE AGREEMENT TMS1002
    10. Install the transmission control shaft lever with the spring washer and nut.

      Torque: 16 N*m (163 kgf*cm, 12 ft.*lbf) 

    11. Connect the switch connector.
      Fig 7: Locating Transmission Control Shaft Lever Nut
      G06187001Courtesy of © TOYOTA, LICENSE AGREEMENT TMS1002
  2. CONNECT FLOOR SHIFT GEAR SHIFTING ROD SUB-ASSEMBLY 
    1. Temporarily connect the shifting rod to the connecting rod swivel with the nut.

      HINT:

      The nut will be tightened to a torque specification during the shift lever position adjustment procedure.

      Fig 8: Locating Floor Shift Gear Shifting Rod
      G06187002Courtesy of © TOYOTA, LICENSE AGREEMENT TMS1002
  3. CONNECT CABLE TO NEGATIVE BATTERY TERMINAL 
  4. INSTALL COWL TOP VENTILATOR LOUVER  (See INSTALLATION )
  5. ADJUST SHIFT LEVER POSITION 
    1. Adjust the shift lever position (see ADJUSTMENT  ).
  6. INSPECT PARK/NEUTRAL POSITION SWITCH ASSEMBLY 
    1. Inspect the switch (see ON-VEHICLE INSPECTION  ).
  7. PERFORM INITIALIZATION 
    1. Perform initialization (see INITIALIZATION ).
      NOTE: Certain systems need to be initialized after disconnecting and reconnecting the cable from the negative (-) battery terminal.