LEMON Manuals: Even more car manuals for everyone: 1960-2025
Home >> Lexus >> 2009 >> LS 600hL >> Repair and Diagnosis >> Accessories & Equipment >> Warning Systems >> Rear View Monitor System (Diagnostics) >> Rear View Monitor System >> System Diagram >> System Diagram
April 5, 2026: LEMON Manuals is launched! Read the announcement.

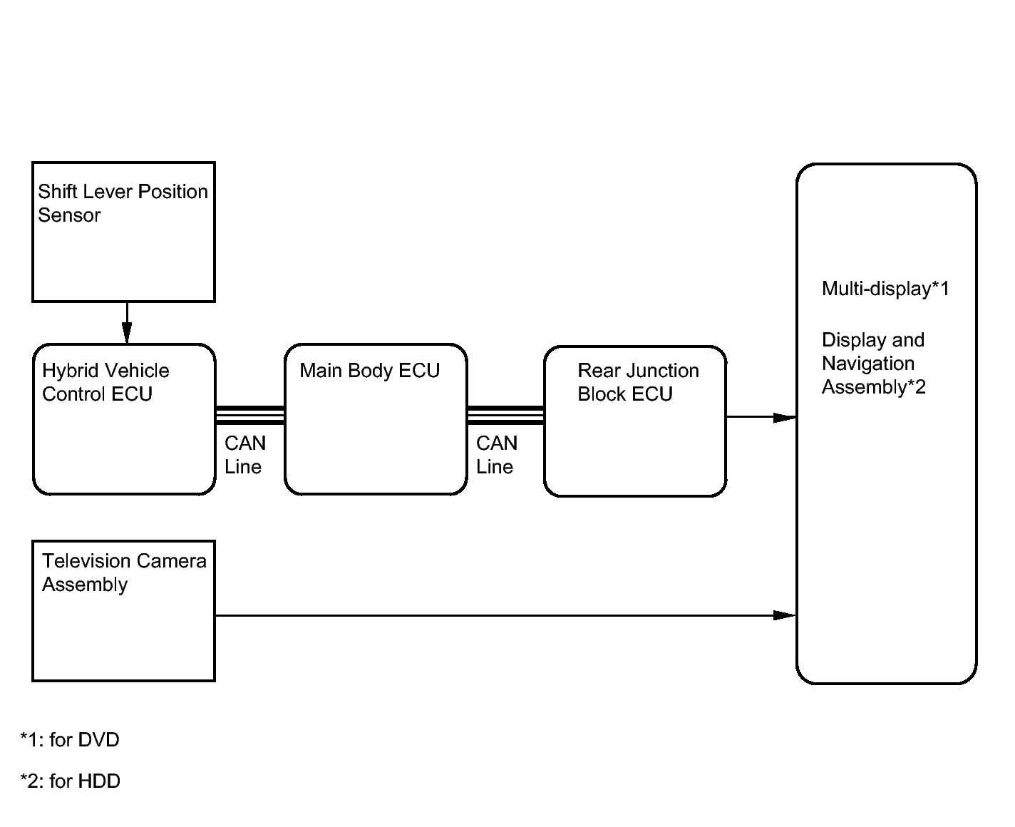
System Diagram

Fig 1: Rear View Monitor - System Diagram
GTY139887Courtesy of © TOYOTA, LICENSE AGREEMENT TMS1002
COMMUNICATION TABLE

Sender Receiver Signal Line
Hybrid vehicle control ECU Rear junction block ECU Shift position switch signal CAN