LEMON Manuals: Even more car manuals for everyone: 1960-2025
Home >> Lexus >> 2009 >> LS 600hL >> Repair and Diagnosis >> External Pages >> Different car >> Section 35 (Lighting) >> Map Light Assembly >> Components
April 5, 2026: LEMON Manuals is launched! Read the announcement.

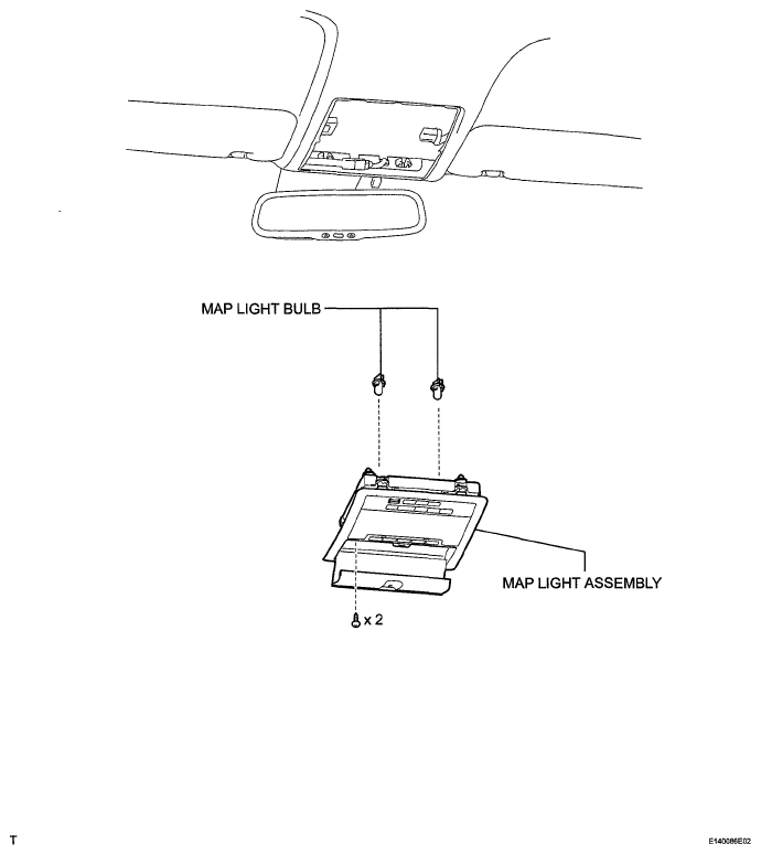
Map Light Assembly: Components

WARNING: This page is about a different car, the 2008 Lexus LS 600hL. However, it is still accessible from the selected car via links, so may be relevant.
Fig 1: Identifying Map Light Assembly Components
G05782901Courtesy of © TOYOTA, LICENSE AGREEMENT TMS1002