LEMON Manuals: Even more car manuals for everyone: 1960-2025
Home >> Lexus >> 2009 >> SC 430 >> Repair and Diagnosis >> Brakes >> Anti-Lock Brakes >> Vehicle Stability Control System (Diagnostics - Introduction) >> Vehicle Stability Control System >> System Diagram >> System Diagram
April 5, 2026: LEMON Manuals is launched! Read the announcement.

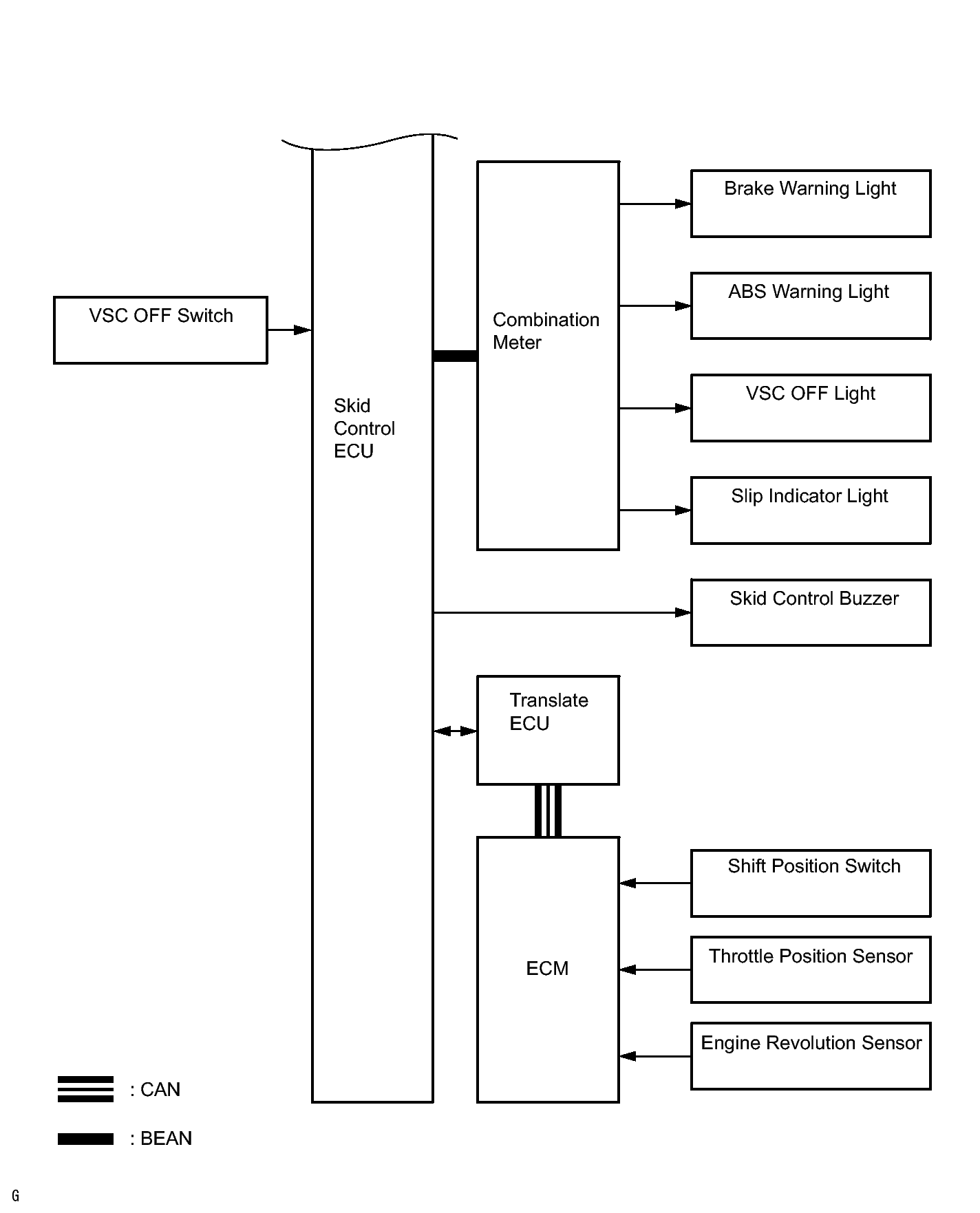
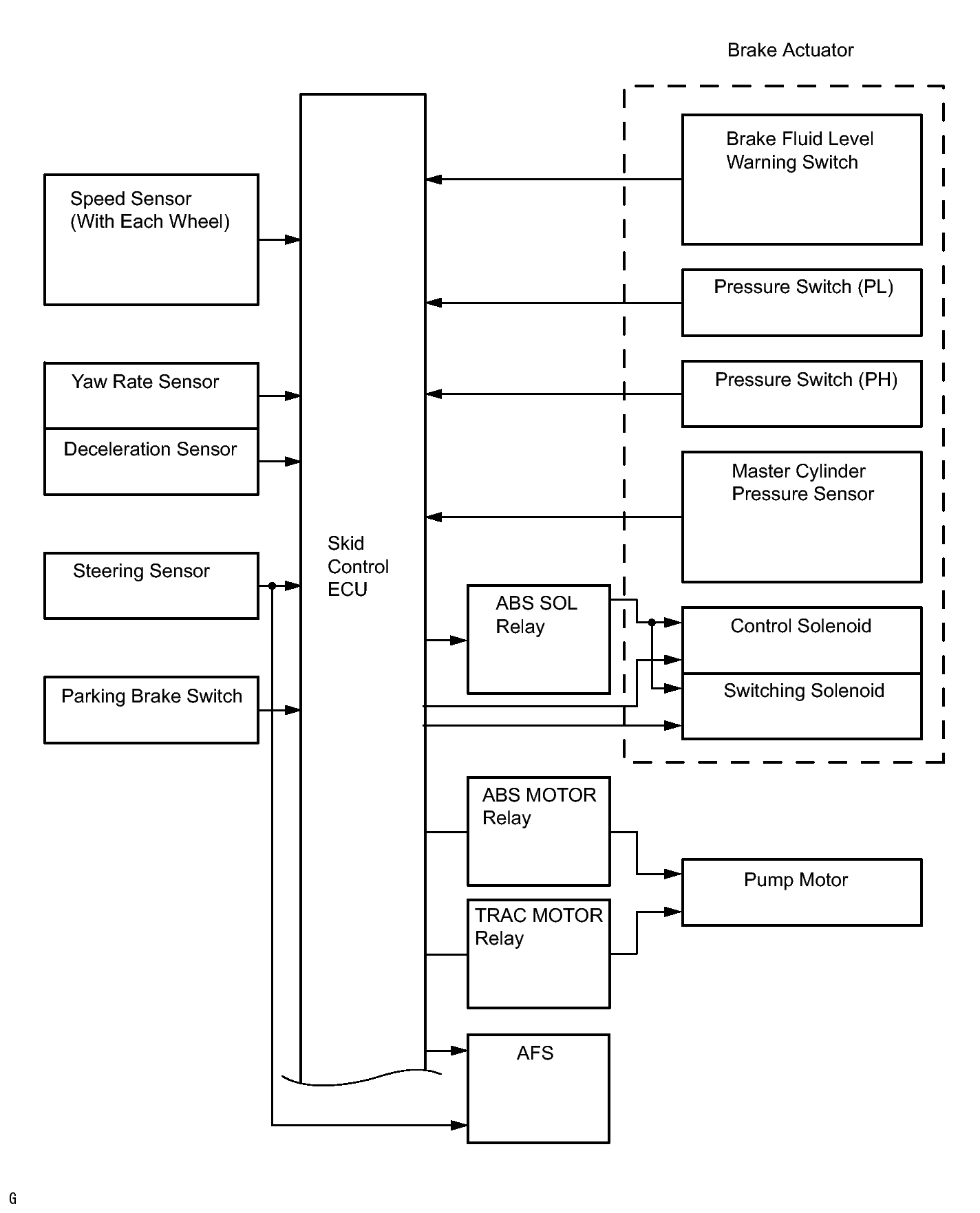
System Diagram

Fig 1: Vehicle Stability Control System - System Diagram (1 Of 2)
GTY128436Courtesy of © TOYOTA, LICENSE AGREEMENT TMS1002
Fig 2: Vehicle Stability Control System - System Diagram (2 Of 2)
GTY110575Courtesy of © TOYOTA, LICENSE AGREEMENT TMS1002