LEMON Manuals: Even more car manuals for everyone: 1960-2025
Home >> Lexus >> 2009 >> SC 430 >> Repair and Diagnosis >> Brakes >> Traction Control >> Vehicle Stability Control System (Diagnostic Codes & Circuit Tests) >> Vehicle Stability Control System >> VSC OFF Indicator Light Circuit >> Procedure
April 5, 2026: LEMON Manuals is launched! Read the announcement.

VSC OFF Indicator Light Circuit: Procedure

  1. CHECK FOR DTC 
    1. Turn the ignition switch ON.
    2. Check that the VSC OFF indicator light turns on.
    3. Check for DTC. Refer to DTC CHECK / CLEAR .
      RESULT

      Result Proceed to
      DTC is not output A
      DTC is output B

    B → REPAIR CIRCUITS INDICATED BY OUTPUT 

    A: Go to next step 

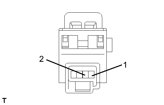
  2. INSPECT VSC OFF SWITCH 
    Fig 1: Inspecting VSC OFF Switch
    GTY121046Courtesy of © TOYOTA, LICENSE AGREEMENT TMS1002
    1. Remove the VSC OFF switch.
    2. Measure the resistance of the switch.

      Standard resistance

      Tester Connection Switch Condition Specified Condition
      1 - 2 Pushed Below 1 Ω
      1 - 2 Released 10 kΩ or higher

    NG → REPLACE VSC OFF SWITCH 

    OK: Go to next step 

  3. CHECK WIRE HARNESS (VSC OFF SWITCH - SKID CONTROL ECU AND BODY GROUND) 
    Fig 2: Checking Wire Harness (VSC OFF Switch - Skid Control ECU And Body Ground)
    GTY112975Courtesy of © TOYOTA, LICENSE AGREEMENT TMS1002
    1. Disconnect the V7 switch connector.
    2. Disconnect the S6 ECU connector.
    3. Measure the resistance of the wire harness side connectors.

      Standard resistance

      Tester Connection Specified Condition
      S6-12 (CSW) - V7-2 Below 1 Ω
      S6-12 (CSW) - Body ground 10 kΩ or higher
      V7-1 - Body ground Below 1 Ω

    NG → REPAIR OR REPLACE HARNESS AND CONNECTOR 

    OK: Go to next step 

  4. INSPECT SKID CONTROL ECU CONNECTOR CONNECTION 
    1. Check that each ECU connector is properly installed.

      OK

      Each ECU connector is properly installed.

    NG → CONNECT CONNECTOR TO ECU CORRECTLY 

    OK: Go to next step 

  5. READ VALUE USING TECHSTREAM (IG VOLTAGE) 
    1. Check the Data List for proper functioning of the IG voltage.
      ABS/VSC/TRAC

      Tester Display Measurement Item/ Range Normal Condition Diagnostic Note
      ECU IG Power Voltage ECU power supply voltage /LOW/NORMAL/HIGH LOW: Below 10 V
      NORMAL: 10 to 14 V
      HIGH: 14 V or more
      -
      RESULT

      Result Proceed to
      Display is not NORMAL A
      Display is NORMAL B

    B → REPLACE SKID CONTROL ECU 

    A: Go to next step 

  6. CHECK WIRE HARNESS (SKID CONTROL ECU - BATTERY AND BODY GROUND) 
    1. Disconnect the S5, S7 and S8 ECU connectors.
      Fig 3: Checking Wire Harness (Skid Control ECU - Battery And Body Ground)
      GTY112996Courtesy of © TOYOTA, LICENSE AGREEMENT TMS1002
    2. Turn the ignition switch ON.
    3. Measure the voltage of the wire harness side connectors.

      Standard voltage

      Tester Connection Specified Condition
      S7-6 (IG1) - S5-16 (GND4) 10 to 14 V
      S7-6 (IG1) - S5-22 (GND3) 10 to 14 V
      S7-6 (IG1) - S8-6 (GND2) 10 to 14 V
      S7-6 (IG1) - S8-31 (GND1) 10 to 14 V
      S7-6 (IG1) - Body ground 10 to 14 V
    4. Measure the resistance of the wire harness side connectors.

      Standard resistance

      Tester Connection Specified Condition
      S5-16 (GND4) - Body ground Below 1 Ω
      S5-22 (GND3) - Body ground Below 1 Ω
      S8-6 (GND2) - Body ground Below 1 Ω
      S8-31 (GND1) - Body ground Below 1 Ω

    NG → REPAIR OR REPLACE HARNESS AND CONNECTOR 

    OK: Go to next step 

  7. CHECK MULTIPLEX COMMUNICATION SYSTEM (SKID CONTROL ECU - COMBINATION METER) 
    1. Check for open and short circuits in the multiplex communication system between the skid control ECU and combination meter.

    NG → REPAIR OR REPLACE MULTIPLEX COMMUNICATION SYSTEM 

    OK: Go to next step 

  8. CHECK COMBINATION METER (VSC OFF INDICATOR LIGHT) 
    1. Check the combination meter. Refer to PROBLEM SYMPTOMS TABLE .

    NG → REPAIR OR REPLACE COMBINATION METER 

    OK → REPLACE SKID CONTROL ECU