LEMON Manuals: Even more car manuals for everyone: 1960-2025
Home >> Lexus >> 2009 >> SC 430 >> Repair and Diagnosis >> Engine Performance >> Engine Control Systems >> Engine Control System (Service Information) >> Circuit Opening Relay >> On-Vehicle Inspection >> On-Vehicle Inspection (To 10/2008)
April 5, 2026: LEMON Manuals is launched! Read the announcement.

On-Vehicle Inspection (To 10/2008)

  1. DISCONNECT CABLE FROM NEGATIVE BATTERY TERMINAL 
    WARNING:

    Wait at least 90 seconds after disconnecting the cable from the negative (-) battery terminal to prevent airbag and seat belt pretensioner activation.

  2. REMOVE CIRCUIT OPENING RELAY (Marking: C/OPN) 
    1. Remove the engine room No. 2 relay block cover.
    2. Remove the circuit opening relay from the engine room No. 2 relay block.
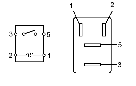
  3. INSPECT CIRCUIT OPENING RELAY 
    1. Measure the resistance of the circuit opening relay.
      Fig 1: Inspecting Circuit Opening Relay
      GTY138828Courtesy of © TOYOTA, LICENSE AGREEMENT TMS1002

      Standard resistance

      Tester Connection Specified Condition
      3 - 5 10 kΩ or higher
      3 - 5 Below 1 Ω
      (when battery voltage is applied to terminals 1 and 2)

      If the result is not as specified, replace the relay.

  4. INSTALL CIRCUIT OPENING RELAY 
  5. CONNECT CABLE TO NEGATIVE BATTERY TERMINAL 
  6. PERFORM INITIALIZATION 
    1. Perform initialization. Refer to INITIALIZATION .
      NOTE:

      Certain systems need to be initialized after disconnecting and reconnecting the cable from the negative (-) battery terminal.