LEMON Manuals: Even more car manuals for everyone: 1960-2025
Home >> Lexus >> 2009 >> SC 430 >> Repair and Diagnosis >> Engine Performance >> System >> Engine Control System (Diagnostic Codes (P0351-U0001) - Circuit Tests) >> SFI System >> EVAP System >> Procedure
April 5, 2026: LEMON Manuals is launched! Read the announcement.

EVAP System: Procedure

  1. CONFIRM DTC 
    1. Turn the ignition switch OFF and wait for 10 seconds.
    2. Turn the ignition switch ON.
    3. Turn the ignition switch OFF and wait for 10 seconds.
    4. Connect the Techstream to the DLC3.
    5. Turn the ignition switch ON.
    6. Enter the following menus: Powertrain / Engine and ECT / Trouble Codes.
    7. Confirm DTCs and freeze frame data.

      If any EVAP system DTCs are set, the malfunctioning area can be determined using the table below.

      NOTE:

      If the 0.02 inch reference pressure difference between the first and second checks is greater than the specification, the DTCs corresponding to the reference pressure (P043E, P043F, P0441, P0455, P0456, P2401 and P2420) will all be stored.

      Fig 1: DTCs & Malfunctioning Areas Table
      GTY134892Courtesy of © TOYOTA, LICENSE AGREEMENT TMS1002

    NEXT: Go to next step 

  2. PERFORM EVAPORATIVE SYSTEM CHECK (AUTOMATIC MODE) 
    NOTE:
    • In the Evaporative System Check (Automatic Mode), the series of 5 Evaporative System Check steps are performed automatically. It takes a maximum of approximately 18 minutes.
    • Do not perform the Evaporative System Check when the fuel tank is more than 90% full because the cut-off valve may be closed, making the leak check of the fuel tank not possible.
    • Do not run the engine in this step.
    • When the temperature of the fuel is 35°C (95°F) or more, a large amount of vapor forms and any check results become inaccurate. When performing the Evaporative System Check, keep the temperature below 35°C (95°F).
    1. Clear the DTCs. Refer to DTC CHECK / CLEAR .
    2. Enter the following menus: Powertrain / Engine and ECT / Utility / Evaporative System Check / Automatic Mode.
    3. After the Evaporative System Check is completed, check for pending DTCs by entering the following menus: Powertrain / Engine and ECT / Trouble Codes / Pending.

      HINT: 

      If no pending DTC is displayed, perform the Monitor Confirmation after the repair is completed. After this confirmation, check for pending DTCs. If no DTC is displayed, the EVAP system is normal.

    NEXT: Go to next step 

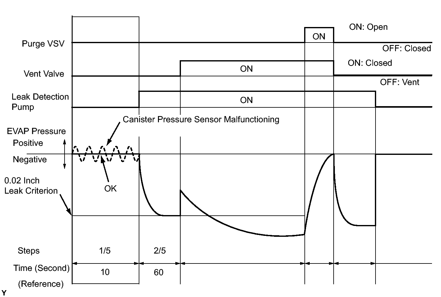
  3. PERFORM EVAPORATIVE SYSTEM CHECK (MANUAL MODE) 
    Fig 2: Performing Evaporative System Check (Manual Mode)
    GTY145413Courtesy of © TOYOTA, LICENSE AGREEMENT TMS1002
    NOTE:
    • In the Evaporative System Check (Manual Mode), the series of 5 Evaporative System Check steps are performed manually.
    • Do not perform the Evaporative System Check when the fuel tank is more than 90% full because the cut-off valve may be closed, making the leak check of the fuel tank not possible.
    • Do not run the engine in this step.
    • When the temperature of the fuel is 35°C (95°F) or more, a large amount of vapor forms and any check results become inaccurate. When performing the Evaporative System Check, keep the temperature below 35°C (95°F).
    1. Clear the DTCs. Refer to DTC CHECK / CLEAR .
    2. Enter the following menus: Powertrain / Engine and ECT / Utility / Evaporative System Check / Manual Mode.

    NEXT: Go to next step 

  4. PERFORM EVAPORATIVE SYSTEM CHECK (STEP 1/5) 
    Fig 3: EVAP Pressure Graph (Step 1)
    GTY123765Courtesy of © TOYOTA, LICENSE AGREEMENT TMS1002
    1. Check the EVAP pressure in step 1/5.

      Result

      DTC No. * Test Results Suspected Trouble Areas Proceed to
      - Virtually no variation in EVAP pressure Not yet determined A
      P0451 EVAP pressure fluctuates by +-0.3 kPa (2.25 mmHg) or more Canister pressure sensor B

      HINT: 

      *: The DTCs related to the EVAP system are displayed on the Techstream when checking.

    B → See step   29 

    A: Go to next step 

  5. PERFORM EVAPORATIVE SYSTEM CHECK (STEP 1/5 TO 2/5) 
    Fig 4: EVAP Pressure Graph (Step 1 To 2)
    GTY139712Courtesy of © TOYOTA, LICENSE AGREEMENT TMS1002
    1. Check the EVAP pressure in step 1/5 and 2/5.

      Result

      DTC No. * Test Results Suspected Trouble Areas Proceed to
      - Virtually no variation in EVAP pressure during step 1/5. Then decreases to 0.02 inch leak criterion Not yet determined A
      P2402 Small difference between EVAP pressures during steps 1/5 and 2/5 Leak detection pump stuck ON B

      HINT: 

      • *: The DTCs related to the EVAP system are displayed on the Techstream when checking.
      • The first 0.02 inch leak criterion is the value determined in step 2/5.

    B → See step   22 

    A: Go to next step 

  6. PERFORM EVAPORATIVE SYSTEM CHECK (STEP 2/5) 
    Fig 5: EVAP Pressure Graph (Step 2)
    GTY135093Courtesy of © TOYOTA, LICENSE AGREEMENT TMS1002

    HINT: 

    Make a note of the pressures checked in the steps below.

    • (a) Check the EVAP pressure 4 seconds after the leak detection pump is activated*.
      • *: The leak detection pump begins to operate as step 1/5 proceeds to step 2/5.
    • (b) Check the EVAP pressure again when it has stabilized. This pressure is the 0.02 inch leak criterion.

    Result

    DTC No. * Test Results Suspected Trouble Areas Proceed to
    - EVAP pressure in step (b) between -4.85 kPa and -1.06 kPa (-36.38 mmHg and -7.95 mmHg) Not yet determined A
    P043F and P2401 EVAP pressure in step (b) -1.06 kPa (-7.95 mmHg) or more
    • Reference orifice high-flow
    • Leak detection pump stuck OFF
    B
    P043E EVAP pressure in step (b) below -4.85 kPa (-36.38 mmHg) Reference orifice clogged C
    P2419 EVAP pressure in step (a) more than -1.06 kPa (-7.95 mmHg) Vent valve stuck closed D

    HINT: 

    *: The DTCs related to the EVAP system are displayed on the Techstream when checking.

    D → See step   19 

    C → See step   29 

    B → See step   11 

    A: Go to next step 

  7. PERFORM EVAPORATIVE SYSTEM CHECK (STEP 2/5 TO 3/5) 
    Fig 6: EVAP Pressure Graph (Step 2 To 3)
    GTY126265Courtesy of © TOYOTA, LICENSE AGREEMENT TMS1002
    1. Check the EVAP pressure in step 3/5.

      Result

      DTC No. * Test Results Suspected Trouble Areas Proceed to
      - EVAP pressure increases by 0.3 kPa (2.25 mmHg) or more within 10 seconds of proceeding from step 2/5 to step 3/5 Not yet determined A
      P2420 No variation in EVAP pressure despite proceeding from step 2/5 to step 3/5 Vent valve stuck open (vent) B
      P0451 No variation in EVAP pressure during steps 1/5 through 3/5 Canister pressure sensor C

      HINT: 

      *: The DTCs related to the EVAP system are displayed on the Techstream when checking.

    C → See step   29 

    B → See step   19 

    A: Go to next step 

  8. PERFORM EVAPORATIVE SYSTEM CHECK (STEP 3/5) 
    Fig 7: EVAP Pressure Graph (Step 3)
    GTY132073Courtesy of © TOYOTA, LICENSE AGREEMENT TMS1002
    1. Wait until the EVAP pressure change is less than 0.1 kPa (0.75 mmHg) for 30 seconds.
    2. Measure the EVAP pressure and record it.

      HINT: 

      A few minutes are required for the EVAP pressure to become saturated. When there is little fuel in the fuel tank, it takes up to 900 seconds (15 minutes).

    NEXT: Go to next step 

  9. PERFORM EVAPORATIVE SYSTEM CHECK (STEP 4/5) 
    Fig 8: EVAP Pressure Graph (Step 4)
    GTY145429Courtesy of © TOYOTA, LICENSE AGREEMENT TMS1002
    1. Check the EVAP pressure in step 4/5.

      Result

      DTC No. * Test Results Suspected Trouble Areas Proceed to
      - EVAP pressure increases by 0.3 kPa (2.25 mmHg) or more within 10 seconds of proceeding from step 3/5 to step 4/5 Not yet determined A
      P0441 EVAP pressure increases by 0.3 kPa (2.25 mmHg) or more within 10 seconds of proceeding from step 3/5 to step 4/5 Problems in EVAP hose between purge VSV and intake manifold B
      P0441 Variation in EVAP pressure less than 0.3 kPa (2.25 mmHg) for 10 seconds, after proceeding from step 3/5 to step 4/5 Purge VSV stuck closed C

      HINT: 

      *: The DTCs related to the EVAP system are displayed on the Techstream when checking.

    C → See step   12 

    B → See step   15 

    A: Go to next step 

  10. PERFORM EVAPORATIVE SYSTEM CHECK (STEP 5/5) 
    Fig 9: EVAP Pressure Graph (Step 5)
    GTY129798Courtesy of © TOYOTA, LICENSE AGREEMENT TMS1002
    1. Check the EVAP pressure in step 5/5.
    2. Compare the EVAP pressure in step 3/5 and the second 0.02 inch leak criterion (step 5/5).

      Result

      DTC No. * Test Results Suspected Trouble Areas Proceed to
      - EVAP pressure (step 3/5) lower than second 0.02 inch leak criterion (step 5/5) Not yet determined A
      P0441 and P0455 EVAP pressure (step 3/5) higher than [second 0.02 inch leak criterion (step 5/5) x 0.2]
      • Purge VSV stuck open
      • EVAP gross leak
      B
      P0456 EVAP pressure (step 3/5) higher than second 0.02 inch leak criterion (step 5/5) EVAP small leak B

      HINT: 

      *: The DTCs related to the EVAP system are displayed on the Techstream when checking.

    B → See step   12 

    A → See step   35 

  11. PERFORM EVAPORATIVE SYSTEM CHECK (STEP 3/5) 
    Fig 10: EVAP Pressure Graph (Step 3)
    GTY140259Courtesy of © TOYOTA, LICENSE AGREEMENT TMS1002
    1. Check the EVAP pressure in step 3/5.

      Result

      DTC No. * Test Results Suspected Trouble Areas Proceed to
      P043F EVAP pressure less than [0.02 inch leak criterion] measured at 2/5 Reference orifice high-flow A
      P2401 EVAP pressure almost same as [0.02 inch leak criterion] measured at 2/5 Leak detection pump stuck OFF B

      HINT: 

      • *: The DTCs related to the EVAP system are displayed on the Techstream when checking.
      • The first 0.02 inch leak criterion is the value determined in step 2/5.

    B → See step   22 

    A → See step   29 

  12. PERFORM ACTIVE TEST USING TECHSTREAM (PURGE VSV) 
    Fig 11: Disconnecting Hose From Purge VSV
    GTY145998Courtesy of © TOYOTA, LICENSE AGREEMENT TMS1002
    1. Enter the following menus: Powertrain / Engine / Active Test / Activate the VSV for EVAP Control.
    2. Disconnect the hose (connected to the canister) from the purge VSV.
    3. Start the engine.
    4. Using the tester, turn the purge VSV OFF.
    5. Use your finger to confirm that the purge VSV has no suction.
    6. Using the tester, turn the purge VSV ON.
    7. Use your finger to confirm that the purge VSV has suction.

      Result

      Test Results Suspected Trouble Areas Proceed to
      No suction when purge VSV turned OFF, and suction applied when turned ON Purge VSV normal A
      Suction applied when purge VSV turned OFF Purge VSV stuck open B
      No suction when purge VSV turned ON
      • Purge VSV stuck closed
      • Problems with purge line hose between purge VSV and intake manifold
      C

    C → See step   15 

    B → See step   14 

    A: Go to next step 

  13. CHECK FUEL TANK CAP 
    1. Check that the fuel tank cap is correctly installed and confirm the fuel cap meets OEM specification.
      1. Tighten the fuel tank cap until a few click sounds are heard.

      HINT: 

      If an EVAP tester is available, use the tester to check the fuel tank cap.

    2. Remove the fuel tank cap and install it onto the fuel tank cap adaptor.
    3. Connect an EVAP tester pump hose to the adaptor, and pressurize the cap to 3.2 to 3.7 kPa (24 to 28 mmHg) using an EVAP tester pump.
    4. Seal the adaptor and wait for 2 minutes.
    5. Check the pressure. If the pressure is 2 kPa (15 mmHg) or more, the fuel tank cap is normal.

      Result

      Test Results Suspected Trouble Areas Proceed to
      Fuel tank cap correctly installed - A
      Fuel tank cap loose
      • Fuel tank cap improperly installed
      • Defective fuel tank cap
      • Fuel tank cap does not meet OEM specifications
      B
      No fuel tank cap - C

    C → See step   27 

    B → See step   26 

    A → See step   28 

  14. INSPECT PURGE VSV 
    Fig 12: Disconnecting Purge Line Hose & V4 Purge VSV Connector
    GTY125044Courtesy of © TOYOTA, LICENSE AGREEMENT TMS1002
    1. Turn the ignition switch OFF.
    2. Disconnect the V4 purge VSV connector.
    3. Disconnect the purge line hose (connected to the canister) from the purge VSV.
    4. Start the engine.
    5. Use your finger to confirm that the purge VSV has no suction.

      Result

      Test Results Suspected Trouble Areas Proceed to
      No suction ECM A
      Suction applied Purge VSV B

    B → See step   30 

    A → See step   34 

  15. CHECK PURGE LINE HOSE (PURGE VSV - INTAKE MANIFOLD) 
    Fig 13: Disconnecting Purge Line Hose From Purge VSV
    GTY145997Courtesy of © TOYOTA, LICENSE AGREEMENT TMS1002
    1. Disconnect the purge line hose (connected to the intake manifold) from the purge VSV.
    2. Start the engine.
    3. Use your finger to confirm that the hose has suction.

      Result

      Test Results Suspected Trouble Areas Proceed to
      Suction applied Purge line hose between purge VSV and intake manifold normal A
      No suction
      • Intake manifold port
      • Purge line hose between purge VSV and intake manifold
      B

    B → See step   25 

    A: Go to next step 

  16. INSPECT PURGE VSV 
    Fig 14: Inspecting Purge VSV
    GTY122676Courtesy of © TOYOTA, LICENSE AGREEMENT TMS1002
    1. Disconnect the V4 purge VSV connector.
    2. Apply battery voltage to the terminals of the purge VSV.
    3. Using an air gun, confirm that air flows from port A to port B.

      Result

      Test Results Suspected Trouble Areas Proceed to
      Air flows Purge VSV normal A
      No air flows Purge VSV B

    B → See step   30 

    A: Go to next step 

  17. CHECK WIRE HARNESS (POWER SOURCE OF PURGE VSV) 
    Fig 15: Identifying V4 Purge VSV Connector
    GTY144635Courtesy of © TOYOTA, LICENSE AGREEMENT TMS1002
    1. Disconnect the V4 purge VSV connector.
    2. Turn the ignition switch ON.
    3. Measure the voltage of the wire harness side connector.

      Result

      Tester Connection Test Results Suspected Trouble Areas Proceed to
      V4-1 - V4-2 Between 11 V and 14 V Normal A
      V4-1 - V4-2 Other than result above Wire harness or connectors between purge VSV and ECM B

    B → See step   31 

    A: Go to next step 

  18. CHECK WIRE HARNESS (PURGE VSV - ECM) 
    Fig 16: Checking Wire Harness (Purge VSV - ECM)
    GTY141214Courtesy of © TOYOTA, LICENSE AGREEMENT TMS1002
    1. Disconnect the V4 purge VSV connector.
    2. Disconnect the E2 ECM connector.
    3. Measure the resistance of the wire harness side connectors.

      Standard resistance

      Tester Connection Specified Condition
      V4-1 - E2-11 (PRG) Below 1 Ω
      V4-1 or E2-11 (PRG) - Body ground 10 kΩ or higher

    NG → See step   31 

    OK → See step   34 

  19. PERFORM ACTIVE TEST USING TECHSTREAM (FOR VENT VALVE) 
    Fig 17: Identifying Terminal VPMP Of E5 ECM Connector
    GTY126161Courtesy of © TOYOTA, LICENSE AGREEMENT TMS1002
    1. Turn the ignition switch ON.
    2. Enter the following menus: Powertrain / Engine and ECT / Active Test / Activate the VSV for Vent Valve.
    3. Measure the voltage between terminal VPMP of the ECM connector and the body ground when the vent valve is turned ON (closed) and OFF (vent) using the tester.

      Result

      Tester Connection Test Results Suspected Trouble Areas Proceed to
      E5-12 (VPMP) - Body ground Below 3 V when OFF and ON Power source of vent valve A
      E5-12 (VPMP) - Body ground Between 11 V and 14 V when OFF
      Below 3 V when ON
      Vent valve B
      E5-12 (VPMP) - Body ground Between 11 V and 14 V when OFF and ON ECM C

    C → See step   34 

    B → See step   21 

    A: Go to next step 

  20. INSPECT CANISTER PUMP MODULE (POWER SOURCE FOR VENT VALVE) 
    Fig 18: Identifying C12 Canister Pump Module Connector Terminals
    GTY145572Courtesy of © TOYOTA, LICENSE AGREEMENT TMS1002
    1. Turn the ignition switch OFF.
    2. Disconnect the C12 canister pump module connector.
    3. Turn the ignition switch ON.
    4. Measure the voltage of the wire harness side connector.

      Result

      Tester Connection Test Results Suspected Trouble Areas Proceed to
      C12-9 (+B) - Body ground 11 V to 14 V Normal A
      C12-9 (+B) - Body ground 0 V to 3 V Power source wire harness of vent valve B

    B → See step   31 

    A: Go to next step 

  21. INSPECT CANISTER PUMP MODULE (VENT VALVE OPERATION) 
    Fig 19: Applying Battery Voltage To Terminals 9 And 8 Of Canister Pump Module
    GTY145214Courtesy of © TOYOTA, LICENSE AGREEMENT TMS1002
    1. Turn the ignition switch OFF.
    2. Disconnect the C12 canister pump module connector.
    3. Apply the battery voltage to terminals 9 and 8 of the canister pump module.
    4. Touch the canister pump module to confirm the vent valve operation.

      Result

      Test Results Suspected Trouble Areas Proceed to
      Operating Wire harness between vent valve and ECM A
      Not operating Vent valve B

    B → See step   29 

    A → See step   31 

  22. PERFORM ACTIVE TEST USING TECHSTREAM (FOR CANISTER PUMP MODULE [LEAK DETECTION PUMP]) 
    Fig 20: Identifying MPMP Terminal Of E5 ECM Connector
    GTY144876Courtesy of © TOYOTA, LICENSE AGREEMENT TMS1002
    1. Enter the following menus: Powertrain / Engine and ECT / Active Test / Activate the Vacuum Pump.
    2. Measure the voltage between MPMP terminal of the ECM connector and the body ground when the leak detection pump is turned ON and OFF using the tester.

      Result

      Tester Connection Test Results Suspected Trouble Areas Proceed to
      E5-5 (MPMP) - Body ground 0 V to 3 V when OFF
      11 V to 14 V when ON
      ECM normal A
      E5-5 (MPMP) - Body ground 11 V to 14 V when OFF
      0 V to 3 V when ON
      ECM B

    B → See step   34 

    A: Go to next step 

  23. CHECK WIRE HARNESS (CANISTER PUMP MODULE - ECM) 
    Fig 21: Identifying C12 Canister Pump Module Connector Terminals
    GTY139387Courtesy of © TOYOTA, LICENSE AGREEMENT TMS1002
    1. Turn the ignition switch OFF.
    2. Disconnect the C12 canister pump module connector.
    3. Turn the ignition switch ON.
    4. Enter the following menus: Powertrain / Engine and ECT / Active Test / Activate the Vacuum Pump.
    5. Turn the leak detection pump ON.
    6. Measure the voltage of the wire harness side connector.

      Result

      Tester Connection Test Results Suspected Trouble Areas Proceed to
      C12-1 (+B) - Body ground 11 V to 14 V Normal A
      C12-1 (+B) - Body ground 0 V to 3 V Wire harness between ECM and leak detection pump B

    B → See step   31 

    A: Go to next step 

  24. CHECK WIRE HARNESS (CANISTER PUMP MODULE - GROUND) 
    Fig 22: Identifying C12 Canister Pump Module Connector Terminals
    GTY145055Courtesy of © TOYOTA, LICENSE AGREEMENT TMS1002
    1. Disconnect the C12 canister pump module canister connector.
    2. Turn the ignition switch OFF.
    3. Measure the resistance of the wire harness side connectors between terminal 6 of the C12 connector and the body ground.

      Result

      Tester Connection Test Results Suspected Trouble Areas Proceed to
      C12-6 (GND) - Body ground Below 1 Ω Leak detection pump A
      C12-6 (GND) - Body ground 10 kΩ or higher Wire harness between leak detection pump and body ground B

    B → See step   31 

    A → See step   29 

  25. INSPECT INTAKE MANIFOLD (EVAP PURGE PORT) 
    1. Turn the ignition switch OFF.
    2. Disconnect the purge line hose from the intake manifold.
    3. Turn the ignition switch ON.
    4. Use your finger to confirm that the port of the intake manifold has suction.

      Result

      Test Results Suspected Trouble Areas Proceed to
      Suction applied purge line hose between intake manifold and purge VSV A
      No suction Intake manifold B

    B → See step   33 

    A → See step   32 

  26. CORRECTLY REINSTALL OR REPLACE FUEL TANK CAP 

    HINT: 

    • When reinstalling the fuel tank cap, tighten it until a few click sounds are heard.
    • When replacing the fuel tank cap, use a fuel cap that meets OEM specifications, and tighten it until a few click sounds are heard.

    NEXT → See step   36 

  27. REPLACE FUEL TANK CAP 

    HINT: 

    When installing the fuel tank cap, tighten it until a few click sounds are heard.

    NEXT → See step   36 

  28. LOCATE EVAP LEAK 
    1. Disconnect the vent hose.
      Fig 23: Disconnecting Vent Hose
      GTY138554Courtesy of © TOYOTA, LICENSE AGREEMENT TMS1002
    2. Install the EVAP pressure tester tool to the vent hose with the adapter.
      Fig 24: Installing EVAP Pressure Tester Tool To Vent Hose With Adapter
      GTY146233Courtesy of © TOYOTA, LICENSE AGREEMENT TMS1002
    3. Pressurize the EVAP system to 3.2 to 3.7 kPa (24 to 28 mmHg).
    4. Apply soapy water to the piping and connecting parts of the EVAP system.
    5. Look for areas where bubbles appear. This indicates leak point.
    6. Repair or replace the leak point.

      HINT: 

      Disconnect the hose between the canister and the fuel tank from the canister. Block the canister side and conduct an inspection. In this way, the fuel tank can be excluded as an area suspected of causing fuel leaks.

    NEXT → See step   36 

  29. REPLACE CANISTER ASSEMBLY 
    1. Replace the canister assembly. Refer to REMOVAL .
      NOTE:

      When replacing the canister, check the canister pump module interior and related pipes for water, fuel or other liquids. If liquids are present, check for disconnections and/or cracks in the following: 1) the pipe from the air inlet port to the canister pump module; 2) the canister filter; and 3) the fuel tank vent hose.

      Fig 25: Identifying Inspection Areas For Canister Assembly Replacement
      GTY146167Courtesy of © TOYOTA, LICENSE AGREEMENT TMS1002

    NEXT → See step   36 

  30. REPLACE PURGE VSV 
    1. Disconnect the connector and hoses from the purge VSV.
    2. Remove the purge VSV.
    3. Install a new purge VSV.
      Fig 26: Identifying Purge VSV
      GTY145999Courtesy of © TOYOTA, LICENSE AGREEMENT TMS1002
    4. Reconnect the connector and hose.

    NEXT → See step   36 

  31. REPAIR OR REPLACE HARNESS AND CONNECTOR 

    NEXT → See step   36 

  32. REPLACE PURGE LINE HOSE (INTAKE MANIFOLD - PURGE VSV) 

    NEXT → See step   36 

  33. INSPECT INTAKE MANIFOLD (EVAP PURGE PORT) 
    1. Check that the EVAP purge port of the intake manifold is not clogged. If necessary, replace the intake manifold.

    NEXT → See step   36 

  34. REPLACE ECM 
    1. Replace the ECM.

    NEXT → See step   36 

  35. REPAIR OR REPLACE PARTS AND COMPONENTS INDICATED BY OUTPUT DTCS 
    1. Repair the malfunctioning areas indicated by the DTCs that had been confirmed when the vehicle was brought in.

    NEXT → See step   36 

  36. PERFORM EVAPORATIVE SYSTEM CHECK (AUTOMATIC MODE) 
    NOTE:
    • In the Evaporative System Check (Automatic Mode), the series of 5 Evaporative System Check steps are performed automatically. It takes a maximum of approximately 18 minutes.
    • Do not perform the Evaporative System Check when the fuel tank is more than 90% full because the cut-off valve may be closed, making the leak check of the fuel tank not possible.
    • Do not run the engine in this step.
    • When the temperature of the fuel is 35°C (95°F) or more, a large amount of vapor forms and any check results become inaccurate. When performing an Evaporative System Check, keep the temperature below 35°C (95°F).
    1. Clear the DTCs. Refer to DTC CHECK / CLEAR .
    2. Enter the following menus: Powertrain / Engine and ECT / Utility / Evaporative System Check / Automatic Mode.
    3. After the Evaporative System Check is completed, check for pending DTCs by entering the following menus: Powertrain / Engine and ECT / Trouble Codes / Pending.

      HINT: 

      If no pending DTC is found, the repair has been successfully completed.

    NEXT → COMPLETED