LEMON Manuals: Even more car manuals for everyone: 1960-2025
Home >> Lexus >> 2010 >> ES 350 >> Repair and Diagnosis >> External Pages >> Different car >> Section 80 (Lighting) >> Height Control Sensor >> Inspection
April 5, 2026: LEMON Manuals is launched! Read the announcement.

Height Control Sensor: Inspection

WARNING: This page is about a different car, the 2007 Lexus ES 350. However, it is still accessible from the selected car via links, so may be relevant.
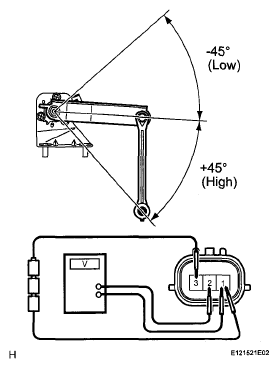
  1. INSPECT REAR HEIGHT CONTROL SENSOR SUB-ASSEMBLY 
    1. Connect 3 dry cell batteries (1.5 V) in series.
    2. Connect positive (+) lead from the batteries to terminal 3, and the negative (-) lead from the batteries to terminal 1.
    3. Measure the voltage between terminals 2 and 1 while slowly moving the link up and down.

      Standard voltage 

      TESTER CONNECTION SPECIFIED CONDITION

      Tester Connection Condition Specified Condition
      2 (SHRL) - 1 (SHG) +45° (High) Approx. 4.05 V
      0° (normal) Approx. 2.25 V
      -45° (Low) Approx. 0.45 V

      If the result is not as specified, replace the rear height control sensor sub-assembly.

      Fig 1: Inspecting Rear Height Control Sensor Sub-Assembly
      G05252542Courtesy of © TOYOTA, LICENSE AGREEMENT TMS1002