LEMON Manuals: Even more car manuals for everyone: 1960-2025
Home >> Lexus >> 2010 >> ES 350 >> Repair and Diagnosis >> External Pages >> Different car >> Section 80 (Lighting) >> Lighting System >> System Description
April 5, 2026: LEMON Manuals is launched! Read the announcement.

System Description

WARNING: This page is about a different car, the 2007 Lexus ES 350. However, it is still accessible from the selected car via links, so may be relevant.
  1. EXTERIOR LIGHT CONTROL SYSTEM 

    The exterior light control system has the following functions.

    • Automatic Light Control
    • Manual Light Control
    • High Beam Control
    • Passing Light Control
    • Front Fog Light Control
    • Daytime Running Light Control
    • Light Auto Turn off Control
    1. Automatic Light Control
      Fig 1: Exterior Light Control System (Automatic Light Control) - Block Diagram
      G05252281Courtesy of © TOYOTA, LICENSE AGREEMENT TMS1002
      1. General

        When the light control switch is in the AUTO position, the automatic light control sensor detects ambient light levels and outputs it to the main body ECU. The main body ECU controls the low beam headlights and taillights (parking lights, taillights and license plate lights) according to the signal. By this function, at night, when entering a tunnel etc., the taillights and low beam headlights come on automatically. If the timing of turning the lights ON/OFF does not meet the user's preferences, the sensitivity of the automatic light control system can be changed using the intelligent tester.

        HINT:

        The main body ECU controls the low beam headlights and taillights concurrently, and turns the taillights and low beam headlights on or off at the same time according to the ambient light levels.

      2. Fail-Safe

        If the main body ECU detects a malfunction in the automatic light control sensor, the main body ECU effects fail-safe control to prohibit the automatic light control. If the headlights or taillights are on, the lights will remain on until the light control switch is turned off.

    2. Manual Light Control
      1. General

        The function is similar to the automatic light control, except the function is controlled according to the driver's inputs.

      2. When the light control switch is turned to the TAIL position, the main body ECU turns the taillights on. When the light control switch is turned to the HEAD position, the main body ECU turns the low beam headlights and taillights on.
    3. High Beam Control
      1. General

        High beam control functions to illuminate farther ahead than normal.

      2. When either of the following conditions is met, the high beam headlights come on.
        • Dimmer switch in HIGH position and light control switch in HEAD position.
        • Dimmer switch in HIGH position, light control switch in AUTO position, and low beam headlights are on.
    4. Passing Light Control
      1. General

        Passing light control functions to illuminate the high beam headlights in order to allow an oncoming vehicle to become aware of the vehicle's presence while driving with poor visibility.

      2. When the dimmer switch is turned to the HIGH FLASH position, the high beam headlights come on.
    5. Front Fog Light Control
      1. General

        The front fog light control functions to maintain visibility in the road ahead of the vehicle while driving with poor visibility, such as when driving in a dense fog.

      2. When all of the following conditions are met, the front fog lights come on.
        • Low beam headlights are ON.
        • Front fog light switch is ON.
        • High beam headlights are OFF.
      3. When any of the following conditions is met, the front fog lights turn off.
        • Front fog light switch is OFF.
        • Low beam headlights are OFF.
        • High beam headlights are ON.
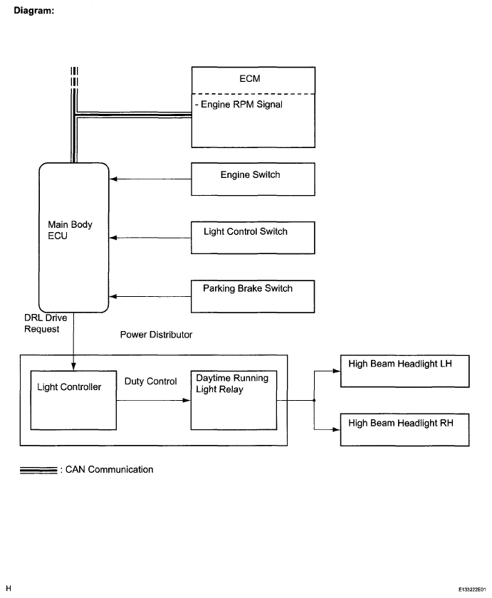
    6. Daytime Running Light Control
      Fig 2: Daytime Running Light Control - Block Diagram
      G05252282Courtesy of © TOYOTA, LICENSE AGREEMENT TMS1002
      1. This function is designed to automatically illuminate the headlights (dimmed HI beams), during the daytime to make the car more visible to other vehicles.
        • The main body ECU and power distributor control this system. The main body ECU transmits a turn ON signal to the power distributor and the power distributor illuminates the HI beams using a duty control.
        • This system is enabled when the conditions given below are met:
          • Engine switch is on (IG).
          • Engine is running.
          • Light control switch is in OFF, TAIL or AUTO position (if headlight-on control is not being performed by the automatic light control).
          • Parking brake switch is OFF.
    7. Auto Turn off Control
      Fig 3: Auto Turn Off Control - Block Diagram
      G05252283Courtesy of © TOYOTA, LICENSE AGREEMENT TMS1002
      1. General
        • The light auto turn-off system is used to prevent the driver from leaving the vehicle with the exterior lights (headlights, fog lights, parking lights, taillights, or license plate lights) ON.
        • If the engine switch is turned off and any door is opened and all doors (including the luggage compartment door) are closed with exterior lights are ON (low beam headlights are ON), this system turns them OFF approximately 30 seconds after door closure. However, with all the doors locked when the lock button on the wireless remote control is pushed, the exterior lights are turned OFF immediately.
        • When the engine switch is turned off and the driver side door is opened with the exterior lights ON (low beam headlights are OFF), this system turns them OFF immediately.
  2. POWER DISTRIBUTOR 
    1. General
      • The power distributor is built into the engine room relay block, and uses a small mechanical relay and semiconductor relay for a compact and lightweight design.
      • The power distributor has a headlight control function. This function dims the high beam headlights in accordance with operation signals from the main body ECU while the daytime running light system is operating.
      • The power distributor dims the high beam headlights using a duty control.
      • When a short circuit occurs between the power distributor and high beam headlight bulb, a fail-safe function operates to stop the DRL relay operation.
        Fig 4: Identifying Engine Room Relay Block And Power Distributor
        G05013787Courtesy of © TOYOTA, LICENSE AGREEMENT TMS1002
    2. The components of the power distributor are shown below.
      POWER DISTRIBUTOR COMPONENT

      Component Relay
      Mechanical Relay
      • Horn Relay
      • A/F Relay
      • Security Horn Relay
      • EFI Relay
      • Circuit Opening Relay
      • Headlight Relay RH ((1))
      • Headlight Relay LH ((1))
      Semiconductor Relay
      • Daytime Running Light Relay
      • Headlight Relay RH ((2))
      • Headlight Relay LH ((2))
      (1) for halogen headlight
      (2) for HID headlight
  3. HID HEADLIGHT SYSTEM 
    1. General

      The HID (High Intensity Discharge) headlight system uses a discharge bulb as its light source for the Lo beam. Discharge bulbs are superior to halogen bulbs.

      • Discharge bulbs have the following features.
        • The light emitted by the bulb is close in color to sunlight. The light shines ahead over a broader area and further forward, increasing the area visible to the driver.
        • Less power is consumed.
      • This system consists of discharge bulbs and light control ECUs.
      • The light control ECUs transform the voltage that is input from the battery to a high voltage of up to 20,000 V and applies it to the discharge bulbs in order to illuminate them.
      • A fail-safe function is provided as a countermeasure against the high voltage that is generated in case that a problem occurs in the headlight system.
  4. ILLUMINATED ENTRY SYSTEM 
    1. General
      • The illuminated entry system controls 6 kinds of lights: seat illumination (front and rear), interior light, rear door courtesy lights, engine switch illumination, footwell illumination and door mirror foot lights.
      • The illuminated entry system controls the interior light when the personal light switch is OFF and the DOOR switch is ON.
      • The illuminated entry system controls the seat illumination when the seat illumination switch is OFF and the DOOR switch is ON.
    2. Interior Light Control
      • The interior light control (interior light, seat illumination, rear door courtesy lights, and engine switch illumination) consists primarily of the fade-in/fade-out function and timer illumination function.
      • This function provides convenience when getting in or out of the vehicle at night.
      • This function is controlled by the main body ECU. The operation and condition of this control are described below.
        OPERATION CONDITION

        Operation Condition
        Fade in When any of the following conditions is met, the interior light, front seat illumination, rear seat illumination, rear door courtesy lights, and engine switch illumination fade in.
        • The key enters any actuation area around the doors when the engine switch is off and all doors are closed.
        • Any door is opened.
        • Any door is unlocked when the engine switch is off and all doors are closed.
        • The engine switch is turned from on (ACC) to off when all doors are closed.
        Fade out immediately When either of the following conditions is met, the interior light, front seat illumination, rear seat illumination, rear door courtesy lights, and engine switch illumination fade out.
        • The engine switch is turned from off to on (ACC or IG) when all doors are closed.
        • All doors are locked when the engine switch is off.
        Illuminate for approximately 15 seconds, and then fade out All doors are closed when the engine switch is off.
    3. Footwell Illumination Control
      • The footwell illumination control consists primarily of the fade-in/fade-out function, timer illumination function, and dimmer function.
      • This function provides convenience when getting in or out of the vehicle as well as creates a comfortable mood in the cabin at night.
      • This function is controlled by the main body ECU. The operation and condition of this control are described below.
        OPERATION CONDITION

        Operation Condition
        Fade in When any of the following conditions is met, the footwell illumination fades in.
        • Any door is opened.
        • Any door is unlocked when the engine switch is off and all doors are closed.
        • The engine switch is turned from off to on (IG) when all doors are closed.
        Fade out immediately When either of the following conditions is met, the footwell illumination fades out immediately.
        • All doors are closed when the engine switch is off and all doors are locked.
        • All doors are locked when the engine switch is off.
        Illuminate for approximately 15 seconds, and then fade out When either of the following conditions is met, the footwell illumination illuminates for approximately 15 seconds and then fade out.
        • The engine switch is turned from on (IG) to off when all door are closed.
        • All doors are closed when the engine switch is off.
        Dim When either of the following conditions is met, the footwell illumination dims.
        • The shift lever is adjusted to any position other than P when the footwell light is on, the engine switch is on (IG), and the shift lever is in the P position.
        • The engine switch is turned from off to on (IG) when the shift lever is in any position other than P.
    4. Door Mirror Foot Light Control
      • The foot light control consists primarily of the fade-in/fade-out function and timer illumination function.
      • This control is controlled by the mirror ECU. The operation and condition of this control are described below.
        OPERATION CONDITION

        Operation Condition
        Fade in (During 15 seconds) When any of the following conditions is met, the door mirror foot light fades in.
        • The key enters any actuation area around the doors.
        • The driver or front passenger side door is opened when the footwell illumination is on.
        • Any door is unlocked when the shift lever is in the P position.
        Fade out When either of the following conditions is met, the door mirror foot light fades out.
        • The shift lever is put into any position other than P when the engine switch is on (IG) and the footwell illumination is on.
        • All doors are locked when the footwell illumination is on.
    5. Battery Saving Control
      1. General

        If the vehicle is left with the doors open for a long time, this function will operate to automatically turn off the lights illuminated by the illuminated entry function (interior light control and footwell illumination control).

      2. Battery saving control is controlled by the main body ECU. When the following two conditions have been met, the main body ECU turns off the lights.
        • The key is not in the actuation area.
        • There is no change in the condition of the doors for 20 minutes.

        HINT:

        If the key is in the actuation area or any of the doors is opened, the count of the battery save times will be cleared.

  5. AUTOMATIC HEADLIGHT BEAM LEVEL CONTROL SYSTEM 
    1. General
      • When the headlights are on, the automatic headlight beam level control system operates the headlight leveling motor in accordance with movement of the vehicle.
      • The automatic headlight beam level control system mainly consists of the AFS ECU, rear height control sensor, and two headlight leveling motors. The AFS ECU controls the system.
      • The AFS ECU calculates changes in the vehicle posture based on signals from the rear RH height control sensor and each ECU.
      • The ECU then controls the headlight leveling motor based on this information, in order to change the headlight reflector angle.
        Fig 5: Identifying Automatic Headlight Beam Level Control
        G05252285Courtesy of © TOYOTA, LICENSE AGREEMENT TMS1002
    2. Function of Main Components
      MAIN COMPONENTS FUNCTION

      Component Outline
      AFS ECU
      • Calculates changes in the vehicle posture based on the signals from the height control sensor and each ECU.
      • Outputs a control signal to the headlight leveling motor, based on the detected value.
      • Provides initial set control, fail-safe function, and diagnosis function.
      Headlight Leveling Motor
      • Based on the signals received from the AFS ECU, the motors move the reflectors in the headlights to vary the Lo beam.
      • Uses a step motor to precisely regulate the angle of the reflectors.
      Rear RH Height Control Sensor Detects the height of the rear of the vehicle.
      Skid Control ECU Transmits a speed sensor signal (Front LH and RH) to the AFS ECU.
      ECM Transmits an engine running status signal to the AFS ECU.
      Main Body ECU Transmits a headlight status signal.
      Combination Meter (Meter ECU) AFS OFF Indicator Light When the system malfunctions, the meter ECU alerts the driver by flashing the AFS OFF indicator light in accordance with the signal from the AFS ECU.
    3. Initial Set Control

      When the engine is started, the AFS ECU drives the headlight leveling motor and moves the headlight reflector to the lower limit position and returns it to the proper position. The AFS ECU thus assesses the position of the headlight for reference control.

    4. Fail-Safe

      If the AFS ECU detects a malfunction in the automatic headlight beam level control system, the AFS ECU effects fail-safe control. At the same time, the meter ECU flashes the AFS OFF indicator light in order to inform the driver of the problem.

      NOTE: Initialize the AFS ECU after the vehicle height changes due to replacement of the suspension, or after performing such operation as removal and reinstallation or replacement of the rear height control sensor sub-assembly or AFS ECU.
      Fig 6: Identifying AFS OFF Indicator Light
      G05252286Courtesy of © TOYOTA, LICENSE AGREEMENT TMS1002
  6. INTELLIGENT AFS (Adaptive Front-lighting System) 
    1. General
      • An intelligent AFS (Adaptive Front-lighting System) is used in order to ensure a wide Lo beam lighting area and realize excellent visibility during turns by moving the Lo beam.
      • The intelligent AFS uses medium-to-high speed control and low speed control. In the medium-to-high speed control, the system calculates the target lighting angle based on the steering angle and vehicle speed and changes the swivel angle of the low-beam headlights individually. During the low speed control, the system calculates the target lighting angle based on the steering angle and changes the swivel angle of the low-beam headlight on the side facing into the turn.
        Fig 7: Identifying Adaptive Front-Lighting System
        G05252287Courtesy of © TOYOTA, LICENSE AGREEMENT TMS1002
    2. Function of Main Components
      MAIN COMPONENTS FUNCTION

      Component Outline
      AFS ECU Receives various signals, calculates the target lighting angle, and actuates the headlight swivel actuator.
      Headlight Swivel Motor
      • Driven by the AFS ECU, the motor moves the Lo beam left or right to the angle calculated by the AFS ECU.
      • A step motor is used for the headlight swivel motor. The AFS ECU determines the Lo beam angle based on the number of steps (position) of the step motor.
      Steering Angle Sensor Detects the steering angle and direction and outputs this signal to the AFS ECU.
      AFS OFF Switch Pressing this switch disables the operation of the intelligent AFS.
      Skid Control ECU Transmits a speed sensor signal (Front LH and RH) to the AFS ECU.
      ECM
      • Transmits an engine running status signal to the AFS ECU.
      • Transmits a shift position signal to the AFS ECU. The AFS ECU determines whether the vehicle is moving forward or backward based on this signal.
      Main Body ECU Transmits a headlight status signal.
      Combination Meter (Meter ECU) AFS OFF Indicator Light When the system malfunctions, the meter ECU flashes the AFS OFF indicator light based on the signal from the AFS ECU to alert the driver.
    3. Low Speed Control
      • The AFS ECU performs the low speed control when all the following conditions are fulfilled.
        • Engine is running.
        • Vehicle is moving forward at a speed of 10 km/h (6 mph) or more.
        • Steering angle is 6° or more.
        • Low beam headlights are ON.
        • Daytime running light function is not operating.
        • AFS OFF switch is OFF.

      Swivel Angle Range: 

      SWIVEL ANGLE RANGE

      Driving Condition Low Beam
      Left Right
      Right Turn 0° Fixed 0° to 10° to Right
      Left Turn 0° to 15° to Left 0° Fixed
    4. Medium-to-High Speed Control
      • The AFS ECU performs the medium-to-high speed control when all the following conditions are fulfilled.
        • Engine is running.
        • Vehicle is moving forward at a speed of 30 km/h (19 mph) or more.
        • Steering angle is 7.5° or more.
        • Low beam headlights are ON.
        • Daytime running light function is not operating.
        • AFS OFF switch is OFF.

      Swivel Angle Range: 

      SWIVEL ANGLE RANGE

      Driving Condition Low Beam
      Left Right
      Right Turn 0° to 5° to Right 0° to 10° to Right
      Left Turn 0° to 15° to Left 0° to 7.5° to Left
    5. Initial Set Control

      When the engine is started, the AFS ECU drives the headlight swivel motor and moves the projector headlight to the operation limit in the direction toward the vehicle center and returns it to the proper position. The AFS ECU thus assesses the position of the headlight for reference control.

    6. Fail-Safe

      If the AFS ECU detects a malfunction in the intelligent AFS, the AFS ECU effects fail-safe control. At the same time, the meter ECU flashes the AFS OFF indicator light in order to inform the driver of the problem.